某高校11层钢筋混凝土学生宿舍建筑结构设计毕业论文
2020-02-18 10:00:44
摘 要
本设计是针对题目为某高校11层钢筋混凝土学生宿舍的建筑结构设计,结构型式为钢筋混凝土框架结构。其中建筑总面积约为3600平方米、建筑的层数为11层。完成整体的建筑结构设计需要在设计过程中查阅大量的相关书籍以及资料荷载规范,最终借助CAD绘图软件。设计的主要内容包含结构选型,并初步确定截面尺寸;完成计算简图,主要是为了简化计算模型和受力模型;荷载统计,主要包括竖向荷载、风荷载和地震作用的统计;内力计算,运用PKPM软件分别求解竖向和横向荷载下的结构内力;内力组合,主要完成承载力极限状态的设计和正常使用极限状态的设计;截面设计,主要是完成梁、柱的最终截面尺寸和配筋情况等;设计楼梯、楼面板、基础并配筋;在满足规范的条件下绘制结构施工图。
关键词:内力组合;截面设计;抗震验算;配筋
Abstract
This design is aimed at the building structure design of the 11-storey reinforced concrete student dormitory in a university, the structure type is reinforced concrete frame structure. The total building area is about 3600 square meters and the number of floors is 11. To complete the overall architectural structure design, it is necessary to consult a large number of relevant books and data in the design process, and finally use CAD drawing software. The main contents of the design include structure selection and preliminary determination of section size; To complete the schematic diagram, mainly in order to simplify the calculation model and force model; Load statistics, including vertical load, wind load and earthquake statistics; Internal force calculation, using PKPM software respectively to solve the vertical and lateral load of the structure internal force; The internal force combination mainly completes the design of bearing capacity limit state and the design of normal use limit state; Section design, mainly to complete the beam, column final section size and reinforcement, etc. Design stair, floor panel, foundation and reinforcement; Draw the construction drawing under the condition that meets the specification.
Key words: internal force combination; Section design; Seismic check calculation; reinforcement
目录
第1章 绪论 1
第2章 工程概况和荷载统计 2
2.1工程概况 2
2.1.1 设计题目 2
2.1.2 建筑规模 2
2.1.3 建筑技术条件 2
2.2 确定计算简图 3
2.3 梁、柱截面尺寸 4
2.4 材料强度等级 5
2.5 荷载计算 5
2.5.1 恒荷载标准值的计算 5
2.5.2 活荷载标准值的计算 7
2.5.3 竖向荷载下框架受荷 8
2.5.4 风荷载计算 11
2.5.5 地震作用 12
第3章 框架内力计算 18
3.1 恒载作用 20
3.2 活载作用 24
3.3 重力荷载作用 28
3.4 风载作用 32
3.5 地震作用 34
第4章 框架内力组合 36
4.1 弯矩调幅 36
4.2 内力组合 40
第5章 结构设计 59
5.1 框架梁柱截面设计 59
5.1.1 框架梁截面设计 59
5.1.2 框架柱截面设计 72
5.2 楼梯结构设计 84
5.2.1 梯段板计算 85
5.2.2 梯段梁计算 86
5.2.3 休息平台板计算 87
5.3 现浇楼面板设计 88
5.3.1 A区格 89
5.3.2 B区格 90
5.3.3 C区格 91
5.4 基础设计 93
5.4.1 荷载计算 93
5.4.2 确定基础尺寸 94
5.4.3 梁板部分计算 95
5.4.4 肋梁部分计算 97
5.4.5 按持力层强度验算基底尺寸 97
5.4.6 按软弱下卧层强度验算基底尺寸 97
5.4.7 抗震验算 98
5.4.8 地基变形验算 99
5.4.9 冲切验算 100
参考文献 102
致 谢 103
第1章 绪论
毕业设计是我们在完成四年的大学学习之后,必须完成的最后一个实践性环节,是我们把理论联系实际的重要环节,也是我们接触相关行业的第一步。通过深入了解相关规范、熟悉使用相关软件、完成毕业设计任务,培养了我们的设计和计算能力,检验了我们的学习效果。通过毕业设计,我们可以对房屋建筑工程设计内容和过程有比较全面的了解,可以熟悉有关设计、施工方面的规范和手册,有助于我们提高自己的工程制图能力、理论分析能力和计算机应用的能力;夯实巩固我们所学基础理论和专业知识,培养了我们解决简单房屋建筑工程的建筑结构设计方面的能力;系统全面的对建筑结构的基本概念、一般构造要求进行梳理,熟悉建筑结构设计的特点及主要设计要素;使我们达到专业人才培养的要求。
并且,在毕业设计的过程中,在对建筑物的结构进行处理的同时,可以解决一些理论教学中所遇到的难点问题,加深理解。与此同时,在毕业设计的过程中还要求我们了解国内外发展的现状和趋势,有助于我们学习更多的经验,以提高自身的知识水平。可以说,毕业设计的过程是我们一次将理论运用到实际中的重要过程,对于提高我们综合运用理论知识解决现实问题的能力有很大帮助,为我们今后的发展铺平了道路。
目前钢筋混凝土结构已经成为我国使用最多的一种结构形式,并且帮助我们解决了许多钢结构不能解决的技术问题,所以混凝土的发展显得十分重要。当前发展的主要方向是研究具备高强、高流动性、轻质和具备特意性能的材料,研发更先进的计算理论和结构施工方面的技术。
第2章 工程概况和荷载统计
2.1工程概况
2.1.1 设计题目
该建筑位于上海市杨浦区,为某高校11层钢筋混凝土学生宿舍建筑结构设计。
2.1.2 建筑规模
表2.1 建筑规模
总建筑面积 | 层数 | 层高 |
3400m2 (±5%) | 11 | 3.0m |
2.1.3 建筑技术条件
(1)基本雪压:
=0.3 kN/m2
(2)基本风压;
=0.3kN/m2
(3)土层分布:砂质粘土
=250 kN/m2
砾石层
=400 kN/m2
如图2.1所示。
(4)抗震设防烈度:7度,抗震等级为二级,Ⅰ类建筑场地。

图2.1 土层分布
2.2 确定计算简图
初步确定该工程采用柱下条形基础。柱子的高度底层为:
=3.0 0.5=3.5m。二至十一层柱高为:
-
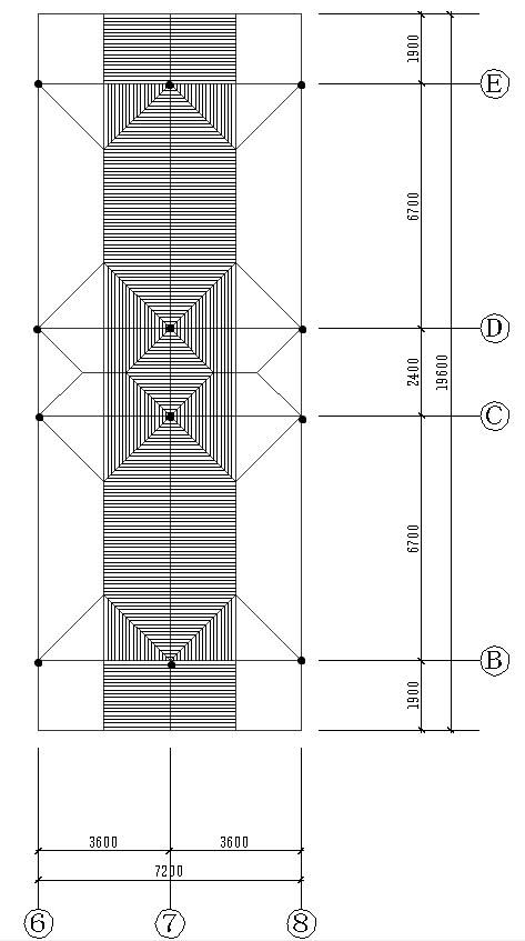
=3.0m。柱的节点采用刚接方式,横梁的计算跨度取两柱中心线的距离,三跨的计算跨度分别为:l=6700mm,2400mm,6700mm,悬挑梁长度分别为1900mm、2300mm。平面布置图如图2.2所示。

图2.2 平面布置图
选取第⑦榀框架,计算简图如图2.3所示。

图2.3 结构计算简图
2.3 梁、柱截面尺寸
(1)框架柱:在初步估算柱截面面积时,应满足下式:
(2.1)
式中
;
C—中柱扩大系数取1.1,边柱1.2;
μ—0.75(二级抗震等级)。
,S为该柱承担的楼面荷载面积;n为所计算柱以上的楼层数。
底层:边柱:
中柱:
1~3层柱取800mm×800mm。
四层:边柱:
中柱:
4~11层边柱取600mm×600mm,中柱取550mm×550mm。
- 梁:横向框架梁BC、DE跨:250mm×700mm,CD跨:250mm×400mm,悬挑梁:250mm×500mm。纵向框架梁:250mm×400mm。
- 板厚:连续双向板厚
,取120mm。
2.4 材料强度等级
混凝土均采用C30级;受力钢筋采用HRB400钢筋;箍筋采用HPB300钢筋。
2.5 荷载计算
2.5.1 恒荷载标准值的计算
(1)屋面
防水层(刚性)30厚C20细石混凝土防水 1.0kN/m2
防水层(柔性):三毡四油铺小石子 0.4kN/m2
结构层:120厚现浇钢筋混凝土板 0.12m×2kN/m3=3.0kN/m2
抹灰层:10厚混合砂浆 0.01m×17kN/m3=0.17kN/m2
找平层:15厚水泥砂浆 0.015m×20kN/m3=0.30kN/m2
找平层:15厚水泥砂浆 0.015m×20kN/m3=0.30kN/m2
保温层:80厚矿渣水泥 0.08m×14.5kN/m3=1.16kN/m2
找坡层:40厚水泥石灰焦渣砂浆3‰找平 0.04m×14kN/m3=0.56kN/m2
合计: 6.89kN/m2
(2)楼面
大理石面层,水泥砂浆擦缝
30厚1:3干硬性水泥砂浆,面上撒2厚素水泥 1.16kN/m2
水泥浆混合层一道
结构层:120厚现浇钢筋混凝土板 0.12m×25kN/m3=3.0kN/m2
抹灰层:10厚混合砂浆 0.01m×17kN/m3=0.17kN/m2
合计: 4.33kN/m2
(3)梁自重
b×h=250mm×700mm
梁自重 25kN/m3×0.25m×(0.7m-0.12m)=3.63kN/m
抹灰层:10厚混合砂浆 0.01m×17kN/m3×[(0.7m-0.12m)×2 0.25m]=0.24kN/m
合计: 3.87kN/m
b×h=250mm×400mm
梁自重 25kN/m3×0.25m×(0.4m-0.12m)=1.75kN/m
抹灰层:10厚混合砂浆 0.01m×17kN/m3×[(0.4m-0.12m)×2 0.25m]=0.14kN/m
合计: 1.89kN/m
b×h=250mm×500mm
梁自重 25kN/m3×0.25m×(0.5m-0.12m)=2.38kN/m
抹灰层:10厚混合砂浆 0.01m×17kN/m3×[(0.5m-0.12m)×2 0.25m]=0.17kN/m
合计: 2.55kN/m
(4)柱自重
b×h=550mm×550mm
柱自重 25kN/m3×0.55m×0.55m=7.56kN/m
抹灰层:10厚混合砂浆 0.01m×17kN/m3×0.55m×4=0.37kN/m
合计: 7.93kN/m
以上是毕业论文大纲或资料介绍,该课题完整毕业论文、开题报告、任务书、程序设计、图纸设计等资料请添加微信获取,微信号:bysjorg。
相关图片展示:


![69X1]Q9`M2LXKIQB11YAU51](http://www.biyelunwen.org/wp-content/uploads/2020/02/lw1290_202021810040305.png)
![ESVZZL1AV$]V}RW5KTWEDVH](http://www.biyelunwen.org/wp-content/uploads/2020/02/lw1290_202021810040318.png)
![I_]S8_UK}YEX6USVP)T7D47](http://www.biyelunwen.org/wp-content/uploads/2020/02/lw1290_202021810040340.png)




