高SiC含量SiC-AlN复相陶瓷烧结性能与机械性能的研究毕业论文
2020-05-12 22:15:46
摘 要
微波放大器是重要的工业元件,行波管便是其中一种。与其他器件相比,行波管功率大、增益高、频带宽和寿命长。耦合腔行波管又是行波管的一种。其特点是功率大和频率高。然而,由于耦合腔慢波结构固有的特点,行波管并不能一直稳定工作。这种劣势是来自各种振荡。因此,对用于抑制各种振荡的微波衰减材料进行开发与研究具有重大意义。
本文综述了耦合腔行波管和微波衰减材料的研究现状,制定了热压制备SiC-AlN复相衰减陶瓷材料的工艺路线。通过XRD组分分析、SEM显微结构分析和EDS元素分析,系统地研究复相体系中SiC含量、烧结温度和保温时间对试样烧结性能和机械性能的影响。
烧结助剂在热压烧结的过程中生成了新相CeAlO3,复相材料由主晶相AlN、SiC和次晶相CeAlO3构成。由于SiC的低扩散性,随其含量增加,复相材料难以烧结致密。提高烧结温度和延长保温时间,一定程度上,有利于试样的致密化。
关键词:高SiC含量 AlN 微波衰减
Study on sintering properties and mechanical properties of SiC-AlN multiphase ceramics with high SiC content
Abstract
Traveling wave tube (TWT) is a kind of important microwave amplifier, its characteristics for high power, high gain, wide bandwidth and long life. Coupled cavity traveling wave tube (TWT) is important in high power and high frequency traveling wave tube . However, due to the coupled cavity slow wave structure inherent characteristics, it is easy to produce a variety of oscillation, thus affecting the stability of the traveling wave tube. Therefore, to inhibit various oscillatory microwave attenuation materials research and development is of great significance.
In this paper, the research status of coupled cavity traveling wave tube and microwave attenuation materials is reviewed and the process route for preparing.The effects of SiC content, sintering temperature and holding time on the sintering properties and mechanical properties of the samples were systematically studied by means of XRD component analysis, SEM microstructure analysis and EDS element analysis.
In the process of hot pressing sintering, sintering additives produced a new phase CeAlO3, which consisted of the main crystalline phase AlN, SiC and sub crystalline phase CeAlO3. Due to the low diffusion of SiC, with the content increasing, composite materials to sintering. Increasing sintering temperature and prolonging holding time, to a certain extent, is conducive to the densification of the sample.
KeywordS:high SiC content;aluminum nitride; microwave attenuation
目录
摘要 I
Abstract II
第一章 绪论 1
1.1 引言 1
1.2 行波管 2
1.2.1 行波管简介 2
1.2.2 耦合腔行波管 3
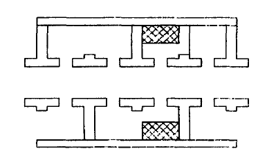
1.2.3 耦合腔行波管中有害振荡及预防措施 4
1.3 微波衰减材料 6
1.3.1 微波衰减材料的分类 6
1.3.2 微波衰减材料的基本参数 6
1.4 SiC-AlN复相陶瓷各组分性能 7
1.4.1 SiC简介 7
1.4.2 AlN简介 10
1.5 本课题研究的目的 11
第二章 实验方法 12
2.1 实验原料 12
2.2 实验配方 12
2.3 制备工艺与设备 13
2.3.1 SiC-AlN复相陶瓷的制备 14
2.3.2 实验设备 14
2.4 材料测试与表征 14
2.4.1 烧结性能测试 14
2.4.2 机械性能测试 15
2.4.3 物相及显微结构分析 16
第三章 碳化硅含量对复相陶瓷性能的影响 17
3.1 烧结性能 17
3.2 机械性能 18
3.3 物相分析及显微结构 19
第四章 烧结温度对复相陶瓷性能的影响 22
4.1 烧结性能 22
4.2 机械性能 23
4.3 物相分析及显微结构 23
第五章 保温时间对复相陶瓷性能的影响 26
5.1 烧结性能 26
5.2 机械性能 26
5.3 物相分析及显微结构 27
第六章 结论与展望 30
参考文献 31
致谢 33
第一章 绪论
1.1 引言
自1943年以来,行波管已经走过了有70多个年头,这期间从未停下发展的脚步。随着半导体技术的发展更新,特别是集成电路技术的崛起,小功率的行波管已经走向衰落,取而代之的是固态器件。如今,信号处理电路中都是固态器件。然而,固态器件也有局限性。小体积决定了小功率。因此,在需要大功率技术的地方,行波管仍然具有无法取代的地位。比如电子战系统、卫星广播发射机等。其中,耦合腔行波管是目前最主要的高功率微波放大器[1]。
众所周知,行波管有很多无法比拟的优点,如大功率、高频率。但由于慢波结构固有的特点,很容易产生三种有害振荡[2]:高次模式振荡、自激振荡和边带振荡。为了消除振荡,获得较高的增益,必须在慢波线的通过区域来放置抑制反射的衰减材料。这种衰减材料吸收非设计模式波,确保获得给定的高频参数[3]。
相关图片展示:








        
            
