钢丝增强复合材料性能预测及其管道有限元模拟毕业论文
2021-12-05 17:30:47
论文总字数:22361字
摘 要
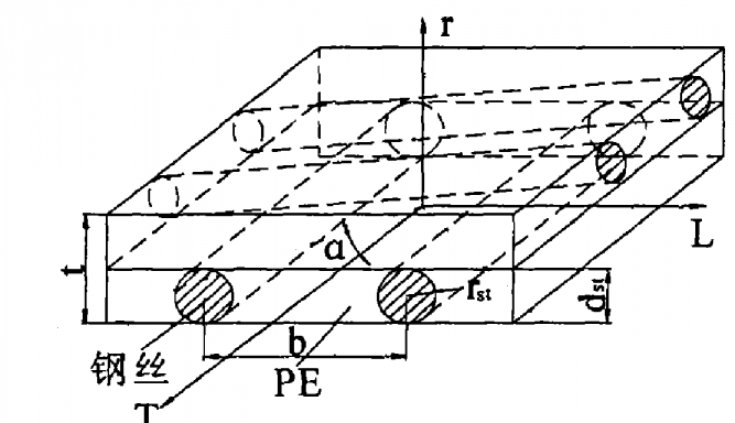
钢丝缠绕增强复合管(PSP) 是一种具有优异性能的新型复合管。它是用高强度钢丝螺旋缠绕在芯管上构成增强体,同时涂覆粘结树脂高密度聚乙烯(HDPE)为基体,二者结合为中间层,再由内外两层HDPE树脂包裹中间层,利用树脂的粘结性能将三层结构紧密地连接在一起的复合结构。该管道具有优异的性能:耐腐蚀性好、高强度、高模量、抗压性能好等。并且在生产上工艺复杂性低,生产成本低,同时金属增强体和塑料基体具有良好粘接界面,性能优异,得到了众多科研工作者的认可和广泛设计研究,在之后市场推广上具有较大的优势。
本文从理论、有限元两个方面对PSP 管道进行了详细的力学性能分析,研究管道的极限强度。本文主要工作如下:
(1) 通过串并联模型,建立了单层板的弹性常数预测公式,并根据材料的基本参数进行了理论计算。同时通过查找书本和文献的资料,对单层板的基本强度进行了预测,根据公式计算得到了单层板的强度参数。
(2) 通过ANSYS对不同厚度钢丝增强复合管在压力载荷下的分析,得到了铺层数和管道所能承担的最大载荷成正比,铺层数增加一倍,相应的最大承载载荷也相应的增加一倍的结论。
(3) 通过ANSYS对不同铺层角度钢丝增强复合管在压力载荷下的分析:在铺层层数不变的条件下,随着铺层角度的增大,初始载荷先增大后减小,存在一个最优角度在本文的受力情况下使得管道能够承受最大载荷。
关键词:钢丝缠绕增强塑料复合管;细观力学;有限元;弹性模量
Abstract
Plastic pipe reinforced by helically cross-winding steel wire (PSP) is a new type of composite pipe with excellent performance. It is made of high strength steel wire spiral wound on the core tube to form a reinforcing body, and coated with bonding resin high density polyethylene (HDPE) as the matrix. The two are combined into the middle layer, and then the inner and outer two layers of HDPE resin wrap the middle layer. The bonding property of the resin is used to tightly connect the three layers of structure together. The pipeline has excellent properties: good corrosion resistance, high strength, high modulus, good compression resistance, etc. In addition, it has low technological complexity and production cost in production. At the same time, metal reinforcement and plastic matrix have a good bonding interface and excellent performance, which has been recognized by many researchers and widely designed and studied, and has a great advantage in market promotion.
In this paper, the mechanical properties of PSP pipe are analyzed in detail from the theoretical and finite element aspects, and the ultimate strength of the pipe is studied. The main work of this paper is as follows:
(1) Based on the series and parallel model, the elastic constant prediction formula of monolayer plate is established, and the theoretical calculation is carried out according to the basic material parameters. At the same time, the basic strength of single-layer plate is predicted by looking up the materials in books and literature, and the strength parameters of single-layer plate are calculated according to the formula.
(2) Through ANSYS analysis of steel wire reinforced composite pipe with different thickness under pressure load, the conclusion that the number of layers is proportional to the maximum load that the pipe can bear, the number of layers is doubled, and the corresponding maximum load is also doubled.
(3) Through ANSYS analysis of steel wire reinforced composite pipe with different layer angle under pressure load: under the condition of constant layer number, with the increase of layer angle, the initial load first increases and then decreases, and there is an optimal Angle to enable the pipe to bear the maximum load under the stress of this paper.
Key Words: Plastic pipe reinforced by helically cross-winding steel wire;micromechanical;finite element;modulus
目 录
第1章 绪论 1
1.1 引言 1
1.2 复合管 1
1.2.1 复合管的定义 1
1.2.2 复合管的分类 2
1.2.3 复合管的研究现状 4
1.3 本文的主要研究内容 5
第2章 PSP管的力学性能理论分析 6
2.1 引言 6
2.2 基本假设 6
2.3 细观力学分析 6
2.3.1 材料的性能参数 7
2.3.2 模型简化 7
2.3.3 串并联模型 9
2.3.4 计算结果 10
2.4 单层板强度的细观力学分析 10
2.4.1 纵向拉伸强度 10
2.4.2 纵向抗压强度 11
2.4.3 横向抗拉强度 11
2.4.4 横向压缩强度 11
2.4.5 面内剪切强度 12
2.4.6 计算结果 12
2.5 本章总结 12
第3章 钢丝缠绕增强塑料复合管的有限元分析 13
3.1 ANSYS软件介绍 13
3.2 模型的建立 13
3.2.1 建立管道模型 13
3.2.2 网格划分 14
3.2.3 边界条件和约束 14
3.2.4 失效准则 14
3.2.5 初始强度分析 15
3.2.6 结果与分析 15
3.3 本章总结 20
第4章 结论与展望 22
4.1 结论 22
4.2 展望 22
参考文献 23
致谢 25
第1章 绪论
1.1 引言
随着工业化程度的不断加深和我国综合国力的提高,运输方式在人们的日常生活中越来越便利,天然气随管道运输走入千家万户,城市污水管网运输系统很好得解决了人们生活中的废水、工业废水的运输问题。这些都要充分归功于运输管道的安全运输保护作用。同时,对于整个国家的天然能源运输,特别是我国油气资源的运输,管道起着十分重要的支撑作用。据统计,截止2017年,我国油气管道总长度总里程已达到13.14万千米,其中天然气管道、原油管道、成品油管道分别占7.26万千米、3.09万千米、2.79万千米[1],预计2020年将达到15万公里。而作为最大的国际石油消费国,美国的油气资源管道运输的干线长度将近100万千米。我国作为最大的发展中国家,为了能够更好地支持促进社会民生事业发展以及促进国家社会整体经济建设,不断加强推进燃气管道设施建设和科学研究发展具有重要指导意义。
油气管道按照组成材料属性大致分三种,金属材料管道、非金属材料管道以及复合材料管道。金属材料管道由多种金属材料构成,包括钢管、铝管等。其性能上的优点是结构刚度大,抗压能力强,耐热性好等;但由于其工作环境多为外壁接触湿润土壤或潮湿空气、内部流通水或其他酸性液体介质,容易发生电化学腐蚀而发生材料结构破坏,长期使用可能导致介体泄露甚至管道爆炸,造成重大经济损失和严重的社会影响[2]。在目前我国,每年都会有大量的金属运输管道因腐蚀作用报废而需要经常更新,造成了材料浪费和经济损失。金属材料管道的不耐腐蚀特性使人们转向对非金属管道的研发。非金属材料管道由两种或两种以上的非金属材料构成,如各种金属塑料、玻璃钢和各种橡胶等。组成这种管道的材料性能原因,使其本身具备了防水耐酸碱腐蚀、轻质、绝缘隔热性能好等诸多优点。同时,减轻了安装和运输成本。但非金属材料管道也存在刚度低,力学性能差,耐热性差、表面易破损等缺点[3]。金属管道的不耐腐蚀和非金属管道的力学性能差的缺点,是材料本身固有的缺点,使得其不能满足更加复杂环境下的使用,影响了社会生产力的发展。之后由于复合材料的不断发展,人们开始设想能否把现有的两种管道的优点结合起来,
制造出价格低廉、刚度强、耐蚀性好、耐压性好、加工方便的管材。自此,人们开始对金属增强非金属复合管展开理论和实际的研究。
1.2 复合管
1.2.1 复合管的定义
复合管道是由两种或两种以上组分材料,通过不同的生产工艺,如缠绕工艺等,制备的管道材料。从宏观来看,增强材料和基体材料彼此紧密的联系在一起,界面结合性能优良;从性能上看,通过多年的实验室实验和生产生活实际应用,发现组分材料的优秀性能得到了突出表现,缺点得到了克服。同时,复合管还可以根据使用环境和工程要求,选择合适的组成材料和增强方法,实现了材料的可设计性,得以更好地利用材料和节省成本。
1.2.2 复合管的分类
请支付后下载全文,论文总字数:22361字
相关图片展示:







