能量回收型减震器方案设计与性能分析毕业论文
2020-02-17 17:55:16
摘 要
传统的减震器只有减弱行驶时由不平路面造成的车体震动的效果,没有能量回收的功能。但随着能源短缺和环境污染成为各个国家面临的问题,为了节省能源及加强环保,研发设计一种新型的设备,使减震器在伸缩运动中产生的机械能能够转化为电能二次使用成为一种发展趋向。本文简述了一种滚珠丝杆式馈能减震器的结构设计与工作原理,以及其主要零部件的选型及参数计算方法。并采用SIMULINK软件建立了仿真模型,通过对阻尼特性等多个方面的分析,从而得出此馈能减振器的阻尼特性与传统减振器的阻尼特性相比不差,但具有较高效率的能量回收能力以及此类型减振器是未来减振器的发展趋势,具有很大潜力的结论。
关键词:减震器;能量回收;结构设计;特性分析;
Abstract
The traditional shock absorber only weakens the effect of body vibration caused by uneven roads during driving, and has no function of energy recovery. However, with the shortage of energy and environmental pollution becoming a problem faced by various countries, in order to save energy and strengthen environmental protection, a new type of equipment has been developed and designed, so that the mechanical energy generated by shock absorbers can be converted into electrical energy for secondary use. Become a development trend. In this paper, the structure design and working principle of a ball screw type feed-energy shock absorber are described, as well as the selection and parameter calculation method of its main components. The simulation model is established by using SIMULINK software. Through the analysis of damping characteristics and other aspects, it is concluded that the damping characteristics of this feed-energy shock absorber are not poor compared with the damping characteristics of traditional shock absorbers. However, the high efficiency of energy recovery and this type of shock absorber are the development trends of shock absorbers in the future and have great potential.
Keyword:Shock absorber; Energy recovery; Structural design; Characteristic analysis;
目录
第1章:绪论 1
1.1研究背景及意义 1
1.2汽车减震器研究的国内外现状 1
1.2.1国外汽车减震器发展现状 1
1.2.2我国汽车减震器发展现状 3
1.3减震器特性仿真研究现状 4
1.3.1物理参数模型的研究状况 4
1.3.2等效物理参数化模型的研究状况 5
1.3.3非参数化模型研究状况 5
1.4减震器的能量回收方法 6
1.4.1液压蓄能式 6
1.4.2电磁蓄能式 7
1.4.3馈能结构方案的评选 12
1.5技术路线及主要研究内容 13
1.6本章小结 13
第2章 结构设计及参数匹配 15
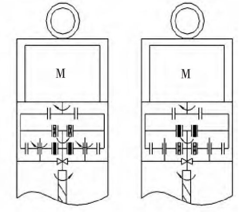
2.1滚珠丝杠馈能减振器工作原理 15
2.1.1结构及馈能原理 15
2.1.2减震器行程中的运动 16
2.2滚珠丝杠馈能减振器的结构设计 17
2.3基本参数 20
2.4主要零部件的选型设计 20
2.4.1滚珠丝杠 20
2.4.2电机 26
2.4.3推力轴承的选型及校核 29
2.4.4超越离合器 30
2.4.5齿轮系统的设计 31
2.5本章小结 32
第3章:仿真模型及性能分析 33
3.1仿真模型的建立 33
3.1.1整车模型 33
3.1.2馈能减振器模型 35
3.1.3充电电路的设计 36
3.1.4ADAMS/Car与SIMULINK软件联合仿真模型 38
3.2减振器性能分析 39
3.2.1电机特性分析 40
3.2.2阻尼特性分析 41
3.2.3示功特性分析 47
3.2.4馈能特性分析 48
3.3本章小结 48
第4章:结语 50
4.1全文总结 50
4.2研究展望 50
参考文献 52
致 谢 55
第1章:绪论
1.1研究背景及意义
汽车的悬架系统(Suspension system)指的是汽车车架与车桥或车轮之间所有连接装置的总称。它由减震器(shock absorber)、弹簧(spring)和导向系统(Orientation system)构成。车辆悬架的主要作用是传递车轮和车架之间的力或扭矩,缓冲在行驶过程中由于不均匀的路面引起的,并在驾驶时传递到车架或车身所造成的冲击力,减弱这种冲击力所引起的振动,从而确保汽车在行驶中保持人平顺的感觉。同时确保旅途舒适,货物状况良好。悬架系统对车辆的操纵稳定性、乘坐舒适性和行驶安全性起到决定性的作用,其中,减振器是悬架系统作用的关键组成部件。
传统的减振器通过粘性液体流动孔将振动能转化为热能耗散,产生阻尼力。由于结构简单,安装空间小,制造成本低,故而应用普及,但也是由于受到结构的限制,其固定阻尼特性已经不能满足如今车辆的安全性和舒适性要求。主动悬架可以满足这一要求,但主动悬架是为了提高车辆的行驶性能,所以需要配合更高的功率。此外,它的主动控制需要各种传感器的支持。它的价格高,耗电量大,安装要求高,所以很难推广。
而且,在如今的时代中,所有发达或有一定现代化建设的国家都面临着两个问题:能源短缺和环境污染, 因此研发新的技术手段使使用汽车时能够消耗更少的能源甚至回收部分能源再利用是一个比较好的解决路线,也是当前时代发展需要面临的挑战。目前,已经有汽车在制动系统中设计一种制动能量回收装置,通过这个装置能够回收利用一部分制动能。我们可以仿照这个模式,设计一种能量回收装置代替或添加在减震器中,让它在原有功能的基础上,增加新的能力。通过这个装置,不仅可以能够增强减振器原有的阻尼性能,而且悬架在振动过程中产生的振动机械能量能够被我们所重新利用或存储。在目前存在的供能减震器方案中,能够实际应用的有效方案较少,大多数仅存在于理论和实验研究阶段。为了使车辆振动能量回收得到更广泛的应用,本文提出了一种新型的馈能式减振器系统设计方案。
1.2汽车减震器研究的国内外现状
1.2.1国外汽车减震器发展现状
减震器(shock absorber)的发展历史有一百余年, 在最早期的汽车所使用的是由弹簧构成的减震器。虽然这种弹簧减震器也能在一定程度上减少与路面的冲击,但实际上容易产生共振现象,所以很快就被市场淘汰了。液压减震器是在这之后出现的一种突破式减震器。1908年,汽车在减震器领域发生了质的变化,第一台液压减震器的出现使汽车的舒适性得到了跳跃式提高。在其内部,由橡胶制成的节流通道将这种减振器分为两部分。减震的目的是通过液压和节流通道的摩擦来实现。后来,随着技术的发展,摇臂式(Rocking arm type)减震器逐渐出现。但由于它的结构复杂,体积较大,很快也被淘汰了。二战结束后,世界各国开始和平高速发展,此时出现了简单的筒式液压减震器取代摇臂式减震器,这种减震器不仅体积较小,而且具有成本低、寿命长的重要特点,能有效产生减震效果。筒式减振器足够优秀,在现实中应用的时间很长。直到20世纪50年代,更为优异的可充气减震器才逐渐出现。它在某种程度上可以说完全消除了上述减震器中存在的问题,质量轻、性能高。然而,生产成本也相对较高。虽然充气式减振器比筒式减振器更加完美,但是目前为止,最流行的汽车减振器还是筒式。
随着时代的发展,可持续发展成为各国发展的主要主题,各行各业都进行了技术革新,给自己的设计出了各种新型的能量回收型装置,从而缓解坏境问题和能源问题。这一点国外任然开始的比国内要早上一些。1980年代以来,国外对车辆振动能量回收的悬架进行了研究和开发,研究方向从机械振动能量回收悬架向电磁振动能量回收悬架的逐步转移。大量汽车专业学者们以及车辆领域大拿们从理论上研究分析了振动能量回收在汽车悬架中应用的可行性、可能性以及性价比。日产(nissan)是一家日本公司,它开发了一种具有开创性意义的液压存储减震器,其性能与半主动悬架相似。它不仅可以通过利用振动能量反抑制振动,而且由于具有蓄能功能,因而对自身功率的需求大大减少了。这种减震器利用压力控制阀与小型蓄能器和液压缸相结合,使蓄能器能够吸收不均匀路面的振动能量输入。这样,系统所需的流量相对减少,实现了液压系统的主动阻尼和被动阻尼一起衰减车辆的振动,降低了能耗。
Nakano提出了自动力主动控制的新概念,并对该卡车的驾驶室悬挂系统进行了研究。基本原理是底盘前悬架上的马达执行机构恢复振动能量并储存在电池中。提供驾驶舱后悬挂马达执行器进行主动控制。为了简化系统,Nakano在2003年也提出了一个只包含单一线性直流电动机的自动力主动隔振控制系统,并利用电枢在高速运动时的再生能,以电枢的低速驱动电机。
Okada通过由直线直流电动机和双向电压变换电路组成的电能再生阻尼致动器吸收振动。简单的立式试验证明,该机构能在高速下回收能量。但执行机构在低速下不产生阻尼力或再生能,从而影响阻尼器的效率,也产生高频共振干扰。Okada在2002年的研究中,在双向电压转换电路中引入了调音斩波器来解决这个问题。通过电感元件,使得电流能够从较低的抗电动势输入到电压相对较高的电池,从而达到低速运动的目的。能量再生.由于以前的测试只限于小质量的块系统,所以Okada在2003年改用线性交流电动机,用于车辆的这种阻尼器,并达到车身高度的调整。
从20世纪末到21世纪初,美国得克萨斯大学在高性能多功能轮式车辆上安装了电磁阻尼器,用于军事改装项目的测试。该系统统一了振动能量的回收、存储和管理。这种模式提高了车辆的控制和动力性能,降低了车辆在粗糙表面行驶时的受到的滚动阻力Fd,提高了车辆的行驶平顺性和速度。虽然德州大学已经精心设计了实验中使用的悬挂系统结构和控制算法,但由于实验主要是提高军用车辆的性能,因此研究的重点是提高动力学和乘坐平顺性。在节能方面还需要进一步改进。
2004年,德国的博世公司声称使用直线电机代替弹簧和减震器,内置绕组电机的线圈和磁铁,并且线圈通电后悬挂系统根据车体和车轮的相对位置来伸张或收缩。当减振器两端相对收缩时,线性电动机作为发电机将产生的能量返回给放大器。该公司使用本技术建立的电磁悬挂系统来回收部分能量,同时使用电磁力和线性电动机来抵消道路冲击。
与我国依然还主要使用双筒式液压减震器不同,国际上的减震器种类越来越多可以满足各种需要,如在降低减震器的噪声、美化减震器的外观和大大缩小减振器体积等方面有了惊人的研究和应用。目前国外市场主要有充气式减震器:荷载感应式充气减震器和位置依存式充气减震器;自适应减震器:电流可变减震器和电磁流变减震器等。当然,市场上的最高使用率的减振器类型还是属于双桶式液压减震器,这是由于新的减震器才刚新生还只处于市场试用阶段。
1.2.2我国汽车减震器发展现状
我国汽车减震器的发展与世界发达国家减震器的发展相比, 处于较为缓慢和落后的位置,总体上来说, 仅相当于发达国家八十、九十年代的水平。目前我国大部分减震器仍采用一九四零年代出现的双筒式液压减震器,高档汽车减震器多从国外进口。这种情况阻碍了我国汽车减振器技术的发展,成为一个迫切需要得到解决的问题。
虽然发达国家的汽车减振器生产技术水平与我国相比有着很明显的领先,我国的减振器相关研究生产水平比较落后,但经过这么多年的发展,我国不仅积极吸收外国先进技术而且努力自我创新,在汽车减震器方面取得了跨越式的长足进步。这里有三个方面的发展对提高我国汽车减震器的研发水平起到了重要作用:第一,中国减振器器及其部件的标准有许多突破。国家和企业都制定了汽车减震器及其零部件制造的行业标准,为汽车减震器的设计和制造提供了比较方面合理的参考标准。第二,汽车减震器的生产厂家很多,如旋转密封机、注油机、清洗机等。第三,汽车减震器配套部件的厂家水平不断进行改进,如密封油、橡胶、减震器油、粉末冶金部件等厂家水平的提高。以上三个方面的发展都在提高我国汽车减震器的研发和生产水平。到目前为止,我国早已经可以生产一些比较需要技术水平的减振器,比如卫星面包车独立悬挂减震器,而且我国生产的独立悬挂减震器甚至被部分国外汽车生产商所使用。另外,在减震器理论研究上,我国也做出了许多自己的特色突破,取得了一些代表世界先进水平的理论成就和现实成果。例如在试验样机中,我国已经研制出的主动液压减震器闻名亚洲,这个成果的技术含量是处于世界前列的。
20世纪90年代以来,我国也开始进一步研发和应用汽车振动能量回收悬架。在我国,对相关项目的研究大多处于模拟或初步试验阶段。虽然详细阐述了馈能悬架的结构和原理,但实际研究能应用的成果较少。其中,吉林大学和上海交通大学对馈能悬架的可行性进行了较为深入的探讨。上海交通大学的喻凡、郑雪春提出了一种由滚珠丝杠机构和永磁直流电动机组成的主动悬架作动器方案,并对电机的选择、电机作动器的结构和工作原理以及具体的系统参数进行了一定的设计和探索。研制了电机样机,对电机的电气特性和被动响应特性进行了测试分析。验证了该电机执行机构的可行性和有效性。实验结果表明,滚珠丝杠式馈能减震器在低频大幅度激励下具有良好的悬架特性,但在高频区域却不如被动悬架。吉林大学的王伟华、于长森提出了一种由齿轮架机构和直流伺服机组成的主动悬架驱动器,并进行了仿真分析。目前,我国已经能够生产独立的小型货车独立悬架减震器,并引进了部分轿车配套生产独立悬挂减震器;国内学者对我国减震器的基本理论也进行了大量的研究,主动式液压减震器的研究也取得了一定的发展。研制了一种主动式液压减震器试验样机。
综上所述,在日新月异的当今世界,为了满足不同人们对减震器的外观和性能上的要求,也为了赢得竞争优势,不可计数的新型减震器涌现出来。复合减震器、自适应可调减震器和新型减震器等是新型优秀减振器的代表,标志着越来越多种类的减振器的出现。
1.3减震器特性仿真研究现状
汽车减震器的动态特性通常以阻尼力与活塞相对于缸筒的运动参数(Motion parameters)关系(比如相对速度)来表达(后文关于本文设计的减振器的特性分析也是根据这一条例分析论证的),各类分析模型必须尽可能准确的表达出这种关系。当今,国内外分析减振器特性的模型按建立的方式不同可以分成以下三类:物理参数模型、等效物理参数模型和非参数化模型。
1.3.1物理参数模型的研究状况
减振器物理参数模型(Physical parameter model)是根据减振器真实工作状态(例如内部油液的流动、节流阀弹性元件的变形和活塞的位置变化等)结合一定的数学逻辑和物理关系所建立的流体和结构的耦合动力学(Coupling dynamics)模型。这种直观性的模型被称为参数物理模型,又叫做直接参数化模型。这种模型既可被用于汽车系统动力学和振动仿真分析(Simulation analysis),也可以被用来预测和分析减振器特性。以常微分方程表达的集总参数模型和以偏微分方程表达的分布参数模型是物理参数模型划分而成的两大类,由于常微分方程相比较偏微分方程来说更为真实,所以集总参数模型是目前为止建立的物理参数模型的常见选择。
随着时代的发展,通过计算机技术进行仿真分析越来越普及,减震器分布参数模型通过数值方法建立和分析也渐渐变得越来越简单,逐渐得到普及。目前建立和求解完全分布参数模型存在一定的困难,这是由于理论研究水平和计算条件的束缚。现在利用FEA和CFD等方法建立集总参数和分布参数混合的模型是已经证明的可行的方法,是现在模型分析的主流。
1.3.2等效物理参数化模型的研究状况
等效物理参数模型(Equivalent physical parameter model),被称为等效物理参数模型或等效参数化模型,是将减震器化整为零抽象为一些具有一定力学特性的典型物理构件的组合系统,从而建立的等效力学特性分析模型。在1980年代后期,Karadayi等人认为,虽然郎式模型可以更好地表达减振器的非线性特性,但过于复杂,不适合汽车系统动力学和振动模拟分析。为了建立一个能够更好表达减震器迟滞特性(hysteresis characteristics)的简单模型,他们使用了一种将减震器等效为弹性元件、阻尼元件、间隙和摩擦元件组合的机械模型。减震器的实际结构和内部工作过程对该模型来说毫无约束。无论构件的力学特性是线性(linear)的,还是是非线性(nonlinearity)的,都影响该模型的建立。减振器的非线性动态特性能够被该组合系统能较好地表达。
以上是毕业论文大纲或资料介绍,该课题完整毕业论文、开题报告、任务书、程序设计、图纸设计等资料请添加微信获取,微信号:bysjorg。
相关图片展示:








        
            
