分布驱动纯电动车驱动桥设计毕业论文
2020-02-17 17:48:03
摘 要
能源危机和环境污染的日益严重对汽车行业的发展与进步提出了更为严峻的挑战。为实现走汽车行业的可持续发展的道路,以电动机为驱动装置的电动汽车可以真正实现无污染,这项研究已成为各国汽车研发的重点。本设计的主要内容是关于分布式驱动纯电动汽车的驱动桥设计的部分。驱动桥作为电动汽车的重要组成部分,其性能直接影响到整车的性能。
本文设计了一种分布驱动纯电动车的驱动桥,首先进行总体方案的设计以满足所给要求,其次再确定驱动桥的结构形式。文中将纯电动车驱动桥的选型方案定为整体式(非断开式),接下来便是驱动桥中各个部件的设计以及校核,其中包含半轴、主减速器、差速器以及桥壳等结构。最后通过建模软件对这些电动驱动桥三维零部件进行建模以及虚拟装配,从而验证结构的合理性,并将三维模型转二维图纸。
关键词:驱动桥;分布驱动;主减速器;差速器;半轴;桥壳
Abstract
The increasingly serious energy crisis and environmental pollution have posed more severe challenges to the development and progress of the automotive industry. In order to achieve the sustainable development of the automobile industry, electric vehicles driven by motors can truly achieve pollution-free. This research has become the focus of automobile research and development in various countries. The main content of this design is about the drive axle design of distributed drive pure electric vehicle. Drive axle is an important part of electric vehicle, its performance directly affects the performance of the vehicle.
This paper designs a drive axle of distributed drive pure electric vehicle. Firstly, the overall scheme is designed to meet the requirements. Secondly, the structure of the drive axle is determined. In this paper, the selection scheme of pure electric vehicle drive axle is defined as integral type (non-disconnected type), followed by the design and verification of each component of the drive axle, including half axle, main reducer, differential and axle housing. Finally, these three-dimensional parts of the electric drive axle are modeled and assembled by the modeling software, so as to verify the rationality of the structure and turn the three-dimensional model into two-dimensional drawings.
Key words: drive axle; distributed drive; main reducer; differential; half axle; axle housing
目 录
第1章 绪论 1
1.1论文研究背景和意义 1
1.2研究目的 1
1.3国内外研究现状及发展趋势 1
1.4本论文的主要研究内容 3
第2章 总体方案的设计 4
2.1所需达到的设计目标 4
2.2.1电动汽车的轴数及驱动形式的设计 4
2.2.2电动汽车布置形式的选择 4
2.2.3电机参数的选择 6
2.2.4主减速比的计算 8
2.3.动力性的分析 9
2.3.1 最高车速分析 9
2.3.2 爬坡性能分析 10
2.3.3 加速性能分析 10
第3章.驱动桥结构形式及选择 11
3.1驱动桥的概述及选择 11
3.2驱动桥构件的结构形式的选择 11
3.2.1主减速器结构方案的分析 11
3.2.2差速器结构方案的分析 11
3.2.3半轴的选择 12
3.2.4驱动桥桥壳的选择 12
第4章 驱动桥的设计计算 13
4.1主减速器的设计与计算 13
4.1.1减速比的分配 13
4.1.2运动和动力参数计算 13
4.1.3 齿轮的参数计算 13
4.2差速器的设计与计算 22
4.2.1差速器的结构型式 22
4.2.2差速器齿轮的基本参数选择 23
4.2.3差速器齿轮强度计算 25
4.3半轴的设计与计算 26
4.3.1半轴轴径的确定 26
4.3.2半轴花键及半轴的强度校核 26
4.4驱动桥壳的设计与计算 28
4.4.1驱动桥壳的结构方案分析 28
4.4.2驱动桥壳的强度计算 28
第5章 驱动桥的主要校核 31
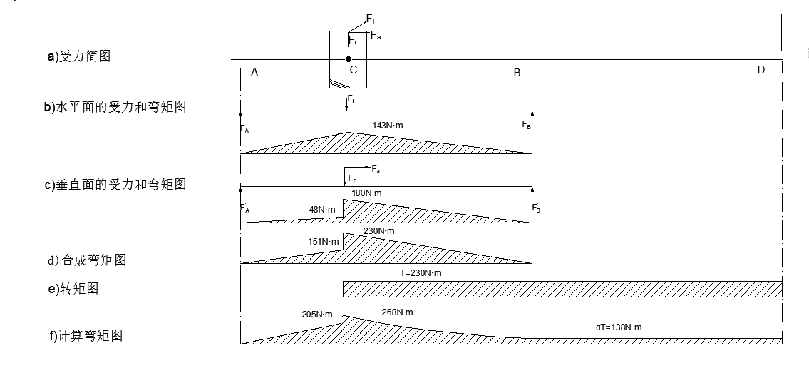
5.1齿轮轴的设计与校核: 31
5.1.1高速轴的设计和校核 31
5.1.2低速轴的设计与校核 34
5.2键的设计与校核 35
5.3轴承的校核 35
第6章 结论 37
参考文献 38
附录 39
附A高速级接触疲劳强度校核程序和结果 39
附B高速级弯曲强度校核程序和结果 40
致 谢 42
第1章 绪论
1.1论文研究背景和意义
一方 面,汽车行业在高速 发展的时候给人们带来许多的便利,但是,另一方面,它也给人们带来了许多的问题[1]。汽车行业的发展加 剧了能源短缺以及生态环境的破坏。“能源、环 境和安 全成为21世纪世界汽车 工业发展的三大主题[2]”。在这三个主题中,生态环境的问题以及能源短缺的问题是限制现在汽车发展的主要问题。
为了缓解能源紧张以及对环境所造成的污染,国家也在不断的出台新的排放法规,不久之后国六排放法规也即将要实行。这对我国汽车行业的挑战是巨大的,因此,在电动汽车的方面不断取得突破,研 制一款整车性能好、价格便民以及维修费 用低的电动汽车,可成为缓解目前能 源短缺以及控制环 境污染的方法[7]。
电动汽车是一种不同于传统类型的汽车,其用电作为动力的来源,用电子 控制来当做传统的机械 传动,不同于传统的汽车通过变速器来改变车速,电动车是通过改变电动机方式来改变速度的运输车辆[3]。电动汽车在很早便被发明出来了,但是由于当时的技术有限,电池的容量以及一些其他的问题导致了电动汽车的发展在之前很缓慢[4]。但是,随着人们对生态环境的关注加强,对空气的质量以及温室效率的关注增加之后,人们把目光便又投到了污 染少、噪 声小、结构 简单的电动汽车的身上。尤其是最近些年来,随着人们在电池以及电机方面取得一些新的突破和改善,电动汽车便取得了不断的发展,汽车制造商家也在不断的推动电动汽车的发展,使得电动汽车逐步变得商业化[5]。纵观全世界,很多国家早已开始了电动汽车方面的研究,尤其是美国、欧洲的一些国家以及日本的制造商便很早开始了电动汽车方面的研究以及发展,当然中国近些年来在电动汽车方面的发展也是十分迅速的[6]。
1.2研究目的
驱动桥的设计与整车动力性、安全性、舒适性和零件成本等指标有着紧密关系,彼此存在冲突又相互影响;提高汽车安全性和动力性,往往会导致成本上升或降低舒适性能。因此,本设计应尽可能地寻找兼顾以上指标的最合理驱动桥设计方案[8]。
本文旨在设计某款分布驱动纯电动车的驱动桥。根据给定参数进行驱动桥的设计和计算,最后利用工程软件绘制装配图和零件图。
1.3国内外研究现状及发展趋势
首先通过分析近年来汽车的产销量,从而可以更直观的看出汽车行业的发展趋势。2018年,我国汽车产销分别为2780.92万辆和2808.06万辆,同比下降4.16%和2.76%。年均增速为-2.8%,低于中汽协年初预计水平。从历年销量及增长率数据来看,2018年是1990年以来销量首次呈现负增长情况[9]。如图1.1所示,我国汽车产业面临较大的压力,产销增速低于年初预计,行业主要经济效益指标增速趋缓,增幅回落。

图1.1 2010-2018年中国汽车销量统计及增长情况
与传统燃油车相比,中国新能源汽车市场在快速增长,2018年我国新能源汽车累计销售125.62万辆,同比增长61.74%。其中纯电动汽车销量98.37万辆,同比增长50.83%[9]。从图1.2可以看得出来,现在电动汽车的发展迅猛,电动汽车被认为是重要的交通工具之一。

图1.2 2013-2018年中国新能源汽车销量统计及增长情况
驱动桥作为纯 电动汽车的主 要部件之一,其整体 性能和驱动效率直接影响到纯电动汽车的能 量利用和整车动力性能,所以驱动桥的研究在电动汽车的研究里面显得十分重要。驱动桥的研究不仅仅可以提高电动汽车的整体性能,还可以降低电动汽车在研发过程中可能出现的风险,因此,对驱动桥的研究是对电动汽车发展的基 础[10]。
驱动桥的性能会直接影响到整车的性能(动力性、经济性、操纵稳定性等),所以要掌握驱动桥的关键技术成为促进电动汽车发展的关键[11]。
在国内的大部分中小企业里面,因为发展起步比较晚,并且研发的资金也不足,主要的研发方式为仿造市场上销量比较好的驱动桥产品,仿制或引进国外的驱动桥[12]。但是像这种开发模式无法从根本上提升我国驱动桥产品的开发水平[13]。而近十几年来,国内的一些实力较强的企业,采取了自主开发模式,在驱动桥的方面也取得了巨大的成就,比如一汽研发的500单级桥达到了国际的水平,汉德车桥也实现了技术出口等。
20世纪60年代以来,电 子计算机迅速发展,使得有 限元法在工程上广泛应用,伴随着参数化设计在CAD中的应用,进一步推动了驱动桥设计技 术。目前,伴随着智能化的控制系统在汽车行业的迅速发展,其进一步推动了驱动桥的研究开发[14]。
国外企业对驱动桥的研究具有十分丰富的经验,其所生产的驱动桥搭载的电动汽车具有很好的整车性能,经受住了市场的检验[15]。虽然国内在驱动桥方面的发展在近些年来取得了十分大的进步,但是与国外的厂家还是 有一些距离的,国内的 纯电动车驱动桥方面的研发水平仍然需要进一步的提升。
1.4本论文的主要研究内容
本文主要研究内容为:
(1)简述论文研究的背景,纯电动车及其驱动桥的国内外发展、研究现状,论文研究目的及意义;
(2)分析驱动桥的结构组成、性能、特点及设计要求;
(3)初步确定驱动桥总成的结构形式及布置;
(4)根据设计需要,通过计算初步确定各重要参数,包括主减速器和差速器结构参数的选取、半轴形式的选择、半轴的载荷计算和强度计算;
(5)在CATIA中对各部件进行建模并完成总装配,将三维模型导出,按照工程图标准进行加注和修改,完成绘图工作。
第2章 总体方案的设计
2.1所需达到的设计目标
本设计是关于分布驱动纯电动物流车的驱动桥设计,该车所需达到的设计目标如下表2.1所示。
表2.1 车型设计目标参数
参数名称  | 参数值  | 参数名称  | 参数值  | 
整备质量(kg)  | 2820  | 迎风面积(m×m)  | 5.7  | 
满载质量(kg)  | 4520  | 风阻系数  | 0.456  | 
轴距(mm)  | 3650  | 轮胎半径(m)  | 0.32  | 
传动效率  | 0.93  | 滚动阻力系数  | 0.014  | 
旋转质量转换系数  | 1.2  | 后减速比(参考)  | 5.689  | 
本文设计的分布驱动纯电动车应满足以下性能要求:
(1)最高车速
≥100km/h;
(2)最大爬坡度
≥20%;
(3)0-50km/h加速时间
≤10s;
2.2.1电动汽车的轴数及驱动形式的设计
在驱动桥设计时,首先要先确定汽车的 车轴的数量,汽车的车轴的数量是 通过汽车的结构、汽车的总质量以及道路 的法规等所确定的。一般来说乘用车、总质量小于19吨的公路运 输车辆和不受公 路桥梁限制的轴载 车辆,如轻型物流车等 采用结构简单、制造成本低的双轴方案。
因此,根据给定的汽车满载质量,选择汽车轴数为两轴式。
2.2.2电动汽车布置形式的选择
一般来说,电动汽车有两种布 置形式,第一种是单电 机集中驱动结构,它由一个电机作为动力源,来驱动 汽车前进。第二种是多电机分布驱动 结构,它由多个电机共 同驱动,来给汽车输送动力,驱动汽车前行[16]。对于单电机集中驱动来说,由于其只有一个电机,它具有成本较 低,结构简单的优点,但是其体 积会笨重,质量比 较集中,效率比较低,从而会导致 整车的性能受到影响。对于多电机分布驱动来说,由于具有多个电机,其成本相对 于单电机集中驱动来说是要高的,但是其质量可以分布的比较均匀,以符合汽车 的整体性能的要求;其体积也比较小,便于汽车的布置;其 效率高,能量利用率更高,从而可以缓解我们 目前的能源短缺的问题。
单电机集中驱动系统的电动汽车,一般要求电机的总功率略小于电池电 化学反应产生的输出功率,在电池的容 量保持不变的时,想要提高动力性,可以通过将电机的峰 值功率做的比电池的要略大一点,那么这样可以在加速和减速过程中,将电池的能力将完全发挥。但这样做带来的一个副 作用,就是在正常工况下,电机的功率多出了很多,这样会导致大 马拉小 车的情况,会使得电机的负荷率比较低,电池的利用 效率会下降。这就是单电机系统的死结,加速强则续航短,续航长则加速弱[17]。
对于以上单电机出现的这个死结,通过引入双电机分布驱动结构系统便可以解决这个问题。利用双电机分布驱动系统,可以使得电池和电机的功 率相匹配。在汽车加速或者爬坡等需要比较大的功率时,可以使用双电机同时工作,使得电机输出的总功 率提高,让电机和电池的峰值功 率相匹配,从而提高电动汽车的动力性。平常行驶时,单电机工作,总功率下降,基本和电池额定功率持平。若载荷较小时,前电机工作,载荷较大时,后电机工作。如此电机即经常工作在高效区间,电池的峰值能力也能完全释放。解开了加速和续航的死结[18]。
以上是毕业论文大纲或资料介绍,该课题完整毕业论文、开题报告、任务书、程序设计、图纸设计等资料请添加微信获取,微信号:bysjorg。
相关图片展示:








        
            
