宇通ZK6579校车制动系设计毕业论文
2020-02-17 11:10:51
摘 要
随着现代人出行速度的日益提高,人们愈发关注汽车行驶安全性。制动系统作为汽车重要组成部分,直接影响整车安全性,可靠的制动系统是复杂道路行驶过程中的不可或缺的安全保障之一。
本设计着眼于校车这一特殊车种,旨在从给定的设计参数出发,设计出一套制动系统,有效地保障学生出行安全。本设计前后轮均采用的是盘式制动器,配合双管路的液压驱动机构和间隙自动调整装置,在保证较高的制动效能的同时,还能维持较高的稳定性。继而聚焦前轮,阐述了制动器的分类,进行比较,选择为浮动钳式盘式制动器,完成了该制动器主要零部件设计、驱动机构等相关计算。最后,生成三维模型、装配图和零件图。
关键词: 盘式制动器 液压驱动机构 双管路 间隙自动调整
Abstract
With the increasing speed of modern people's travel, people pay more and more attention to the safety of driving. As an important part of the car, the brake system is directly related to the safety of the whole vehicle. The reliable braking system is not suitable during the complicated road driving. One of the lack of security.
This design focuses on the special type of school bus. It aims to design a braking system based on the given design parameters to effectively ensure the safety of students. The front and rear wheels of the design are all disc brakes, combined with the hydraulic drive mechanism and automatic gap adjustment device of the double pipeline, which can maintain high stability while ensuring high braking performance. Then focus on the front wheel, explain the classification of the brakes, compare, finally select the floating clamp disc brake, complete the design of the main components of the brake, complete the relevant calculations of the drive mechanism. Finally, generate 3D models, assembly drawings, and part drawings.
Key words:Disc brake; hydraulic drive mechanism; double pipe; automatic adjustment of clearance
目 录
摘 要 I
Abstract II
第1章 绪论 1
1.1制动系统设计相关介绍 1
1.1.1制动系统介绍 1
1.1.2制动系统的设计要求 2
1.2制动系统发展现状 3
1.3 校车制动系统设计特殊性 4
第2章 制动器的结构形式及选择 6
2.1 制动器的结构形式说明与分析 6
2.1.1液压鼓式制动器 6
2.1.2液压盘式制动器 7
2.2 浮钳盘式制动器的优点 9
第3章 制动系统主要参数的选择计算 11
3.1整车相关基本参数 11
3.2制动力分配系数 11
3.3制动强度与附着系数利用率 12
3.4制动器最大制动力矩 13
3.5制动器因数 14
第4章 盘式制动器的相关设计 15
4.1盘式制动器主要参数的确定 15
4.1.1制动盘 15
4.1.2制动钳 16
4.1.3制动块 16
4.1.4摩擦材料 16
4.1.5制动器间隙 16
4.2制动器制动力矩计算 17
4.3磨损特性的计算 17
4.4制动距离的计算 17
4.5驻车制动相关计算 18
第5章 制动驱动机构设计 20
5.1 制动驱动机构的形式与选择 20
5.2制动管路多回路系统设计 20
5.3 液压制动驱动机构的相关设计计算 21
5.3.1制动轮缸直径d的计算 21
5.3.2轮缸活塞宽度与缸筒壁厚计算 21
5.3.3制动主缸相关参数计算 22
5.3.4制动踏板力计算 23
5.4真空助力器相关介绍 24
结 论 26
参考文献 27
致 谢 29
第1章 绪论
1.1制动系统设计相关介绍
1.1.1制动系统介绍
实现汽车在行驶状态下,短距离内实现减速或停车,或者在长时间下坡路的状态下,保持车辆速度的稳定,还有在上下坡和稳定路面可靠停靠的一系列机构统称为汽车制动系统。类比人的脚,发动机等行驶系能够让汽车急速行驶,但是人的脚不光让人奔跑还可以让人稳定停止、站立,制动系统就是用来实现这部分功能。
汽车制动系统,作为系统,是由很多最基础的部分组成,最基本的要数制动驱动机构和制动器。行车制动、驻车制动、应急制动加上辅助制动,这是现代工业对制动装置的四种分类。行车制动装置作用是实现汽车行驶过程的减速和停车,实现长时间下坡时的稳定车速的维持;驻车制动装置作用是实现汽车可靠地驻留在原地(或坡路)不动;应急制动装置作用是在行车制动装置遇到故障时实现紧急情况下突发制动;辅助制动装置作用是在下长坡状态下保持稳定车速的时候,减轻行车制动装置的负担,实现方式往往是增设缓速器等别的辅助制动装置。

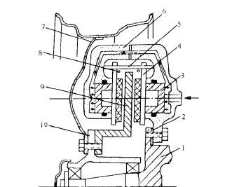
图1.1 制动系统简图
如图1.1所示,为常见的两种制动系统:(a)所示的制动系统前后轮都是盘式制动器组成,(b)所示的制动系统,前轮是盘式制动器,后轮则采用的是鼓式制动器。具体来说,1代表的是盘式制动器,安装在前轴;2是防抱死系统,也就是常说的ABS系统的连接用的导线;3是主缸,ABS装置也在附近;4是制动的助力器,图示为液压式的,用来增加制动踏板力;5也是盘式制动器,安装在后轮,一般带驻制动;6是ECU系统,主要起计算机电子控制作用;7是驻车制动的操纵杆,用来操控驻车制动;8是制动踏板,踩/松以控制制动与否; 9是驻车制动的控制踏板,人为控制驻车制动与否;10是鼓式制动器,安装在后轴;11是组合阀,控制液压管路;12是主缸,产生液压等作用;13是真空助力器,助力装置的一种,配合增大踏板力。
1.1.2制动系统的设计要求
本次制动系统设计应尽量满足一下设计要求:
- 满足相关国家法规和行业标准要求:制动系统关乎汽车行车安全,应该国家相关标准和行业推荐标准,除了满足以上标准外,还合理应当考虑用户的相关需求;
 - 具备较好的制动效能:人们常常使用的是制动减速度和制动距离,来评论行车制动能力。汽车在路面状况良好时能可靠驻留的最大坡度用来评价驻坡制动能力。相关评价指标有标准GB 7258-2003;
 - 能够可靠地使汽车制动:配备行车和驻车两套制动装置这是对此最起码的要求, 并且行车制动装置的制动驱动管路,相互独立,并且要不少于两套,一套故障时,另一管路提供的制动能力高于等于原定值30%。此外,制动系统应当设立安全保障和故障报警装置;
 - 操纵稳定性好:在任何速度下行驶车辆进行制动,都能维持住方向和保持整体操纵性。制动力矩在前后车轮上的分配要适当,同一根轴上的两个制动器的制动力矩应该尽可能相等,防止一边车轮先行抱死,出现跑偏、自动掉头等危险情况;
 - 制动时热稳定性好:选择具备较好的抗热衰退能力的摩擦片;
 - 制动时水稳定性好:摩擦系数在受水后变化较小的摩擦材料做摩擦片,避免水和污泥进入制动器或长时间停留;
 - 操纵起来轻便:人体操纵制动机构需要用的力不应该很大,操纵机构应该布置合理,操纵轻便;
 - 制动滞后的延迟时间不能长,给驾驶员的反馈要快:包括踩下制动踏板,产生制动和松开制动踏板,消除制动的两段时间滞后;
 - 减少社会和环境公害:减轻制动噪声,使用环保材料;
 - 制动器的摩擦衬块足够耐用;
 - 摩擦副之间的间隙可调且调整间隙容易;
 - 驱动机构应当设置报警装置,故障时报警等等。
 
本次毕业设计旨在,经过相关的资料查阅,综合运用专业理论知识,在指导老师的帮助下,充分发挥主观能动性,希望能够做到:确定宇通ZK6579制动系统的总体方案设计,对制动系 统相关主要参数进行选择与设计,设计制动器零部件的尺寸和结构,完成液压驱动机构的设计(包括制动管路系统设计),最终绘制制动系统相关的零件图和装配图,可能的情况下,提出改进意见,作出优化设计。
1.2制动系统发展现状
首先,着眼国内,汽车出现在我国还算比较早,但是汽车产业就姗姗来迟,汽车零部件产业同样起步晚、市场开发程度小,对于制动系统方面,我国开始阶段对刹车片行业认识不充分,刹车片行业长时间处在摸索前行的阶段,导致车用制动器摩擦衬片行业同国际领先水平有很大的差距。在设备、工艺和制造标准方面长时间沿用比较老的技术,相关研发进步缓慢,产品升级换代和质量保证等方面长时间落后于市场的需求;管理上相对粗放,相关的产品质量标准没有办法满足国际市场的标准评价体系的相关要求,以至于只能获得很少的出口份额。但是,近年来,我国的汽车制造工业迅猛发展,在出口贸易急剧增长和国家对汽车行业的扶持和政策刺激下,国内的厂商获得了很多与国外先进的汽车主机厂和零部件供应商的交流与合作机会,无数摩擦材料开发商、汽车制造相关厂商先后来到中国,投资、合资,相当程度上给我国汽车制造领域原材料、生产设备、制造工艺、生产标准、测试、质量管理和研发新产品等方方面面带来的先进经验和技术,包括但不限于制动器制造的汽车制造工业得以迅速发展。
放眼整个汽车制动系统发展来看,电子技术的运用越来越普遍并且已然成为大势所趋。首先是,防抱死制动系统(Antilock Braking System,ABS),最开始被研发出来应用于部分高端车型,作用是防止汽车在应急制动情况下车轮抱死导致失去方向稳定,以避免汽车出现侧滑和丧失转向能力,除冰雪路面等特殊路面下都实现了制动距离大大提升,尤其高速行驶情况下,行车安全性得到很大的提高。但是短短数年间,ABS技术可以说是已经相当成熟了,目前市面上的大多数车型都已经装备ABS,制动安全性得到很大程度提高。
电子技术的发展速度是超出想象的,防抱死AB S制动系统、驱动防滑式电子系统、电子稳定技术系统、主动避撞类技术等电子先进技术被运用到汽车制动系统当中,当然也是从中高端车型开始。近几年,包括我国在内的一些汽车生产大国在研究安全车距报警和防撞防止追尾的系统研究,并以此基础上开发出了定速巡航和无人驾驶技术,是目前最先进和流行的汽车电子技术。当然了,需要实现这些先进的电子控制技术,需要更完善的电路系统配合,更多的电路意味着更复杂的制动系统,制动回路出现故障后的维修、电路和软件的日常升级和维护,都增加了难度和成本。模块化、电子化和集成化是未来制造业的大势所趋,这一趋势也显著影响着汽车行业,博士、布雷博、西门子等等汽车零部件厂商都在不断加强电子制动系统的研发,一代代新的电子技术也在逐渐被实用化、市场化,传统制动系统终有一天被电子制动系统取代。
此外,从节能减排的角度来看,新型能源的运用、环保轻量化材料的使用、制动产生能量的回收再利用等等,也已经吸引了越来越多相关领域人才的目光。就拿制动能量的回收再利用来说,目前可以采用液压或者飞轮储存能量的形式,把制动产生的多余能量储存、回收再利用,又或者在减速下长坡的时候把多余的能量供给给发电机,使蓄电池充电等等。这些现在看起来都是比较小或者低效率的节能减排,但是积少成多,或者随着技术革新,有朝一日,会成为节能减排重要的一环。
1.3 校车制动系统设计特殊性
出行安全,这是汽车等交通工具诞生以来经久不衰的话题,人们关注出行安全,但交通安全事故仍然每年都在发生。保守估计,光是记录在案的交通事故,全球不少于3200多万人口因此失去宝贵的生命,其中,2000年,多达500万人住院,3000万人受伤,罪魁祸首就是交通事故。值得注意的是,制动系统发生故障在因车辆故障而非人为因素导致的交通事故中占的比例高达45%甚至更高。国外发达国家,譬如美国、日本、德国等,早早地重视交通安全,汽车厂商提升车辆本身的安全系数,政府等加强对驾驶人员和相关乘客的安全教育,所以尽管汽车的保有和使用量在逐年增加或者保持持续高水平,但是因为交通事故导致的死亡人数却得到了稳定控制、甚至逐年下降。由此可见,车辆行驶安全系数的提升、老司机驾驶安全意识的加强、行人出行行为的改善、公路设计合理加上交通规则的完善,是可以有效提高交通出行安全性,有效保障人民生命安全。所以,目前中国已经成为全球首位的汽车市场并且全国汽车保有量仍然在持续而迅猛增加,交通出行安全势必需要得到政府、企业、个人各个层面的关注,才能有效保障交通安全。
说起交通出行安全,公共交通出行安全是很重要的一个环节,乘客人数众多、载具质量更大,这就意味着需要更加可靠的安全保障。而校车又是公共交通里面极为特殊的一个存在,校车的承载人群是学生,尤其是中小学生群体,身体发育稚嫩、自我保护意识欠缺、应急逃生能力不足,这种情况下一旦发生交通事故,往往造成严重的群体性事故。从国外来看,虽然早早地加强了对校车安全的教育、对校车进行持续的优化设计、在交通规则上对校车进行侧重和保护,但是关于校车的交通安全事故仍然频繁发生,反观国内,实际上由于人口众多、地域较广,国情复杂,对于校车交通安全之前一直没有特别关注,在最近几年,发生了几起较大的校车交通安全事故,才引起相关重视。近两年,人们被一起又一起校车交通安全事故震撼,一群又一群祖国的花朵因为交通事故凋零,反观这一件件事故的背后,不难发现出事故的车辆往往是面包车或者超载严重的客车,这些车往往重心较高、制动系统可靠性较差,再加上超载严重,很容易造成紧急制动情况下的制动失效发生,加上驾驶人员稍有疏忽或者处理不当,就会发生不可逆的悲痛事件。
因此,国家最近几年开始重视校车安全,陆续通过并施行了很多规范校车的强制性法规,强调校车的安全技术条件,加强对校车司机的安全教育,增强对校车行业监督管理教育学生群体的交通出行要安全,这也确确实实有利于保护学生群体的出行安全。从制动系统角度出发,校车的制动系统要求较高的制动效能,并且更注重制动效能的稳定性,要求制动系统在定期检查条件下可靠工作,行车制动装置配备的制动驱动管路要多于两套,一套故障时,另一套管路还能在紧急情况下保障学生和驾驶员的生命安全。
第2章 制动器的结构形式及选择
2.1 制动器的结构形式说明与分析
制动器的能量耗散有很多种方式,根据这个人们设计出很多种制动器,比如常见的有:摩擦式制动器,制动能量通过摩擦片耗散;电磁式制动器,能量通过电磁能转化耗散;电涡流式制动器,能量通过转化为涡流能耗散,等等,目前市场上使用最多的是摩擦式,即为通过接触摩擦散热,又分为鼓式制动器、盘式制动器和带式制动器三种,前两种在市场上使用最广泛,以下仅对液压鼓式和盘式作说明和设计分析。
如图2.1,是现代制动器的大致分类,可以稍作了解:

图2.1 制动器分类
2.1.1液压鼓式制动器
制动鼓、传力杠杆、制动蹄和驱动装置是鼓式制动器的主要构成部件。鼓式制动器在工作过程中,摩擦热主要通过制动鼓耗散,因此制动鼓要承受的热应力往往很大,这就需要它有足够的质量。总体来说,鼓式制动器的结构相对紧凑,能够广泛安装在各种车辆之中,尤其适用于安装空间不足的场合。
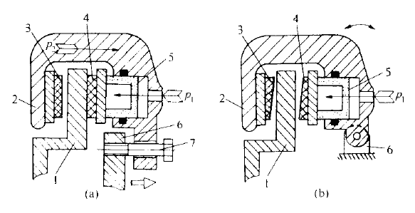
液压鼓式制动器有很多具体结构上的差异,常见的有领从蹄、双领蹄、双向双领蹄、双从蹄、单向增力和双向增力这些形式,产生区别的原因是是制动蹄的受力情况或者说属性。详见图2.2,(a)外观凸轮张开,所以是领蹄式制动器,(b)外观制动轮缸张开,所以是领从蹄式制动器,(c)外观非双向呈现平衡式的结构,所以是双领蹄式制动器,(d)是对称式和中心对称式的结构,是双向双领蹄式,(e)仅从一侧产生压力p,所以是单向增力式制动器,(f)从两向侧都施加压力,所以是双向增力式制动器。制动蹄领蹄的制动鼓会有一个旋转方向,这个方向和制动蹄打开时候的方向是一致的,而对于从蹄来说,两者恰恰相反,这也是名称里‘领’和‘从’的由来。
以上是毕业论文大纲或资料介绍,该课题完整毕业论文、开题报告、任务书、程序设计、图纸设计等资料请添加微信获取,微信号:bysjorg。
相关图片展示:








        
            
