输入输出可控的液压系统蓄能器设计毕业论文
2020-02-17 11:10:44
摘 要
随着科学技术和工业进程的发展,液压技术越来越广泛的应用于机械工程领域。作为液压系统中重要的辅助储能元件,蓄能器也得到了广泛应用。在现代社会中液压系统对蓄能器的性能要求越来越高,通过对蓄能器进行结构改进和功能完善研究,可以进一步的提高液压系统的经济性、环保性和可靠性等等。
本文针对实现蓄能器输入输出可控的功能这一问题,进行了相关研究,通过将传统蓄能器与其他液压元件组合的方法,控制蓄能器内气体容积和压力,从而实现了输入阶段蓄能能力可调、输出阶段压力可控的功能。本文主要进行了以下研究工作并得到了如下结论:
(1)在传统蓄能器工作原理以及国内外相关研究成果的基础上,采用改变蓄能器气体容积的思路来实现蓄能器输入输出可控的功能。
(2)根据研究思路及相关流体液压知识,完成了对输入输出可控的蓄能整体装置完成了回路设计,以及装置中相关液压元件的选择。根据蓄能器的相关使用条件,对蓄能器的性能参数设计计算以及工作压力的选择原则方面进行了简单叙述。
(3)针对蓄能器性能研究,建立了蓄能器的数学模型,得到影响其性能的相关参数因素,并对增压缸的活塞杆组进行受力分析得到相关基本方程,进一步的对蓄能器能量密度进行基本方程建立,得到了影响其工作效率的参数因素。
(4)针对蓄能器的工作过程,在AMESim软件平台上对整体蓄能装置进行了模型搭建,尺寸初定以及仿真分析。通过仿真得到了蓄能器在进液和放液过程中,蓄能器内压力、蓄能器内液压油质量、活塞组位移变化曲线,进一步对蓄能器的工作过程进行了研究。
(5)针对相关参数对蓄能器的性能影响,基于AMESim仿真平台,通过改变蓄能器预充气压力、预设恒压值及活塞面积比,对比仿真得到了一系列蓄能器内压力等相关参数的变化曲线,进一步得到了参数对蓄能器性能影响的结果。
关键词:蓄能器;可控;恒压输出;AMESim仿真实验
Abstract
With the development of science and technology and industrial processes, hydraulic technology is increasingly used in the field of mechanical engineering. As an important auxiliary energy storage component in hydraulic systems, accumulators are also widely used. In modern society, the hydraulic system has higher and higher requirements on the performance of the accumulator. By studying the structural improvement and function of the accumulator, the economical, environmentally friendly and reliable hydraulic system can be further improved.
In this paper, the related research is carried out on the problem of realizing the controllable function of the input and output of the accumulator. By combining the traditional accumulator with other hydraulic components, the volume and pressure of the gas in the accumulator are controlled, thus realizing the input stage. The function of adjustable energy storage capacity and controllable pressure in the output stage. This paper mainly carried out the following research work and got the following conclusions:
(1) Based on the working principle of traditional accumulators and related research results at home and abroad, the idea of changing the volume of accumulator gas is adopted to realize the controllable function of accumulator input and output.
(2) According to the research ideas and related fluid hydraulics knowledge, the complete circuit design of the energy storage integrated device with input and output control is completed, and the selection of relevant hydraulic components in the device is completed. According to the relevant operating conditions of the accumulator, the design and calculation of the performance parameters of the accumulator and the selection principle of the working pressure are briefly described.
(3) For the performance study of accumulator, the mathematical model of accumulator is established, and the relevant parameter factors affecting its performance are obtained. The basic equations are obtained for the force analysis of the piston rod set of the booster cylinder. The basic equations are established for the energy density of the energy, and the parameter factors affecting the working efficiency are obtained.
(4) For the working process of the accumulator, the whole energy storage device was modeled, dimensioned and simulated on the AMESim software platform. Through the simulation, the pressure of the accumulator, the quality of the hydraulic oil in the accumulator and the displacement curve of the piston group during the process of liquid inlet and discharge were obtained. The working process of the accumulator was further studied.
(5) Based on the influence of relevant parameters on the performance of the accumulator, based on the AMESim simulation platform, a series of accumulator pressures are obtained by comparing the accumulator pre-inflation pressure, the preset constant pressure value and the piston area ratio. The variation curve of the relevant parameters further obtains the result of the influence of the parameters on the performance of the accumulator.
Key words: accumulator; input and output controllable; constant voltage output; AMESim simulation experiment
目录
摘 要 III
Abstract IV
第一章 绪论 1
1.1引言 1
1.2蓄能器的功用 1
1.3蓄能器的类型 1
1.4蓄能器的历史及研究现状 2
1.5主要研究内容及采用的技术方案及措施 3
第二章 输入输出可控蓄能器设计 5
2.1普通囊式气体蓄能器结构及工作原理 5
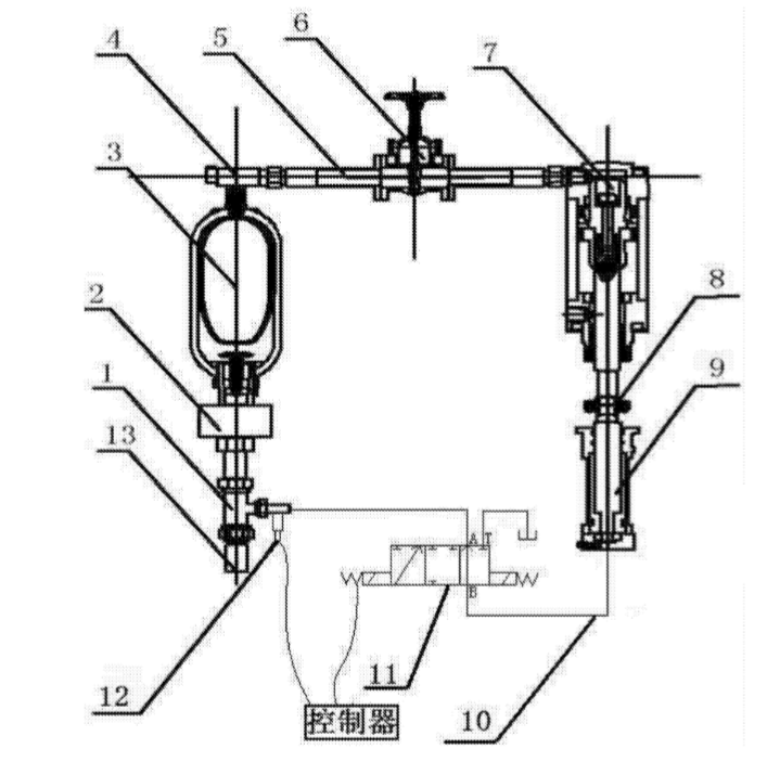
2.2输入输出可控式蓄能器结构及工作原理 6
2.3输入输出可控式蓄能器功用 7
2.4蓄能器应用设计计算 8
2.4.1蓄能器工作过程 8
2.4.2蓄能器总容积及有效工作容积计算 9
2.4.3蓄能器充气压力及工作压力的选取 11
2.5输入输出可控式蓄能器性能参数计算 11
2.6本章小结 13
第三章 蓄能器数学模型及仿真模型的建立 14
3.1蓄能装置相关数学模型及方程的建立 14
3.1.1皮囊式蓄能器数学模型的建立 14
3.1.2气液增压缸基本方程 16
3.1.3 蓄能器储能密度方程 17
3.2AMESim介绍 20
3.2.1AMESim液压基本元素建模法 20
3.2.2液压基本元件介绍 21
3.3AMESim建模 22
3.3.1蓄能器部件建模 22
3.3.2气液增压缸建模 23
3.3.3蓄能装置总体建模 23
3.4本章小结 24
第四章 液压系统工作过程仿真分析 25
4.1蓄能装置工作过程仿真结果 25
4.1.1引言 25
4.1.2进液阶段蓄能能力可调仿真 26
4.1.3放液阶段输出可控仿真 26
4.2关键元件参数对蓄能装置的性能影响 28
4.2.1 蓄能器充气压力对蓄能装置的性能影响 29
4.2.2 增压缸活塞面积比对蓄能装置的性能影响 30
4.2.3不同的压力预设值对蓄能装置的性能影响 31
4.3蓄能装置在液压系统中的仿真 32
4.3.1进液阶段吸收液压冲击仿真 32
4.3.2放液阶段作动力源回路仿真 34
4.4本章小结 37
第五章 总结与展望 38
参考文献 40
第一章 绪论
1.1引言
液压传动是用液体作为工作介质,利用液压泵将原动机的机械能转变为液体的压力能,然后利用液压缸或液压马达,将液体的压力能转变为机械能,驱动负载,获得执行机构所需的运动速度。液压传动技术具有便于实现无极调速、传递的力和扭矩较大、工作平稳、反应快、冲击小等优点,随着科学技术和工业进程的发展,液压技术越来越广泛的应用于机械工程领域。然而,液压传动技术仍有不可避免的缺点,如工作介质易泄露,能量损失多,制造精度高,造价高等,其中能量利用率是液压传动最严重的缺点,仅有6%-30%,而随着现代社会能源危机的日益严重,如何提高液压机的能量利用率已经成为目前研究的热点。
蓄能器是液压系统中重要的储存能量和释放能量的液压元件。根据力的平衡和能量平衡原理,液压系统中的具有能量的液压油进入蓄能器,通过某种方式将液压油的压力能存储下来,在系统工作需要时再被释放出来,实现稳定和补充液压系统能量和压力的作用[1]。蓄能器可以将多余的能量暂存下来,加以经济的利用,能够降低液压系统中的能量损耗,这在有效利用能源、经济节能、安全环保等方面具有明显的效果[2]。
针对蓄能器的结构进行技术改进,能够实现液压系统在经济、环保、安全、可靠等方面的提高和改善,因此开展对蓄能器的研究十分必要。
1.2蓄能器的功用
蓄能器的功用是,将系统中多余的能量以某种形式存储下来,如弹簧的弹性势能、质量块的重力势能或气体的内能,当系统中的执行元件所需要的能量大于能量供给装置的时候,蓄能器内存储的能量以液压油的动能和势能形式释放出来。在储能和释能的过程中,由于蓄能器柔性机构的弹性、内部摩擦力和液体单元的往复运动,会使得系统中由于执行元件和控制元件等产生的压力脉动和液压冲击得到一定程度的衰减和减弱[3]。
在液压系统中,蓄能器有如下具体作用:作为一种辅助能源;缓冲及平衡作用;使电机平稳启动;防止液压泵出现空穴;提高系统效率;吸收压力脉动;减少压力冲击;补充泄漏;作为紧急动力源;降低液压噪声;作为热膨胀补偿器;作为液体补充装置等[4]。
1.3蓄能器的类型
蓄能器按照其内部能量的转化方式,可以大致分为弹簧式、重锤式和气体式三种[4]。 弹簧式蓄能器是在液压油进入内腔后,通过压缩弹簧将液压油的压力能转化为弹簧势能存储起来,待系统压力降低需要时释放出去。其结构简单,成本较低,反应灵敏,但是消除振动效果差,常用于小容量的低压系统或者作缓冲装置。
重锤式蓄能器的工作原理是,改变在密封活塞上的质量块的高度,将液压油的压力能转化为质量块的重力势能。其结构简单,压力稳定。但其安装具有局限性,易发生泄漏,受到惯性影响,控制精度差。基于上述的特性,该类蓄能器只用作暂存能量。
气体式蓄能器根据气体的波义尔定律,通过压缩蓄能器内的气体完成能量转换,当液压系统压力高于蓄能器内部压力,将液压油的压力能转化为压缩气体的内能;当系统压力低于蓄能器内部压力时,蓄能器总的油在高压气体的作用下被压出蓄能器,完成排液过程,释放能量。这类蓄能器最常见的是直接接触式、活塞式、隔膜式、气囊式。其中,皮囊式蓄能器是目前使用最广泛的类型。
1.4蓄能器的历史及研究现状
蓄能器在距今很远的古代就有所用,古代人通过将装满水的桶抬高,把机械能转化为势能,带需要时释放水桶具有的重力势能[7]。一般认为,现代液压技术的发展最早出现在18世纪末,现代液压技术的开始于1875年英国制造的第一台工业设备水压机,初期的液压技术并没有得到广泛发展,蓄能装置也比较单一简单,并没有形成完备的理论体系,没有系统的研究[2]。
在第二次世界大战期间,液压技术被用于军事上,比如舰船液压系统,那时的液压系统也出现了伺服系统。战后,液压技术作为一种高新技术由军用转为民用,后被广泛应用于各行各业中。从那以后,人们开始重视对液压控制理论和蓄能器理论的实用技术的研究,研制出了较为成熟的重锤式蓄能器弹簧式蓄能器和几种简单气体式蓄能器[7]。
在现代社会中,工业技术快速发展,液压技术也不断地与时俱进发展,新蓄能器的类型层出不穷。到目前为止,蓄能器的种类、结构、形式及功能已经有了很多改变,呈现多样化发展,伴随着计算机软件、硬件及新型控制技术的发展,液压系统和智能型液压元件的研究有了更加先进的工具和方法。
近年来,液压技术的不断创新发展应用,对蓄能器的性能要求愈来愈高,国内外研究人员对此进行了大量研究,并取得了一系列新型蓄能器成果。目前关于新型蓄能器研究方向有以下几个方面:
以上是毕业论文大纲或资料介绍,该课题完整毕业论文、开题报告、任务书、程序设计、图纸设计等资料请添加微信获取,微信号:bysjorg。
相关图片展示:









