小型四座电动轿车车身设计及有限元分析毕业论文
2020-02-17 11:09:43
摘 要
随着近年来全球燃油车的保有量暴增,世界油价的不断攀升,全球环境污染的日益严峻,传统的燃油汽车已经不能满足人们对更高品质生活的需求以及成为全球各国解决石油危机的有效途径。上世纪70年代全球三次石油危机爆发后,各跨国汽车公司先后开始研发各种类型的电动汽车。我国经过经过“八五”、“九五”、“十五”三个五年计划,在研发电动汽车的专项上投入了大量的人力物力和财力,并取得一系列的科研成果。而在电动汽车的研发上,汽车车身作为传统燃油汽车四大总成部分之一,在电动汽车的动力性,安全性上同样起着至关重要的作用。现代电动车的车身与传统燃油车的设计类似,虽然整车结构和布置方式的有所改变,但是基本框架和整体造型仍然可以沿用传统燃油汽车的设计方式,有些现代汽车生产线甚至可以直接将燃油车的车身稍微改动即可作为电动车的车身的生产线。本文通过研究目前市场上已经量产的电动车型,参考其中典型车型,利用CATIA软件强大的曲面设计模块和三维零件设计,设计一款电动汽车造型,并利用ANSYS软件进行有限元分析校核车身的强度,整体着重于现代车身开发流程中的工业设计过程。
关键词:车身结构设计;造型;CATIA;有限元分析
Abstract
With the rapid increase of global fuel vehicle ownership in recent years, the rising world oil prices and the increasingly severe global environmental pollution, the traditional fuel vehicle has been unable to meet the needs of people for a higher quality of life and the effective way to solve the oil crisis in all countries. After the outbreak of three global oil crises in the 1970s, multinational automobile companies began to develop various types of electric vehicles. After the "Eighth Five-Year Plan", "Ninth Five-Year Plan" and "Tenth Five-Year Plan", China has invested a lot of manpower, material and financial resources in the research and development of electric vehicles, and has achieved a series of scientific research results. In the research and development of electric vehicles, automobile body, as one of the four major components of traditional fuel vehicles, also plays a vital role in the power and safety of electric vehicles. The body design of modern electric vehicle is similar to that of traditional fuel vehicle. Although the structure and layout of the whole vehicle have changed, the basic frame and overall shape can still follow the traditional design of fuel vehicle. Some of them can even be used as the body of electric vehicle by slightly changing the body of fuel vehicle. This paper designs an electric vehicle model by researching the mass-produced electric vehicles on the market, reference to typical models, using the powerful surface design module and three-dimensional parts design of CATIA software, and using ANSYS software to check the body, focusing on the industrial design process in the modern body development process.
Key words: car body structural member design; modelling; CATIA; finite element analysis
目录
摘 要 I
Abstract II
第1章 绪论 1
1.1 研究背景 1
1.2研究纯电动汽车的意义 1
1.3国内外研究现状 1
1.3.1国外研究现状 2
1.3.2国内研究现状 2
1.4课题的研究内容 2
第2章 四座电动轿车车身总布置设计 3
2.1车身布置设计内容 3
2.2车身内部空间的布置 3
2.2.1车身三维坐标系 3
2.2.2 H点的确定 4
2.2.3人体模型 5
2.2.4座椅的设计 6
2.3电动机与电池的布置 6
2.3.1电动汽车驱动方式简介与布置 7
2.3.2电池的选择和布置 7
第3章 电动轿车车身整体造型设计 9
3.1 CATIA软件曲面设计模块简介 9
3.2 部分结构的建模过程 9
3.2.1车身侧围 10
3.2.2车身前部 12
3.3.3车身尾部模型 13
3.3.4整车模型 14
3.3.5座椅的模型 14
3.3.6车轮模型的建立 15
第4章 车身的强度分析 16
4.1有限元法的基本思想 16
4.2车身结构几何模型的简化 17
4.2.1 车身骨架建立 17
4.2.2材料属性 18
4.3网格划分 19
4.4 车身骨架结构的有限元静力学分析 19
4.4.1 弯曲工况 19
4.4.2 扭转工况 21
参考文献 23
致谢 24
第1章 绪论
研究背景
自从第二次工业革命之后,内燃机的出现推动了石油开采业的发展和石油化工工业的生产。然而,石油作为一种不可再生资源,随着人类的过度开采,目前全球的石油储量已然不能再支撑人类使用百年。同时燃烧化石能源增加了CO2及各种污染物的排放,使得全球范围内不断出现极端环境问题,不符合环境持续友好发展。化石能源的日益短缺,环境问题的日益突出以及不断发展的科技技术使人们不断追求更高的生活品质。这一切给正在发展转折期的传统燃油车行业指明了一条发展道路--新能源汽车。自上世纪70年代全球三次石油危机爆发后,世界各跨国汽车公司先后开始研发各种类型的新能源汽车,比如日产的LEAF聆风纯电动汽车、奔驰公司的smart电动版、宝马公司的宝马i3等。汽车作为我国国民经济的支柱行业,一直都受到极大的重视。近年来,我国同样重视新能源汽车的研发工作,作为新能源汽车中发展前景广阔的一种--电动汽车,我国在其研发专向上投入了大量的研究人员和研发基金,国内各大高校也纷纷响应国家相关政策进行有关电动汽车的研究,并取得了一系列的研究成果。2017年,我国新能源汽车销量达到77.7万辆,累计保有量达到160万辆,销量和累计保有量均占到全球的50%份额;而在2018年1-11月份,全球的新能源乘用车销量达到168万台,同比2017年增长达到58%,中国新能源乘用车18年1-11月总体销量达到85万辆,在世界销量上占到56%的份额。从数据上可以看出全球各国都在致力于新能源汽车的研发,而我国也正在成为全球最大的新能源汽车市场。
1.2研究纯电动汽车的意义
各国如此致力于新能源汽车,尤其是电动汽车的研发,主要是因为电动汽车相较于传统燃油汽车而言,有着巨大的优势。首先,如果大量使用电动汽车,将会在未来逐步替代大功率大排量的燃油车,这将会大大降低城市二氧化碳等碳排放物的含量,减轻城市的环境压力,提高城市的空气质量以及生活水平。其次,传统燃油汽车的燃烧效率低,机械的传动效率低下,而电动汽车不仅电机效率会比热机的高,其传动系统也能更加简化,机械传动效率高,整车的质量更轻,噪声更低。最后,随着现代网络高新技术的发展、物联网的交叉学科的发展、高性能新材料的诞生及电子、电机和计算机技术的广泛应用,也极大促进了电动汽车自身技术的更新与发展,电动汽车正在世界范围迎来一个全新的发展时期。由此来看,不论是在国家工业战略发展方向还是人民日常生活来看,发展电动车都具有巨大的战略意义。
1.3国内外研究现状
1.3.1国外研究现状
Yuting Cheng等提出了一种改进的基于协同优化的白车身前部结构多学科设计优化框架。整体式电池电动汽车车身结构基线设计的有限元分析结果表明,考虑到正面碰撞性能,车身前部需要进行优化设计。Agus Makhrojan等利用FEM(有限元法)进行负载时获得了城市电动车的底盘仿真结果,通过静态载荷模拟单体壳框架,分析其可用性。
1.3.2国内研究现状
国内部分学者很早就进行过电动汽车造型设计方面的研究,王海洋在插电式电动汽车车身造型设计研究一文中分析了车身结构对车身整体造型的影响,从轻量化、低风阻、散热性、安全性四个方面分析其技术需求[1],武汉理工大学的诸葛晓宇利用计算机辅助造型技术针对单人电动汽车的造型进行实例开发,完成A级曲面模型的初级构建和评估过程[2],雷正保、李铁侠、王瑞等在电动汽车车身设计中考虑碰撞相容性和正面碰撞安全性的问题,以在约束条件下吸收碰撞能量最大化为优化目标,对车身结构进行多工况概念设计,从而确定出合理的电动汽车车身布局[3]。东南大学的刘鲁军通过研究目前市面上比较主流的电动汽车及各大汽车品牌的电动概念汽车车身造型设计趋势,确定出若干车身造型方案,然后利用FLUENT软件对得出的设计方案进行空气动力学性能计算分析,最后得出最为符合轻量化、低风阻要求的车身造型设计方案[4]。依志国、贾旭东、栾英林等从车身主断面设计、CAE仿真分析、尺寸工程三大关键要素确立设计过程[5]。湖南大学的涂小春以车身结构总体尺寸及A面模型为基础,建立纯电动车身拓扑空间三维几何模型,并对车身进行考虑多种碰撞工况、顶压、多种刚度工况等多学科拓扑优化,确定车身载荷的主要传递路径。
1.4课题的研究内容
本文参考车身逆向工程设计方法,通过研究市面上的小型四座电动汽车造型,探讨出车身开发流程中工程设计的一般流程,具体工作包括如下:
- 四座电动轿车车身内部空间的布置;
 - 利用CATIA软件的曲面设计模块对整车的造型设计;
 - 建立车身骨架模型并简化模型;
 - 建立车身骨架的有限元模型,确定载荷、约束条件和实验工况,在实验工况下对车身强度进行分析。
 
第2章 四座电动轿车车身总布置设计
2.1车身布置设计内容
车身布置设计之前首先要确定整车总布置,在布置过程中各大部门协调工作,要根据各大总成的大小尺寸进行确定,主要内容包括对车身基本尺寸、前后轮罩、A柱B柱C柱、车窗的确定以及汽车行李箱空间和位置、燃油车需要考虑到发动机舱的空间等,车身内部则主要是仪表台、三个踏板的位置行程确定以及座椅行程设计,通过进行布局达到汽车安全性能指标和整车的性能时,还能使汽车内部空间达到令人舒适的程度。车身布置后主要考虑的安全性能有乘坐舒适性、车身的密封隔热和隔声性、视野性、安全性、上下车的方便性以及驾驶员的操纵方便性等。在基本尺寸方面此次参考的车型尺寸如下表2.1
表2.1 参考车型基本尺寸
车身尺寸 汽车品牌  | 车身长度(mm)  | 车身宽度(mm)  | 车身高度(mm)  | 前轮距(mm)  | 后轮距(mm)  | 
逸动新能源  | 4740  | 1820  | 1530  | 1548  | 1559  | 
比亚迪秦pro新能源  | 4765  | 1837  | 1515  | 1580  | 1580  | 
特斯拉Model 3  | 4694  | 1850  | 1443  | 1580  | 1580  | 
此次设计参照市面上的电动车的主要车身尺寸,初步可以将车身的基本尺寸定为4630*1650*1450。
2.2车身内部空间的布置
车身内部的布置对于驾驶人员而言至关重要,首先必须要考虑到的就是驾驶员操纵时的方便性及受到碰撞时车身能否起到保护作用,其次可能还需让车身内部布置合理看起来美观,布置的空间是否合理也会影响到其他乘员的乘坐体验。车身内部空间的布置内容繁多,主要包括前后座椅的位置布置,离合、制动和加速踏板的布置,操纵换挡杆的布置,操纵仪表盘的布置,车内后视镜的位置等内容。一般的车身内部布置流程为先利用车身布置设计工具包括人体模型H点装置建立车身内部的基准点和尺寸,利用这些关键基准点、基准线和姿态角确立H点的水平和垂直调节行程等。还有后面需要确定的眼椭圆、头廓包络线和手伸及界面等进行定位时,也需要确立H点装置上的一些关键基准点。
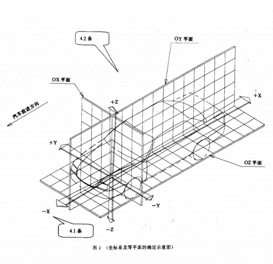
2.2.1车身三维坐标系
在车身坐标系中,X代表汽车的前后方向,Y代表了汽车的左右方向,Z代表了上下方向,三个方向的零平面选取原则如图2.1所示:

图2.1 坐标系及零平面的确定示意图
确定了三个零平面后,在进行车身总布置绘图时需要在图纸上确定X、Y、Z三个方向的零线,零线的位置与零平面相关。OX平面、OY平面和OZ平面相交于零点,OY与OZ相交线为X坐标线,向着车头为负,向着车尾为正;OX与OZ相交线为Y坐标线,向左为正,向右为负;OX与OY相交线为Z坐标线,向上为正,向下为负。在图纸上一般以100为间距画出网格线进行车身布置总图的绘制。
2.2.2 H点的确定
在确定驾驶人员和乘客在座椅中位置时,一个通用的参考方式利用是身体躯干与大腿相连的旋转点“胯点”,我们把在实际车辆中测得到的“胯点”称为H点。现代汽车车身设计中确定H点时会用到H点装置,H点装置包括H点测量装置(H Point Machine, HPM)和H点设计工具(H-Point Design Tool,HPD)。使用H点装置可以得到关键基准点和姿态角等重要参数,如图2.2所示

以上是毕业论文大纲或资料介绍,该课题完整毕业论文、开题报告、任务书、程序设计、图纸设计等资料请添加微信获取,微信号:bysjorg。
相关图片展示:





![C:\Users\李都\AppData\Roaming\Tencent\Users\766004659\TIM\WinTemp\RichOle\_T{BI)%BXABQFN[H]}5A$_L.png](http://www.biyelunwen.org/wp-content/uploads/2020/02/lw5929_20202171194135.png)


        
            
