淮安某电子产业园E区3号办公楼设计毕业论文
2020-05-19 21:29:25
摘 要
本工程为淮安某电子产业园E区3号办公楼设计,采用框架结构,主体为四层,本地区抗震设防烈度为7度,近震,场地类别为II类场地。主导风向为西南,基本风压0.35KN/m2。楼﹑屋盖均采用现浇钢筋混凝土结构。
本设计贯彻“实用、安全、经济、美观”的设计原则。按照建筑设计规范,认真考虑影响设计的各项因素。根据结构与建筑的总体与细部的关系。
在确定框架布局之后,先进行了层间荷载代表值的计算,进而按底部剪力法计算水平地震荷载作用下大小,进而求出在水平荷载作用下的结构内力(弯矩、剪力、轴力)。接着计算竖向荷载(恒载及活荷载)作用下的结构内力。是找出最不利的一组或几组内力组合。 选取最安全的结果计算配筋并绘图。此外还进行了结构方案中的室内楼梯的设计。完成了平台板,梯段板,平台梁等构件的内力和配筋计算及施工图绘制。对楼板进行了配筋计算,本设计采用独立基础,对基础进行了受力和配筋计算。
整个结构在设计过程中,严格遵循相关的专业规范的要求,参考相关资料和有关最新的国家标准规范,对设计的各个环节进行综合全面的科学性考虑。总之,适用、安全、经济、使用方便是本设计的原则。设计合理可行的建筑结构方案是现场施工的重要依据。
关键词: 框架结构;抗震设计;荷载计算;内力计算;计算配筋
ABSTRACT
This works for the city of Huaian multistory frame office building, a framework structure for a five-storey main, in the region earthquake intensity of 7 degrees near Lan site classification as Class II venues. Led to the southwest direction, the basic Pressure 0.35KN/m2. Floor roof were using cast-in-place reinforced concrete structure.
The design and implement "practical, security, economic, aesthetic," the design principles. With the architectural design, design seriously consider the influence of the various factors. According to the structural and architectural detail and the overall relationship.
In determining the distribution framework, the first layer of representative value of the load, Then use vertex from the displacement method for earthquake cycle, and then at the bottom of shear horizontal seismic load calculation under size, then calculated the level of load under the Internal Forces (bending moment, shear and axial force). Then calculate vertical load (constant load and live load) under the Internal Forces. Identify the most disadvantaged group or an internal force several combinations. Select the best safety results of the reinforcement and Mapping. In addition, the structure of the program indoor staircase design. Completion of the platform boards, boards of the ladder, platform beam component and the reinforcement of internal forces calculation and construction mapping. On the floor reinforcement calculation, the use of pile foundation design, foundation and pile caps for the force and reinforcement calculation.
KEY WORDS: Frame Structure,;Seismic Design;Load Calculation;Internal force calculation;Calculation reinforcement
目 录
摘要 2
ABSTRACT 3
1.建筑设计说明 8
1.1建筑平面图 8
1.2建筑立面图 8
1.3建筑剖面图 8
2结构设计说明及设计方法和要求 9
2.1建筑概况 9
2.2设计依据 9
2.3设计资料 9
2.4结构设计方案和布置 10
2.5构件初估 11
2.5.1 梁截面尺寸估算 11
2.5.2柱截面尺寸估算 11
2.5.3楼板厚度确定 12
2.6 基本假定与计算简图 12
2.6.1 基本假定 12
2.6.2 计算简图 12
2.7 荷载计算方法 12
2.7.1侧移计算及控制 13
2.7.2竖向荷载下的内力计算 13
2.7.3水平荷载下的计算 13
2.7.4内力组合 13
2.8基础设计 13
2.9施工要求及其他设计说明 14
2.9.1 施工材料 14
2.9.2 其他设计说明 14
3 荷载统计 15
3.1本设计结构布置及计算简图 15
3.2荷载计算 16
3.2.1恒荷载标准值计算 16
3.2.2活载标准值计算 17
3.2.3竖向荷载计算 18
4水平荷载作用及内力计算 23
4.1框架侧向刚度计算 23
4.1.1梁线刚度计算 23
4.1.2柱线刚度计算 23
4.1.3柱横向侧移刚度计算 23
4.2地震作用下框架的内力计算 24
4.2.1 水平地震力计算 24
4.2.2 水平地震位移计算 25
4.2.3楼层地震剪力 25
4.2.4楼层剪力分配 25
4.2.5 反弯点及内力计算 26
4.3 风荷载作用下框架内力计算 27
4.3.1 风荷载作用计算 27
4.3.2 风荷载作用下内力计算 28
5竖向荷载作用下框架内力计算 31
5.1恒载下梁柱端弯矩、剪力及轴力计算 31
5.1.1梁端固定弯矩计算 31
5.1.2弯矩二次分配法计算竖向恒载下框架内力 31
5.1.3梁柱端剪力及柱轴力计算 33
5.2活载下梁柱端弯矩、剪力及轴力计算 35
5.2.1梁端固定弯矩计算 35
5.2.2弯矩二次分配法计算竖向恒载下框架内力 35
5.2.3梁柱端剪力及柱轴力计算 37
6内力组合 39
6.1结构的抗震等级 39
6.2框架梁柱内力组合 39
7截面设计 43
7.1梁配筋计算 43
7.1.1梁正截面受弯承载力计算 43
7.1.2梁斜截面受剪承载力计算 44
7.2柱配筋计算 44
7.2.1柱正截面承载力计算 44
7.3楼板设计 45
7.3.1 X向底板配筋 45
7.3.2 Y向底板配筋 46
7.3.3X向支座配筋 46
7.3.4Y向支座配筋 47
7.3.5电算楼板计算书 47
8.楼梯设计 49
8.1楼梯板设计 49
8.1.1荷载计算 49
8.1.2配筋计算 50
8.2平台板设计 50
8.2.1荷载计算 50
8.2.2配筋计算 51
8.3平台梁设计 51
8.3.1荷载计算 51
8.3.2配筋计算 52
9基础设计 53
9.1基础选型 53
9.2边柱基础计算 53
9.2.1基底选型 53
9.2.2地基承载力验算 53
9.2.3基础抗冲切验算 54
9.2.4配筋计算 54
参考文献 58
1.建筑设计说明
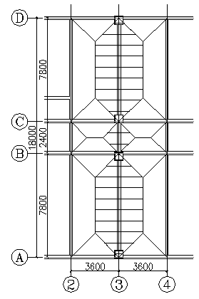
本工程位于江苏省淮安市,为办公楼。实际工程的建筑层数为4层,建筑平面长宽36m×18m,底层层高4.0m,其它层3.3m。结构形式为3跨框架结构。建筑结构安全等级为二级,设计使用年限为50年。
1.1建筑平面图
用一个假象的水平剖切面,在房屋的窗台上方剖开整栋房屋,移去剖切面上面的章,将留下向水平投影面投影所得到的水平剖视图。建筑平面图包含被切刀的断面、可见的建筑配件的设置情况。它是墙体砌筑、门窗安装和室内装修的重要依据。底层地面需反映出室外台阶、散水等,其他各层除应表示本层情况外,还需反映出下一层平面图未反映的可见建筑物构件。
1.2建筑立面图
它是房间各个方向的外墙面以及按投影方向可见的构配件的正投影图。有定位轴线的建筑物,宜根据两端定位轴线号编注立面图名称。建筑物立面时用来反映房屋的体型和外貌、门窗形式和位置、墙面装饰材料等的图样。
1.3建筑剖面图
它是假想用一个垂直于横向或纵向轴线的竖直平面剖切房屋所得正投影图,反映门窗洞口及窗台高度以及简要的结构形式和构造方式等情况,剖切面的剖切位置,应选在能反应房间全貌构造特征以及有代表性的部位,一般应显示楼梯,并在底层平面中表示。集体设计图详见建筑图
2结构设计说明及设计方法和要求
2.1建筑概况
淮安某电子产业园E区3号办公楼设计,建筑面积3240m2,层数4层,总高=16.9米。
建筑场地类别为Ⅰ类,地基基础设计等级为丙级;抗震设防烈度为7度(基本地震加速度为 0.10 g),设计地震分组为第二组。
相关图片展示:









