昆山市某镇养老院2#养老楼设计毕业论文
2020-04-20 13:48:50

毕业设计(论文)计算书
课题名称 |
昆山市某镇养老院2#养老楼设计 |
院 (系) | 土木工程学院 |
专 业 | 土木工程 |
姓 名 | 牛文帅 |
学 号 | 1801150832 |
起讫日期 | 2019.2.28-2015.5.31 |
指导教师 | 尤翔、马勇、白春玲、霍瑞丽 |
2019 年 2 月 28
结构设计
1.1结构选型
本工程为钢筋混凝土框架结构,由于框架柱隔跨布置,开间较大。故应设置次梁。基础采用预制混凝土桩基础,预制桩顶设置独立承台;楼梯布置在建筑两侧靠边的开间,电梯布置于建筑中间的开间,如图1-1;柱网布置方式为内廊式。
1.2结构布置
选择合理的楼盖类型。详见第7章。
图1- 1 结构平面图
1.3已知条件
题目:昆山市某镇养老院2#养老楼设计
根据建筑方案图,本工程结构为五层钢筋混凝土框架,建筑面积约4615.9 m2,其它条件如下:
1、气象资料
(1)基本风压值: W0 = 0.45 kN/m2
(2)基本雪压值: S0 = 0.40 kN/m2
荷载计算
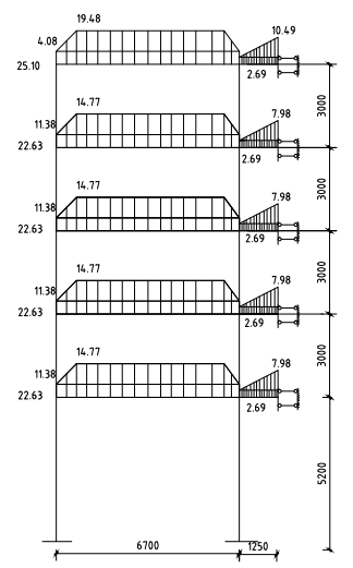
2.1 确定计算简图
柱子的高度底层为 |
点刚接,横梁的计算跨度取梁柱中心线至中心的间距,三跨的计算跨度分别为: |

图2-1 计算简图
2.2 梁柱截面尺寸
- 框架柱:均采用
。 - 梁:AB,BC跨
,BC跨
,纵向框架次梁
|
2.3 荷载计算
2.3.1 屋面横梁竖向线荷载标准值
- 永久荷载
屋面永久荷载标准值
35mm厚架空隔热板 
防水层 0.4
20
厚1:2.5水泥砂浆找平层 
120(100)mm厚钢筋混凝土现浇板 

12厚纸巾石灰粉平顶 
屋面永久荷载标准值 4.87

梁自重
边跨AB,CD跨 
侧梁粉刷 
4.08
中跨BC跨 
侧梁粉刷 
2.69
作用在顶层框架梁上的线恒载标准值为
梁自重 
板传来的荷载 

- 活荷载
作用在顶层框架梁上的线活荷载标准值为


- 楼层横梁竖向线荷载标准值
- 永久荷载
25mm厚水泥砂浆面层 
120(100)mm厚钢筋混凝土现浇板 

12厚板底粉刷 
楼面永久荷载标准值 

边跨(AB,CD跨)框架梁自重 
横墙自重
中跨(BC跨)框架梁自重 
作用在楼面层框架梁上的线荷载标准值为


板传来的荷载 

- 活荷载
楼面活荷载


- 屋面框架节点集中荷载标准值
- 永久荷载
边跨纵向框架梁自重 
粉刷 
1.3m高女儿墙 
粉刷 
纵向框架梁传来的屋面自重 
次梁传来的集中荷载 
顶层边节点集中荷载 
中柱纵向框架梁自重 
粉刷
纵向框架梁传来的屋面自重 

次梁传来的集中荷载 
顶层中节点集中荷载 
- 活荷载


- 节点集中荷载标准值
- 永久荷载
边柱纵向框架梁自重 
粉刷 
钢窗自重
窗下墙体自重 
粉刷 
以上是毕业论文大纲或资料介绍,该课题完整毕业论文、开题报告、任务书、程序设计、图纸设计等资料请添加微信获取,微信号:bysjorg。
相关图片展示:








,二至五层的柱高为3
.柱节
.计算简图如下所示。

