启东滨江实验学校初中宿舍楼设计毕业论文
2020-04-19 21:22:08
摘 要
1、结构选型与布置 3
2、框架荷载计算 8
1.1、屋面横梁竖向线荷载标准值 9
1.2、楼面横梁竖向线荷载标准值 10
1.3、屋面框架节点集中荷载标准值 10
1.4、楼面框架节点集中荷载标准值 11
1.5、风荷载 12
1.6、地震作用 13
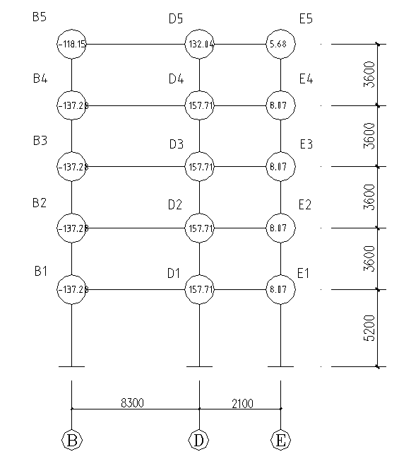
3.框架内力计算 20
3.1、弯矩分配系数 20
3.2、杆件固端弯矩 23
3.3、活载作用下的框架内力 28
3.4、风荷载作用下内力计算 30
3.5、地震作用下横向框架的内力计算 36
3.6、地震作用下横向框架的内力计算 38
4、框架内力组合 40
4.1弯矩调幅 40
4.2内力组合 42
5、框架梁柱截面设计 57
6、楼梯结构设计 91
6.1、楼段版计算 91
6.2、休息平台板计算 92
6.3、梯段梁TL1计算 93
7、现浇楼面板设计 95
7.1、A区格 95
7.2、区格 96
7.3、区格 98
8、基础设计 100


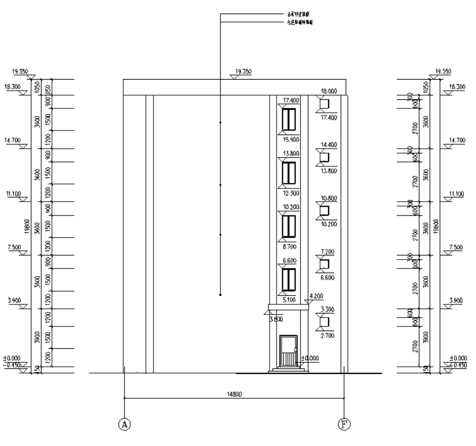
图1-1建筑平面图


图1-3 东立面

2、框架荷载计算


图2.1 计算简图 图2.2荷载计算简图
(a)永久荷载用作用下结构计算简图

(b)活载作用下结构计算简图
1)永久荷载
屋面永久荷载标准值
APP改性沥青防水层 0.30kN/m2
20mm厚1:2.5水泥砂浆找平层 0.40kN/m2
120mm厚钢筋混凝土现浇板 0.12×25=3kN/m2
100~140厚(2%找坡)膨胀珍珠岩保温层 
12厚纸筋石灰粉平顶 0.192kN/m2
屋面永久荷载标准值 4.752kN/m2
梁自重 0.3×0.8×25=6kN/m
梁侧粉刷 2×(0.8-0.12)×0.02×17=0.46kN/m
6.46kN/m
作用在顶层框架梁上的线恒荷载标准值为
梁自重 
板传来的荷载 
活荷载
顶层框架梁的活荷载 
2)楼面横梁竖向线荷载标准值
(1)永久荷载
25mm厚水泥砂浆面层 0.025×20=0.50kN/m2
120厚钢筋混凝土现浇板 0.12×25=3kN/m2
12厚板底粉刷 0.12×16=0.192kN/m2
永久荷载标准值 3.692kN/m2
作用在楼面层框架梁上的线荷载标准值为
梁自重 
板传来的荷载 
墙自重 
活荷载
楼面活荷载 
3.屋面框架节点集中荷载标准值
(1)永久荷载
边跨纵向框架梁自重 0.3×0.8×3.9×25=23.4kN
粉刷 2×(0.8-0.12)×0.02×3.9×1.7=1.80kN
1.05m高女儿墙 1.05×3.9×2.36=5.52kN
粉刷 1.05×2×0.02×3.9×17=1.6
纵向框架梁传来屋面自重 (3.9-1.7 3.9×1.7/4×4.753=12.32kN
顶层边节点集中荷载 G5E=G5B=44.64kN

中柱纵向框架梁自重 0.3×0.8×3.9×25=23.4kN
粉刷 1.80kN
纵向框架梁传屋面自重 (3.9-2.1 3.9)×2.1/4×4.752=14.22kN
顶层中节点集中荷载 G5D=39.42kN
(2)活荷载

2.4、楼面框架节点集中荷载标准值
(1)永久荷载
边跨纵向框架梁自重 23.4kN
粉刷 1.80kN
钢窗自重 2.1×2.1×0.4=1.76kN
(3×2.1×0.4=2.52kN)
窗下墙体自重 3.9×1.2×2.36=11.04kN
粉刷 2×3.9×1.2×0.02×17=3.18kN
窗边墙体自重 2.1×(3.9-2.1)2.36=8.92kN
(2.1×(3.9-3)×2.36=4.46kN)
粉刷 1.84kN
(0.92kN)
纵向框架梁传来屋面自重 (3.9-1.7 3.9×1.7/4×4.753=12.32kN
(11.05kN)
墙体自重 B、D节点:3.9×3.6×2.36=33.13kN
中间层边节点集中荷载 G4B =94.64kN
G4E=91.5kN
框架柱自重 GB`=GD`=GE`=22.5kN
中柱纵向框架梁自重 23.4kN
粉刷 1.80kN
纵向框架梁传来屋面自重 11.09kN
内墙自重 (3.9-0.5)×(3.6-0.6)×2.36=24.07kN
粉刷 6.936kN
中间层中节点集中荷载 柱传来集中荷载GD=61.02kN
柱自重 GD=22.5kN
(2)活载


2.5、风荷载
已知风压
地面属于B类,
,风载体型系数
:迎风面为0.8;背风面为-0.5。因结构高度<30m,取风振系数
。

风荷载计算 | |||||||
层次 | β | μ | Z(m) | μ | ω | A(m2) | Pi(kN) |
5 | 1.0 | 1.3 | 3.6 | 1.13 | 0.5 | 9.36 | 6.87 |
4 | 1.0 | 1.3 | 3.6 | 1.067 | 0.5 | 14.04 | 9.74 |
3 | 1.0 | 1.3 | 3.6 | 1.0 | 0.5 | 14.04 | 9.13 |
2 | 1.0 | 1.3 | 3.6 | 1.0 | 0.5 | 14.04 | 9.13 |
1 | 1.0 | 1.3 | 3.9 | 0.6 | 0.5 | 14.63 | 5.71 |

- 建筑物总重力荷载代表值Gi的计算
50%雪载 0.5×0.2×(47.4×14.9-31.4×2.7)=621.48kN
板上荷载:
屋面永久荷载 621.48×4.732=2940.8kN
梁自重:
横向梁 6.46×12.1×3 6.46×14.8×4 4.08×10.4×6=913.14kN
纵向梁 25.2×44 14.63×12=1284.36kN
柱自重 0.5×0.5×25×1.8×25=281.25kN
隔墙自重
横墙 2.36×{2.7×1.8×6 [2.1×1.8-0.9×2.1/2]×2 8.3×1.8×13 1.7×18×19}=671.16kN
纵墙 473.86kN
钢窗 (2.1×2.1×12 3×2.1×7)×0.4×0.5=19.4kN
女儿墙: 0.6×2.36×(47.4×2 14.9×2 2.7×2)=184.08kN
G5=7389.53kN
- 集中于三、四层处的质点重力荷载代表值G4~G2
50%楼面活载 0.5×(47.4×10.5×2 2.7×8×2×2 1.7×47.4×2.5 3.9×2.7×7)=678.48kN
板上荷载:
以上是毕业论文大纲或资料介绍,该课题完整毕业论文、开题报告、任务书、程序设计、图纸设计等资料请添加微信获取,微信号:bysjorg。
相关图片展示:











