武汉市江夏区汇伟电子公司办公大楼结构设计毕业论文
2020-03-25 08:25:36
摘 要
本设计主要讲述了武汉市江夏区汇伟电子公司办公大楼结构设计的设计过程,它为钢筋混凝土框架结构。共六层,底层层高4.2米,其他层层高均为3.6米。建筑物总高度为25.2米。
本办公楼属于建筑中的民用筑类,在设计计算的过程中,我严格按照建筑设计规范的要求,并且参考了另外的相关书籍,在毕设老师的指导下完成本设计。其主要分为两大部分:
第一部分为建筑设计。我依据任务书的相关要求,查阅了建筑设计规范要求,在老师的指导下,综合考虑了建筑物的使用功能,基地环境,安全隐患及建筑艺术等问题,解决建筑物的空间布局,完成了以下几方面的设计:建筑布局,基本单元设计,公共部分设计,空间组合设计,屋面设计,建筑立面设计等等。
第二部分为结构设计。我在结构设计的过程中,完成了结构选型,侧移刚度的计算,荷载计算,恒荷载作用下的内力计算和活载作用下的内力计算,风荷载,地震荷载的内力计算,荷载和内力组合,配筋计算,楼梯设计以及基础设计等内容。该建筑的抗震设防烈度为6度,在计算过程中,考虑水平地震作用和风荷载对横向框架的影响,采用D值法计算内力。竖向荷载作用下,横向框架内力计算采用分层法计算,而内力组合比较了竖向荷载组合和竖向荷载与地震力组合时对框架梁,柱产生的不利影响,取两者中较大值对框架梁,柱进行截面设计,并且严格按照“强柱弱梁,强剪弱弯”的设计原则。
关键词 钢筋混凝土;框架;结构设计
ABSTRACT
This design mainly tells the Wuhan City Jiangxia Wei electronics company office Building design process, it is reinforced concrete frame structure. A total of six layers, the bottom layer 4.2 meters high, the other layers are 3.6 meters high. The total height of the building is 25.2 meters.
The office building belongs to the civil construction in the building, in the process of design calculation, I strictly in accordance with the requirements of architectural design standards, and reference to other related books, under the guidance of teacher to complete the design. It is mainly divided into two parts:
The first part is architectural design. According to the requirements of the tast book, consult the design requirements, under the guidance of teachers, comprehensive consideration of the use of the building function, base environment, security risks and architectural art issues, to solve the space layout of buildings, completed the following aspects of the design: building layout, basic unit design, the public part of the design, Space combination design, roofing design, building façade design and so on.
The second part is structure design. In the process of structural design, I finished the structure selection, calculation of lateral stiffness, load calculation, internal force calculation under constant load and internal force calculation under live load, wind load, internal force calculation of earthquake load, load and internal force combination, reinforcement calculation, stair design and basic design etc. The seismic fortification intensity of the building is 6 degrees, in the process of calculation, the effect of horizontal earthquake and wind load on transverse frame is considered, and the internal force is calculated by D-value method. Under the action of vertical load, the internal force of transverse frame is calculated by stratified method, and the combination of vertical load and vertical load combined with seismic force is compared to the frame beam, the negative effect of the column, take the larger value of the frame beam, column section design, and in strict accordance with the "strong pillar weak beam, strong shear weak bending" design principles.
Keywords reinforced concrete; frame; Structural design
目录
第1章 绪论
1.1. 设计依据
1.2. 设计基本内容
第2章 结构选型
2.1. 柱网布置
2.2. 框架结构承重方案选择
2.3. 计算单元选取
2.4. 梁、柱截面尺寸的初步估计
2.4.1. 梁截面初选
第3章 侧移刚度的计算
3.1. 梁线刚度计算
3.2. 柱线刚度计算
3.3. 相对线刚度计算
第4章 荷载计算
4.1. 恒荷载标准值计算
4.2. 活荷载标准值计算
4.2.1. 屋面和楼面活荷载标准值
4.3. 竖向荷载下框架受荷
4.3.1. A—B轴间框架梁
4.3.2. B—C轴间框架梁
4.3.3. C—D轴间框架梁
4.3.4.A轴柱纵向集中荷载的计算
4.3.5. B轴柱纵向集中荷载的计算
4.3.6. C轴柱纵向集中荷载的计算
4.3.7. D轴柱纵向集中荷载的计算
4.4. 风荷载计算
4.4.1. 风荷载计算
4.4.2. 风荷载作用下的位移验算:
4.5. 地震荷载计算
4.5.1. 各层重力荷载代表值计算
4.5.2. 各楼层地震力计算
4.5.3. 地震作用下侧移验算
第5章 恒荷载作用下内力计算
5.1. 节点分配系数计算
5.2. 梁的固端弯矩
5.3. 恒荷载作用下框架内力计算
5.3.1. 固端弯矩第一次分配
5.3.2. 节点不平衡弯矩二次分配
5.4. 恒荷载作用下框架内力图 29
第6章 活载作用下的内力计算
6.1. 计算分配系数
6.2. 梁的固端弯矩
6.3. 活荷载作用下框架内力计算
6.3.1. 固端弯矩第一次分配
6.3.2. 节点不平衡弯矩二次分配
第7章 风荷载、地震荷载作用下的内力计算
7.1. 风荷载作用下内力计算(D值法)
7.1.1. 框架柱反弯点计算
7.1.2. 框架柱端的剪力弯矩及梁端的弯矩计算
7.1.3. 框架梁端剪力及柱轴力计算
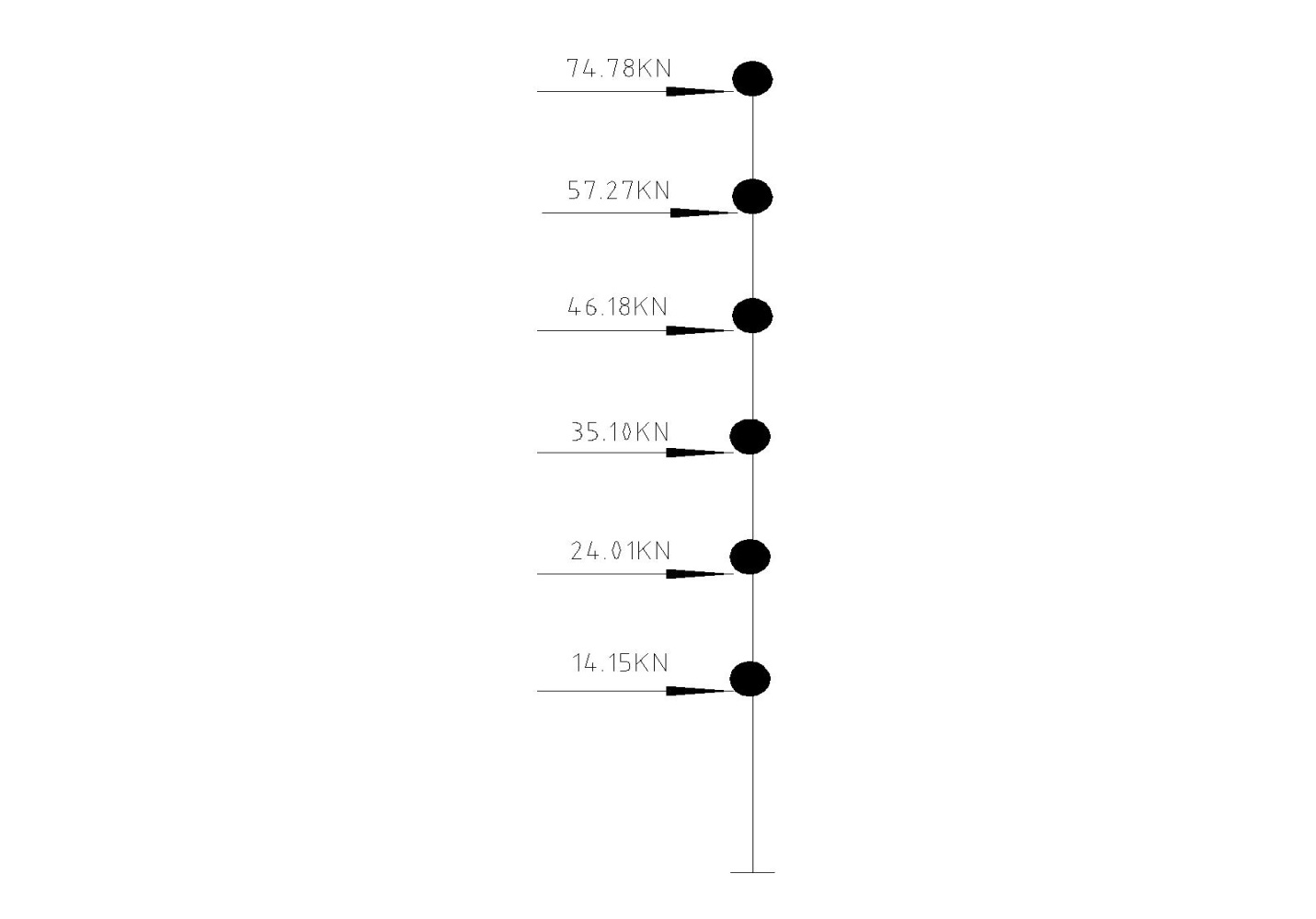
7.2. 水平地震荷载作用下内力计算(D值法)
7.2.1. 框架柱反弯点计算
7.2.2. 框架柱端的剪力弯矩及梁端的弯矩计算
第8章 荷载和内力组合
8.1. 梁截面弯矩调幅
8.2. 内力组合
8.2.1. 组合方法
8.2.2. 梁内力组合计算
8.2.3. 梁端剪力设计值计算
8.2.4. 柱的内力组合计算
8.2.5. 柱截面剪力设计值计算
第9章 配筋计算
9.1. 材料选择
9.2. 梁配筋计算
9.2.1. 梁截面配筋计算
9.2.2. 梁斜截面配筋计算
9.2.3. 裂缝宽度验算
9.3. 柱配筋计算
9.3.1. 柱轴压比验算 86
9.3.2. 截面尺寸复核 86
9.3.3. 正截面受弯承载力计算 86
9.3.4. 斜截面受弯承载力计算 86
9.3.5. 柱裂缝宽度验算
第10章 楼板设计
10.1. 基本资料
10.2. 内力计算 96
10.2.1. 荷载设计值 96
10.2.2. 内力计算 96
10.3. 配筋计算 105
第11章 楼梯设计
11.1. 基本资料
11.2. LT1计算
11.2.1. 计算过程
11.2.2. 跨中挠度验算
11.2.3. 裂缝宽度验算
11.3. LT2计算
第12章 基础设计
12.1. 基本资料
12.2. A、B、C、D柱下独立基础设计
结束语
参考文献
致谢
第一章 绪论
1.1 设计依据
拟建造一栋6层办公楼,其中建筑面积约4000 m2,层高分别为底层4.2 m,2至6层3.6 m;
- 结构形式:框架结构,建筑结构安全等级二级,地基基础设计等级乙级
 - 本工程设计使用年限50年
 - 抗震设防烈度:6度,设计基本地震加速度为0.05g,设计地震分组第一组。
 - 风荷载:基本风压0.35KPa。
 
1.2 设计基本内容
1.建筑设计部分要求正确使用设计规范、标准图集完成综合楼的建筑设计,设计中应考虑建筑方案如何满足各部分功能的要求,建筑物采光、防火、防腐等要求;并绘制一套建筑施工图。
2.结构设计部分包括结构方案确定(包括结构平面布置、确定楼板型式、基础型式),框架的荷载计算、内力计算、内力组合和结构构件的配筋计算,以及楼梯、现浇板、次梁和基础设计等,并绘制一套结构施工图。
3. 对一榀框架采用手算和电算两种方式进行荷载计算、内力计算、内力组合和结构构件的配筋计算,并对手算和电算结果作出比较。
第二章 结构选型
屋面、楼面均采用现浇钢筋混凝土肋形楼盖。
2.1 柱网布置
本办公楼标准层柱网布置图2.1所示:

图2.1 柱网布置图
2.2 框架结构承重方案选择
竖向荷载的传力途径:楼板的均布活载和恒载直接传至主梁,再由主梁传至框架柱,最后传至地基。
2.3 计算单元选取
框架结构的计算单元如图所示,取5轴上的一榀框架计算(取相邻两个柱距的各1/2宽作为计算单元)。
假定框架柱嵌固于基础顶面,框架梁与柱刚接。由于各层柱的截面尺寸不变,故框架梁等于柱截面形心轴线之间的距离。底层柱高从基础顶面算至一层楼面,基顶标高根据地质条件、室内外高差,定位-1.100m,二层楼面标高为4.200m,故底层柱高为5.300m。其余各层柱高从楼面算至上一层楼面,故均为3.6m。
框架结构的计算单元简图如图2.2所示

图2.2 框架计算单元立面示意图
2.4 梁、柱截面尺寸的初步估计
2.4.1 梁截面初选
主梁:
	       取h=500mm
    
                                   取b=200mm
柱截面初选
按轴压比要求计算,由公式 :
                
                                 (2-1)
β-- 考虑地震作用组合后柱轴压力增大系数,本设计取边跨柱取1.3,等跨内柱取1.2;
F--按简支状态计算柱的负载面积;
    
--为折算在单位面积上的重力荷载代表值,近似的取(12~15)kN/m²;
n--为验算截面以上的楼层层数。
注:[
]为框架柱轴压比限值,本方案为四级抗震等级,查《建筑抗震设计规范GB50011− 2010》取0.90。
为混凝土轴心抗压强度设计值,C30 为14.3N/mm²。
以门厅处受荷面积最大柱子为例
 
≥
综合以上计算结果并考虑其它因素取边柱和中柱截面为500mm×500mm。
主梁为200mm×500mm,次梁200mm×450mm
第三章 侧移刚度的计算
在框架结构中,现浇楼板的楼可以作为梁的有效翼缘,增大梁的有效翼缘,增大梁的有效刚度,减少框架的侧移。为考虑这一有利的作用,在计算梁的截面惯性矩的时候,对于边框架取
中框架取
(
为梁的截面惯性矩)
3.1 梁线刚度计算
 
                  
梁采用C30混凝土,
。
AB、CD跨梁:
                      
BC跨梁:
    
3.2 柱线刚度计算
    
  
    上部各层柱:
  
    底层柱: 
 
3.3 相对线刚度计算
将梁AB,CD上层各柱线刚度值作为基准值1,算得其余梁柱相对线刚度值,从而可以作出梁柱相对线刚度简图如图3.3所示。
         
图3.3 梁柱相对线刚度示意图
第四章 荷载计算
4.1 恒荷载标准值计算
屋面
20厚混合砂浆天棚抹灰                           0.02m×17KN/
=0.34kN/
130mm厚现浇板自重                             0.13m×25KN/
=3.25kN/
120mm厚焦渣找坡层                             0.12m×14KN/
=1.68kN/
以上是毕业论文大纲或资料介绍,该课题完整毕业论文、开题报告、任务书、程序设计、图纸设计等资料请添加微信获取,微信号:bysjorg。
相关图片展示:








        
            
