南京江北生态公园跨河桥-自锚式悬索桥方案毕业论文
2020-06-06 09:53:03
摘 要
本毕业设计题目为实际工程应用课题。拟建的桥梁位于南京市江北生态公园内,横跨城南河,为人行景观桥,力求美观。桥型为自锚式悬索桥桥,该跨河桥除解决城南河两岸场馆间行人和机动车交通外,也是生态公园城南河风光带上的一座重要的景观桥,是行人观赏沿河风光的重要场所。 总长度为150米,跨度90米,采用桩基础。桥面宽度为25米。最大纵坡:3.5%;车行道按城-B荷载验算;桥面横坡:不设横坡;抗震设防标准:抗震设防烈度为7度,设计分组为第一组,地震动峰值加速度为0.10g,抗震设防类别为B类;结构安全等级:二级,重要性系数取1.0。 课题要求(包括所具备的条件): 本设计题目结合实际工程制定,资料收集较齐全,适合学生实际情况。要求学生在任务书中给出的桥型方案的基础上,进行结构设计、施工工艺设计等工作;重点掌握悬索桥结构设计的基本步骤、悬索桥结构计算基本方法及悬索桥施工的基本工艺。通过人行景观桥的完整设计过程,培养学生理论联系实际的能力,即应用本科阶段所学习的力学知识、结构设计理论来解决实际工程设计中的问题,同时提高查阅设计规范、文献及使用专业软件设计的综合能力。
关键词:自锚式悬索桥 提高综合能力
Summary
The graduation project is the subject of practical engineering application. The proposed bridge is located in Jiangbei Ecological Park, Nanjing, across the city south of the river, for the people of the landscape bridge, and strive to beautiful. Bridge for the self-anchored suspension bridge, the bridge across the river in addition to the two sides of the city south of the pedestrian and motor vehicle traffic, but also eco-park Chengnan River scenery on an important landscape bridge, pedestrian watch along the river is important place. The total length of 150 meters, span 90 meters, the use of pile foundation. Bridge width of 25 meters. The maximum slope: 3.5%; roadway by city-B load check; bridge slope: no slope; seismic fortification standards: seismic fortification intensity of 7 degrees, the design group for the first group, the peak earthquake acceleration 0.10g, seismic fortification category for the B class; structural safety level: two, the importance of the coefficient to take 1.0. Requirements (including the conditions required): The design of the project with the actual project development, data collection more complete, suitable for students in the actual situation. The basic steps of the structural design of the suspension bridge, the basic method of the suspension bridge structure calculation and the basic technology of the construction of the suspension bridge are mainly grasped. The basic steps of the structural design of the suspension bridge, the basic method of the suspension bridge structure calculation and the construction of the suspension bridge are mainly carried out on the basis of the bridge scheme given in the task book. Through the complete design process of the pedestrian landscape bridge, the students' theory is combined with the practical ability, that is, the mechanics knowledge and structural design theory studied in the undergraduate stage should be used to solve the problems in the actual engineering design, and the design specifications, literature and the use of professional software Design of the comprehensive ability.
Key words: self - anchored suspension bridge to improve the comprehensive ability
目录
第一章 设计任务书 5
1、基本信息 5
2、课题要求(包括所具备的条件) 5
第二章 桥梁总体设计 6
1、已知主要参数 6
2、设计主要参数 6
3、主要结构的初步设计 7
4.桥面布置图 8
第三章 荷载计算及midas建模 9
1、恒载计算 9
2、活载计算 11
3、建立midas模型 13
第四章 内力组合分析计算 16
第五章 结构的设计与验算 18
1、主梁的计算 18
2、主缆的计算 20
3、吊杆的计算 25
4、桥塔设计 29
第六章 基础计算 32
1、地形地貌 32
2、土体地质层的划分 32
3、设计过程 34
第七章 施工过程的设计 41
参考规范 43
致 谢 44
第一章 设计任务书
1、基本信息
拟建的桥梁位于南京市江北生态公园内,横跨城南河,为人行景观桥,力求美观。桥型为自锚式悬索桥桥,该跨河桥除解决城南河两岸场馆间行人和机动车交通外,也是生态公园城南河风光带上的一座重要的景观桥,是行人观赏沿河风光的重要场所。 总长度为150米,跨度90米,采用桩基础。桥面宽度为25米。
2、课题要求(包括所具备的条件)
本设计题目结合实际工程制定,资料收集较齐全,适合学生实际情况。要求学生在任务书中给出的桥型方案的基础上,进行结构设计、施工工艺设计等工作;重点掌握悬索桥结构设计的基本步骤、悬索桥结构计算基本方法及悬索桥施工的基本工艺。通过人行景观桥的完整设计过程,培养学生理论联系实际的能力,即应用本科阶段所学习的力学知识、结构设计理论来解决实际工程设计中的问题,同时提高查阅设计规范、文献及使用专业软件设计的综合能力。 (1)对桥梁进行总体设计,拟定自锚式悬索桥的主要尺寸,包括悬索桥的跨径,矢高,塔高,主缆截面尺寸,吊杆间距及吊杆截面,锚索倾角,加劲梁的横截面形式和梁高等等。 (2)根据总体设计得到的信息使用Midas Civil软件进行抛物线法建模,并进行一些初步的分析和判断。 (3)确定恒荷载工况,使用Midas Civil软件中建模的悬索桥建模助手进行迭代法建模,并对其进行分析。 (4)确定活荷载工况,进行荷载组合,计算局部校验。 (5)进行基础设计。 (6)进行施工过程的设计。 (7)相关图纸的绘制,如桥型布置图,桥型结构图,细部构造图,基础构造图等等。
第二章 桥梁总体设计
1、已知主要参数
最大纵坡:3.5%;车行道按城-B荷载验算;桥面横坡:不设横坡;抗震设防标准:抗震设防烈度为7度,设计分组为第一组,地震动峰值加速度为0.10g,抗震设防类别为B类;结构安全等级:二级,重要性系数取1.0。
2、设计主要参数
① 桥梁跨径布置
根据任务书,单跨,中跨跨度为90米,边跨跨度为30米,总长度150米,采用桩基础。
② 中跨主缆矢跨比
从悬索桥的受力来看,矢高f越大,主索中的内力越小,用钢量越少,也就是矢跨比越大,每延米总用钢量越少。当中跨跨径越大时,悬索的自重所占比重大大突出,反之中跨跨径较小时,就不那么突出。但矢跨比加大必然增加桥塔高度和悬索长度,也会增加竖向变形。一般认为最有利的矢跨比为1:6一1:
7,此处取1:6。
③ 加劲梁高
悬索桥加劲梁梁高主要根据刚度条件和材料用量最少来确定,为保证悬索桥跨径四分点处必要的刚度要求,加劲梁的梁高一般应为l/40-l/60,随着跨径的增大,自重所占的比例越大,要求加劲梁刚度大的矛盾就越不突出,加劲梁的梁高与跨径之比常取较小的比例。本次设计取值为2米。
④ 宽度
根据任务书,宽度为25米。
⑤ 吊索间距
跨径在80米到200米范围内的吊桥,吊桥间距一般取5到8米。跨径增大,吊杆间距也增大。本次设计采用5米吊杆间距。
3、主要结构的初步设计
① 主梁
主梁采用扁平钢箱梁截面,梁高2m,梁宽25m,根据要求不设横坡,桥面与桥塔交界处为避让桥塔,梁宽变为17m。故钢箱梁截面分为两个截面,如下图。箱梁顶板厚16mm,底板厚12mm。每隔5m设一道横隔板,横隔板厚度为12mm。

图2-1 1号截面图

图2-1 2号截面图
② 主缆
全桥共设有两根主缆,主缆中心线的间距为20m,每根由24Φ17mm预制平行(PPWS)钢丝索编排而成,直径为16cm(含孔隙率),钢丝强度1540MPa,主缆孔隙率指标:索夹处18%,索夹外20%。
③ 吊杆
吊杆采用由19Φ5mm高强镀锌钢丝构成的成品索,中部直径为6cm,标准强度为1670MPa。吊杆上端与索夹采用叉耳板销接,下端也采用叉耳板与主梁耳板栓接。
④ 桥塔
主塔从承台到上顶面的距离为32.8m,从承台到主缆中心线的距离为29.3m,从承台到箱梁顶面的距离为14.3m。整个主塔为钢筋混凝土结构,下接承台及钻孔灌注桩基础。
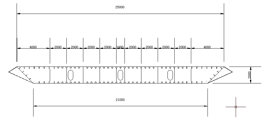
4、桥面布置图

图2-3 1号截面布置图
第三章 荷载计算及midas建模
用midas建模的方法进行内力计算以及生成内力包络图,弯矩图,整体位移图。
内力计算主要包括恒载内力,活载内力,内力组合。
1、恒载计算
恒载内力包括一期恒载和二期恒载,一期恒载主要指梁的自重,二期恒载主要指桥面铺装层的荷载。
① 一期恒载
梁的自重包括梁截面自重和横隔板自重,本次设计所用的钢材为Q345钢材,查表得其刚容重为7.85tonf/m3。
梁截面自重荷载计算
梁截面荷载计算结果如下表:
表3-1 梁自重荷载计算表

其中计算过程
1号截面总荷载=146*0.828164*7.85=949.16tonf,
2号截面同理。
截面荷载=(949.16 16.42)/(146 4)=6.44tonf/m
横隔板自重荷载计算
本桥每隔5m设一处横隔板,全长150m,共计31个横隔板,横隔板荷载计算如下表:
表3-2 横隔板荷载计算表

计算过程:
总荷载=21.297*0.012*31*7.85=62.19tonf
横隔板荷载=62.19/150=0.415tonf
一期恒载值等于梁截面荷载与横隔板荷载之和,即:
相关图片展示:









