扬州市某食品加工厂办公楼设计(方案2)毕业论文
2020-06-06 09:53:08
摘 要
本设计为实际应用课题,工程位于江苏省南京市,为扬州市某食品厂办公楼设计(方案2)。建筑场地长宽约长52m 宽15m,建筑面积约4145m2,底层层高4.5m,其余层层高均为3.6m,最高层为4.5m,室内外高差0.45m。本工程建筑层数为五层,结构形式为3跨的钢筋混凝土框架结构。建筑结构安全等级为二级,设计使用年限为50年;建筑场地类别为Ⅰ类,地基基础设计等级为丙级;建筑抗震设防类别为标准设防类(即丙类),抗震设防烈度为7度(基本地震加速度为0.10g)。
该设计分为两部分:
第一部分是建筑部分,总平面设计,建筑的平面、立面、剖面设计。主要解决建筑的平面布局和立面设计。
第二部分为结构设计,确定梁、板、柱的截面尺寸。计算各楼层集中风荷载标准值;计算柱的抗侧刚度,计算地震作用下结构的水平内力;计算竖向荷载作用下结构的内力,并与水平力进行内力组合;由内力组合得出的结构各构件的最不利内力,对结构各构件进行截面和配筋设计;根据建筑结构及场地地质条件确定采用桩基础,并对一榀框架进行桩基础设计。
关键词:框架;内力组合
目录
- 、结构选型与布置…………………………………………………………………………1
1.1结构选型……………………………………………………………………………………1
- 、计算简图与荷载计算……………………………………………………………………3
2.1确定计算简图………………………………………………………………………………3
2.2梁柱截面尺寸………………………………………………………………………………3
2.3材料强度等级………………………………………………………………………………3
2.4荷载计算……………………………………………………………………………………3
- 、框架内力计算……………………………………………………………………………13
3.1恒载作用下的框架内力………………………………………………………………… 13
3.2活载作用下框架内力………………… …………………………………………………18
3.3风荷载作用下内力计算……………… …………………………………………………25
3.4地震作用下横向框架的内力计算……… ………………………………………………30
- 、框架内力组合… ………………………………………………………………………34
4.1荷载组合……………………… …………………………………………………………34
- 、框架梁柱截面设计………………………… …………………………………………40
- 、楼梯结构设计…………… ……………………………………………………………57
6.1梯段板设计…………………………………………………………… …………………57
6.2休息平台板计算………………………………… ………………………………………58
6.3梯段梁TL1计算………………… ………………………………………………………59
- 、现浇楼面板设计……… ………………………………………………………………61
7.1跨中最大弯矩……………… ……………………………………………………………61
7.2支座中点最大弯矩……………… ………………………………………………………62
- 、基础设计………………………………… ……………………………………………67
8.1荷载计算…………… ……………………………………………………………………67
8.2确定基础底面积……………………………… …………………………………………67
8.3地基变形验算………………………………………………………… …………………70
8.4基础结构设计………………………… …………………………………………………70
参看文献………………………………………………………………… ………………………75
致谢………………………………………………………………………… ……………………76
扬州市某食品厂办公楼设计
第一章 结构选型与布置
题目:扬州市某食品厂办公楼设计
1、气象资料
1)基本风压
2)基本雪压值
2、水文地质资料
(1)场地条件:场地平整,根据地层的沉积特点和物理力学特性自上而下可划分为三层,各土层描述如下:
- 层:素填土,灰褐色,主要成分是粉质粘土,该土层普遍分布。
- 粉质粘土,褐色,褐黄色,该土层普遍分布。
- 粉质粘土,棕黄色,坚硬。
(2)基础型式及持力层:本工程采用桩基础,基础持力层位于第二层粉质粘土,地基承载力特征值fak=220kPa。
(3)拟建场地无液化土层,地下水无侵蚀性。
(4)建筑场地类别:Ⅱ类(特征周期为0.35s)。
3、抗震设防烈度
抗震设防烈度7度,基本地震加速度值为0.15g。
4、荷载资料
(1)办公楼面活载,查《建筑结构荷载规范》(GB50009—2012),确定办公楼荷载标准值为2.5KN∕m2 。办公走廊,楼梯楼面活荷载标准值为3.5KN∕m2 。
(2)不上人屋面:活载标准值为0.5KN∕m2。
(3)屋面构造:
保护层:20mm厚1:2.5或M15水泥砂浆,表面应抹平压光,并设分隔缝,分隔面积宜为1
。
隔离层:200 g∕m2聚酯无纺布。
防水层:1.2mm厚合成高分子防水卷材两道。
找平层:20mm厚1:2.5水泥砂浆
保温层:75厚挤塑板
找坡层:膨胀珍珠岩,坡度宜为3%,最薄处不得小于30mm。
- 楼面构造
水泥楼面:10mm厚1:2水泥砂浆面层压实抹光,15mm厚1:3水泥砂浆找平层,现浇钢筋混凝土楼板面,12mm厚纸筋石灰粉平顶。
(5)围护墙:
内外墙均采用200厚粘土空心砖(容重2.36
),M5混合砂砌筑,双面粉刷(容重3.6
)。每开间采用通长塑钢窗。
- 本工程采用全现浇框架结构,双向板,在跨度大的地面布置次梁。

第二章 计算简图与荷载计算
2.1确定计算简图
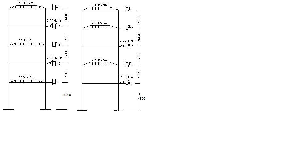
根据结构平面布置图选具有代表性的4计算单元,框架的计算简图假定底层柱下端固定于基础,挖去所有的素填土,基础置于第二层粉质粘土层上,建筑场地类别Ⅲ类,初步确定本工程基础用柱下独立基础,柱子的高度为h1=4.5 0.9=5.4m,基础标高为设计相对标高-1.6m,初步假设基础高度为0.5m。二,三,四层柱高为h2∽h4=3.6m,五层柱高h5=4.5m,柱节点钢接,横梁的计算跨度取柱中心至中心间距离,三跨分别为:l=6300mm,2400mm,6300mm,由此,计算简图见图2-1。

2.2 梁、柱截面尺寸
1. 框架柱: 查《建筑抗震设计规范》,此工程框架抗震等级为三级,柱轴压比限值为0.85, ,
,初选截面
。
2.梁:横向框架梁AB跨,CD跨 :250mm*600mm,BC跨:250mm*400mm。
纵向框架梁:250mm*500mm。次梁:250mm*500mm
3. 板厚:AB,CD跨板取120mm;BC跨取100mm。
2.3 材料强度等级
1.混凝土:采用C30级。
2.受力钢筋采用HRB400钢筋,箍筋采用HPB300钢筋。
2.4 荷载计算
以2轴线横向框架为计算分析对象。
1.屋面横梁竖向线荷载标准值
图2-2 荷载计算图
- 永久荷载作用下结构计算简图 ;(b)活载作用下结构计算简图
(1)恒载(图2-2a)
屋面恒载标准值:
35mm厚架空隔热板 0.035×25=0.875 kN/m
防水层 0.4 kN/m2
20厚1:2.5水泥砂浆找平层 0.02×20 = 0.4 kN/m2
120(100)mm厚钢混凝土现浇板 0.12×25 = 3 kN/m2
(0.1×25=2.5 kN/m2
12厚纸筋石灰粉平顶 0.012×16 = 0.192 kN/m2
屋面恒载标准值: 4.87 kN/m2
(4.37 kN/m2)
梁自重
边跨AB,CD跨: 0.25×0.6×25 = 3.75kN/m
梁侧粉刷: 2×(0.6-0.12)×0.02×17 = 0.33kN/m
4.08 kN/m
中跨BC跨: 0.25×0.4×25=2.5 kN/m
梁侧粉刷: 2×(0.4-0.1)×0.02×17=0.19 kN/m
2.69 kN/m
作用在顶层框架梁上的线恒荷载标准值为:
梁自重 g5AC1=g5CD1=4.08 kN/m g5BC1=2.69 kN/m
板传来的荷载: g5AB2=g5CD2=4.87*4=19.48kN/m
g5BC2=4.37*2.4=10.49kN/m
(2)活载(图2-2b)
作用在顶层框架梁上的线活荷载标准值为:
q4AB=q4CD=0.5×4=2kn/m
q4BC=0.5×2.4=1.2kN/m
2、楼面横梁竖向线荷载标准值
(1)恒载(图2-2a)
相关图片展示:









