广西省平乐县排水工程设计毕业论文
2020-03-25 08:27:23
摘 要
本设计主要由两部分构成,分别是广西省平乐县排水管网设计和后续污水处理厂设计。平乐是中原文化、湖湘文化和岭南文化荟萃之地。平乐县位于广西东北部,东临钟山县,南接昭平县,西邻荔浦县,西北与阳朔县接壤,东北与恭城县交界。本次工程设计范围为平乐县城区,南面有恭城河由西向东流过。
排水管网采用雨、污分流制,即将污水收集并送到污水处理厂,而雨水在收集后就近排入水体。污水处理厂根据水厂规模并且考虑脱氮除磷的要求,采用A-A-O同步脱氮除磷工艺。该工艺的污水处理流程为:中格栅→提升泵房→细格栅→沉砂池→A-A-O生物反应池→二沉池→消毒池→出水排放。污泥处理则采用浓缩脱水一体机。
设计中对污水管网、雨水管网以及污水处理厂的污水处理流程的各主体构筑物如中格栅、提升泵房、细格栅、钟式沉砂池、A-A-O生物反应池、辐流式二沉池、和紫外消毒池等进行了系统、详细的设计计算和说明。
关键词:平乐县、排水管网、污水处理、A-A-O同步脱氮除磷工艺
Abstract
Drainage engineering design is an integral part of urban planning.The design task is to complete the drainage engineering design in Pingle County, Guangxi Province.Drainage works involved include: rain, sewage pipe network engineering and sewage treatment plant works.
Pingle county is located in the northeast of Guangxi, east of Zijin Mountain County, South Zhaoping County, West Li Riverside County, northwest border with Yangshuo County, northeast and Gongcheng County border. The design scope of this project is Pingle County, and the southern Gongcheng river flows from west to East.
According to the actual situation of the area,the drainage network adopts the complete divergence system.Sewage using a trunk pipe,collecting north and south of the sewage,into the the sewage treatment plant for treatment in the southeast of Pingle county,then the water treated will be discharged into the Santai River.Rainwater was collected based on the principle of the nearest discharge,the entire urban area is divided into six parts,setting up an independent rainwater discharge system,the rain were discharged into Gongcheng River.
According to the characteristics of the basin and the dominant wind direction,the sewage treatment plant is located in the southeast of Pingle county,with a scale of 24000 m3 / d and a long-term scale of 36000 m3/d.According to the characteristics of wastewater and water quality requirements,we use of a B processing requirements,the core biological treatment process was A2/O process,the main process was:the grid →the pumping station→fine grille→grit chamber→anoxic tank→Anaerobic tank→aerobic pool→secondary sink pool→disinfection pool.
According to the original information provided,I’ve completed the design of the Pingle county drainage pipe system,sewage treatment plant (building) building design and calculation,10 drawing drawings (A1,including a handwriting and hand drawing),complete the specification, calculation sheet.
Key words:Pingle country,drainage pipe network , sewage treatment,Anaerobic-Anoxic-Oxic simultaneous denitrification and phosphorus removal process.
目录
摘要 1
Abstract 2
目录 3
第一章 绪论 2
第二章 设计说明书 3
2.1原始资料 3
2.1.2设计任务 3
2.2排水体制 3
2.2.1排水体制的设计原则 3
2.2.2排水体制的选择 3
2.3排水管网系统的布置形式 3
2.3.1总平面布置原则 3
2.3.2 布置形式的选择 3
2.4污水管网系统设计说明 4
2.4.1排水流域的划分 4
2.4.2污水管网定线 4
2.4.3污水管网控制点的选择 4
2.4.4污水设计管段划分 4
2.4.5污水管段排水面积的划分 5
2.4.6污水管道流量计算 5
2.4.7污水管道水力计算 6
2.4.9管道平面图与纵剖面图的绘制 7
2.5雨水管网系统设计说明 16
2.5.1划分排水区域 16
2.5.2雨水管网定线 16
2.5.3雨水管网面积划分 16
2.5.4雨水管道流量计算 16
2.5.5雨水管道水力计算 17
2.5.6雨水管道平面图 18
2.6污水处理厂设计说明 34
2.6.1厂址选择 34
2.6.2工艺选择 34
2.6.3构筑物选择 34
2.6.4水量与水质 35
2.6.5污水处理厂各构筑物设计说明 36
2.6.6污水处理厂平面布置 41
2.6.7污水处理厂高程布置 41
2.7排水工程投资估算 42
第三章 设计计算书 43
3.1设计流量 43
3.1.1流量计算 43
3.1.2居住区比流量 45
3.2设计水质 45
3.3中格栅 46
3.4提升泵房 48
3.4.1设计参数 48
3.4.2设计计算 48
3.5细格栅 51
3.6旋流式沉砂池 53
3.7配水井 54
3.8生物池 54
3.8.1设计参数 54
3.8.2生物池设计计算 55
3.8.3曝气系统计算 59
3.8.4厌氧池设备选择 62
3.8.5缺氧池设备选择 62
3.8.6排泥系统计算 62
3.8.7生物进出水系统设计计算 63
3.9幅流式二沉池 65
3.9.1 设计要点 65
3.9.2 设计参数 65
3.9.3 设计计算 65
3.10 综合井的设计计算 71
3.10.1 设计要点 71
3.10.3设计计算 71
3.11紫外消毒池 72
3.11.1 设计参数 72
3.11.2 设计计算 72
3.12 计量设施设计计算 73
3.12.1 设计参数 73
3.12.2 设计计算 73
3.13 污泥处理的设计计算 75
3.13.1 设计计算 75
3.14 水厂高程计算 76
第四章 排水工程投资估算 80
4.1 排水管道工程投资估算 80
4.2 污水厂工程投资估算 80
4.3 远期规划附加投资估算 80
第五章 结论 80
参考文献 81
附录 82
致谢 107
第一章 绪论
近几十年来,污水处理技术无论是在理论研究方向还是在应用方向,都取得了一定的进展,新工艺、新技术大量涌现,如在污水处理领域,出现了AB法工艺,间歇式性活污泥法,脱氮除磷的AO系统,同步脱氮除磷的AAO系统等;氧化沟系统和高效低耗的污水自然处理技术,如各种类型的稳定塘、土地处理系统、湿地处理系统都取得了进步和应用。
由于环境污染加剧缺能源短缺,以及对污水排放标准的不断提高,这促进了污水处理技术的发展。通过长期积累和不断总结研究,污水处理工艺将不断得到优化,以便在满足排放标准的前提下,取的更好的处理效果,达到减少投入、减少占地、减少运营费的目的。,相信在一代代给排水工作者的共同努力下,在不久的将来,我国的污水处理技术必将迈上新的台阶。
第二章 设计说明书
2.1原始资料
原始资料见毕业设计任务书。
2.1.2设计任务
(1)确定排水体制、厂址位置,设计雨水管网工程和污水管网工程。
(2)确定污水处理厂规模、确定处理水排放标准、进行污水处理厂设计。
(3)估算管网、污水厂的投资,估算污水厂、泵站的运行费用。
2.2排水体制
2.2.1排水体制的设计原则
城市和工业企业的总体规划应符合排水系统规划,并应与城市工业企业中期他单项工程建设密切配合,相互协调。
2.2.2排水体制的选择
综合考虑各个因素,为了更好的保护环境,适应以后的发展,且便于污水厂的运行管理,采用分流制排水系统,即采用两个(雨水、污水)管道系统。
本次设计规划采用雨、污分流体制,新区排水管网相对独立自成系统。雨水干管依据地势沿街道南北方向敷设,就近分散排入自然水体;污水支管沿各条南北走向道路敷设,污水干管沿图中东西走向敷设,城市污水逐步由西向东集中至污水处理厂,处理后尾水排入河流。
2.3排水管网系统的布置形式
2.3.1总平面布置原则
(1)利用地形优势:顺坡排水,最大可能利用重力流,避免管道提升;
(2)经济合理:管网密度合理,工程量小,水流畅通,节省能量;
(3)高区高排,低区局部提升;
2.3.2 布置形式的选择
本次设计中,雨水排放的布置形式采取截流式。
2.4污水管网系统设计说明
(1)设计基础数据(包括设计地区的面积、设计人口数,污水定额,防洪标准等)的确定;
(2)污水管道系统的平面布置;
(3)污水管道设计流量计算和水力计算;
2.4.1排水流域的划分
定线前首先根据地形划分排水流域,排水区域是污水排水系统设置的界限。凡是采用完善卫生设备的建筑区都应设置污水管道。它是根据城镇总体规划的设计规模决定的。
2.4.2污水管网定线
鉴于平乐县城区地势高程从西北向东南依次降低,河流位于城区南侧,自西向东流过,本设计经综合考虑,设计计算出两种方案:
(1)可将主干管设于图中南方东西走向的道路上,将与主干管相连的支管设于与主干管道路相连的道路上,各支管又分出若干东西方向的分支管以此收集相应分区的污水。所以管道的设置充分利用地形坡度,主干管内污水自西向东流,污水处理厂设于城区东南方,形成截流式布置形式。
(2)可将可将主干管设于图中南北走向的道路上,将与主干管相连的支管设于与主干管道路相连的道路上,各支管又分出若干南北方向的分支管以此收集相应分区的污水。所以管道的设置充分利用地形坡度,主干管内污水自北向南流,污水处理厂设于城区东南方,形成平行式布置形式。
综合比较上述两种方案,第一种方案更能够发挥重力排水优点,对于施工来说也更加方便,并且截留式布置对减轻水体污染,改善和保护环境有重大作用。选择第一种方案,各支管长度较短,因支管流量较小,可以减少埋深和造价,因此选择第一种方案,截流式分流制排水系统,干管沿东西方向敷设。
2.4.3污水管网控制点的选择
在污水排水区域内,对管道系统的埋深起控制作用的地点为控制点。一般各条管道的起点都是这条管道的控制点,这些控制点中离出水口最远的一点通常就是真个系统中的控制点。
2.4.4污水设计管段划分
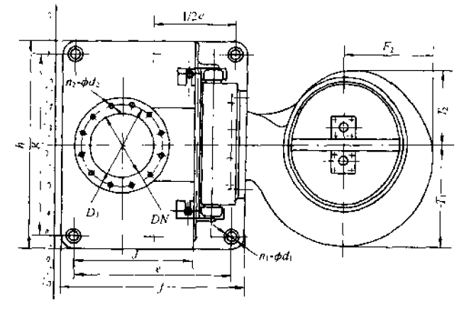
设计管段是指,两个检查井之间的管段采用的设计流量不变,且采用同样的管径和坡度,称它为设计管段。具体设计管段划分见图2.1污水管道平面布置图。
2.4.5污水管段排水面积的划分
街区共划分93块,总面积为517.07ha。具体排水面积划分见附图一:污水管道平面布置简图。
2.4.6污水管道流量计算
(1)生活污水设计流量
1)居住区生活污水设计流量按下式计算:
(2-1)
式中 Q ——居住区生活污水设计流量(L/s);
n ——居住区生活污水定额(L/(cap.d)) ;
N ——设计人口数;
Kz ——生活无水量总变化系数;
cap ——人的计量单位。
2)根据各区的污水量定额n(L/cap.d)和人口密度p(cap/ha),可求出各区的生活污水平均流量(比流量)为:
(2-2)
式中 q0 ——比流量(L/(s.ha));
p ——人口密度(cap/ha);
n ——居住区生活污水定额(L/(cap.d))。
(2-3)
式中 Q ——本段流量(L/s);
F——设计管段服务的街区面积(ha),见附录一 污水水量计算表。
q0 ——比流量(L/(s.ha));
Kz ——生活无水量总变化系数;
工业企业污水量作为集中流量计算。
3)生活污水总变化系数可按下式计算:
(2-4)
式中 Q ——平均日平均时污水量(L/s)。 当Qlt;5 L/s时,Kz=2.3;当Qgt;1000 L/s,Kz=1.3。
(2)工业废水设计流量
本设计无工业废水集中流量。
(3)比流量
比流量为单位面积的平均流量。

(4)各设计管段设计流量
污水管道设计流量计算见附录一 污水水量计算表。
2.4.7污水管道水力计算
2.4.7.1水力计算基本公式
流量公式: Q = A ·v (2-5)
流速公式: v = C·
(2-6)
式中:Q—流量(m³/s);
A—过水断面面积(m2);
v—流速(m/s);
R—水力半径(过水断面与湿周的比值)(m);
I—水力坡度(等于水面坡度,也等于管底坡度);
C—流速系数或称谢才系数。C值一般按曼宁公式计算,即:
(2-7)
将公式(2.6)代入(2.5)和(2.4)得:
(2-8)
(2-9)
以上是毕业论文大纲或资料介绍,该课题完整毕业论文、开题报告、任务书、程序设计、图纸设计等资料请添加微信获取,微信号:bysjorg。
相关图片展示:









