基于GSM短消息的远程监测系统毕业论文
2020-06-17 21:38:46
摘 要
随着农业大棚种植技术的不断发展,我国农业大棚技术应用也更加的广泛。随着GSM移动网络通信迅速普及。GSM网络以覆盖范围广、数据传输速率快、端到端连接简单等优点。获取越来越多的人群开始重视基于GSM网络通信的系统开发和设计。这其中也包括远程监测系统。远程监测系统不断的发展同时也推动着我国农业大棚不断地向现代化、智能化的方向发展。
本文以GSM网络为数据传输的载体,使用STM32单片机为下位机,pc端为上位机,设计出了一个远程监测系统。论文首先介绍了课题研究的背景、远程监控系统发展,GSM在远程监控系统中的应用,本文研究的主要内容和方法,然后提出了系统设计的相关工具及技术。接下来简单的介绍系统的总体设计方案。最后论文重点研究与设计了远程监测系统的设计与程序实现。
在本次课题中,主要完成了远程监测分站的设计、中转站的设计和远程监测中心站的设计。完成了从STM32获取数据,通过GSM模块发送,在经过中转站转发,最后到达远程监测中心站的过程。
关键词:STM32 远程监测 AT指令 GSM
Based on GSM short message remote monitoring system
Abstract
With the continuous development of agricultural greenhouse cultivation technology, the application of agricultural greenhouse technology is also more extensive. GSM network has many advantages, such as wide coverage, fast data transmission, and simple end-to-end connection,More and more people begin to pay attention to the system development and design based on GSM network communication. It also includes remote monitoring systems. With the continuous development of remote monitoring system, China's agricultural greenhouse has been developing towards modernization and intelligence.
In this paper, GSM network is used as the carrier of data transmission, and STM32 is used as the lower computer, and the PC end as the host compute. So A remote monitoring system is designed. Firstly, the thesis introduces the background of the research, the development of remote monitoring system, the application of GSM in the remote monitoring system, and the main contents and methods of this paper. Then, the related tools and techniques of system design are proposed. Next, a brief introduction to the overall design of the system. Finally, the thesis focuses on the design and implementation of remote monitoring system.
In this subject, I mainly completed the design of remote monitoring substation, the design of transfer station and the design of remote monitoring central station . Completed the process of the data obtained from the STM32, sent through the GSM module, after the server forwarded, and finally reached the remote monitoring center station.
Keywords: STM32; remote monitoring; AT instruction; GSM
目 录
摘 要 I
Abstract II
目 录 III
第一章 绪论 1
1.1课题研究背景 1
1.2远程监控系统发展 1
1.3 GSM在远程监控系统中的应用 2
1.4 课题主要工作 3
第二章 相关技术 4
2.1 GSM技术 4
2.2 GSM系统的特点 5
2.3 GPRS系统简介 6
2.4 串口通信 7
2.5 AT指令 9
2.6小结 10
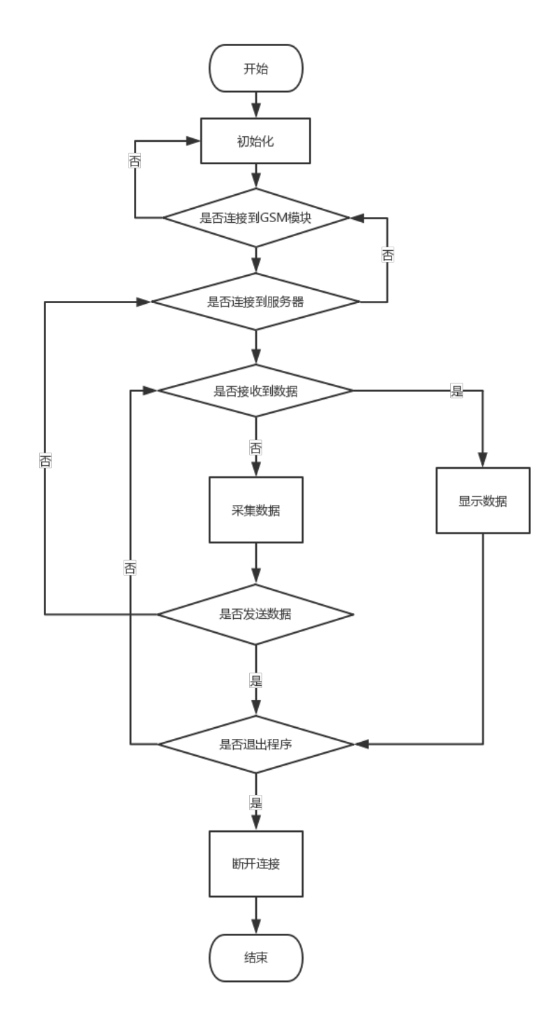
第三章 远程监测分站设计 11
3.1 系统的总体结构 11
3.2 DS18B20介绍 11
3.3 ATK-SIM800c功能介绍 13
3.4 STM32简介 14
3.5远程监测分站组成及工作原理 15
3.6数据收发程序设计 16
3.7 小结 19
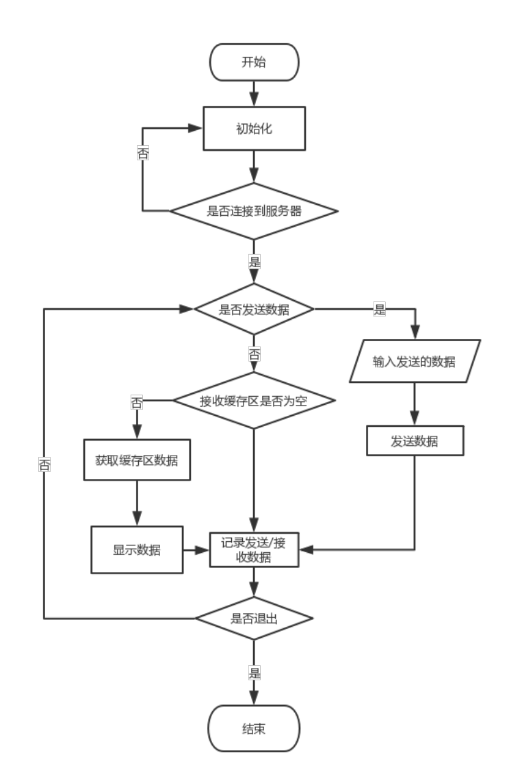
第四章 远程监测中心站设计 20
4.1 Indy组件集介绍 20
4.2 远程监测站设计 20
4.2.1 IdTCPClient 20
4.2.2 客户端软件设计 21
4.3 中转站设计 23
4.3.1 IdTCPServe 23
4.3.2中转站程序 23
4.4 小结 25
第五章 系统连接测试 26
5.1发送数据 26
5.2接收数据 27
5.3 小结 29
第六章 总结 30
6.1总结 30
6.2 存在的问题 30
参考文献 32
第一章 绪论
1.1课题研究背景
进入21世纪以来,随着科学技术的发展和人民的生活水平提高,人民迫切的希望改变农作物的生长环境和周期。为了方便丰富人们的生活。因此中国在引用别国前沿的温室技术的原理时,同时依据本国的具体国情,采取了一系列地研究和设计。如对温室中的温度控制要结合我国的季风气候,和南北气候差异。对土壤湿度的控制要结合南北两低的降水量的差异。当然影响农作物生长的不单单只有温度和土壤含水量还有空气中二氧化碳含量、光照时间等等多种环境因素。
所以再结合植物生长环境的情况下,人们利用温室为农作物创造了良好的生长环境。从而实现了促进农作物生长,改变了农作物的生长时令。如果再结合农作物的种植技术完全可以达到高产量。在以后的发展中,农业大棚应用会更为广乏,也会逐渐趋向于智能化、自动化,形成更为完善的技术体系。
相关图片展示:









