基于Micro850PLC的二次供水控制系统设计及实现毕业论文
2020-05-25 23:45:17
摘 要
伴随着城市中土地资源越来越趋于紧张,并且建筑物的高度越来越高,这样,自来水公司直供水水压就不能送到8楼及以上用户了,所以必然要增压供水。要增压供水必然需要耗费能源,现在的问题是,如何使得增压供水在满足用户需求的基础上让设备运行能耗最低。为提高供水的可靠性,结合水箱供水和管网直接供水的优点,避免他们的缺点,往往会采用水箱 管网供水模式以提高供水的可靠性,但是系统的复杂性会大大提高。我这次设计的主要内容包含了泵站恒压控制系统的硬件设计,软件设计,上位机通讯等。硬件部分通过设计电气图,用CAD绘制电气图,主要有辅助元件原理图、一次回路图、二次回路图、变频器原理图、现场仪表仪器接线图、PLC系统图、数字量模拟量的输入输出以及端子图。软件部分通过程序编译,利用Connected Components Workbench(CCW)软件程序中的PID模块来使变频器控制泵的转速变化。程序分为三大块,分别为主程序、泵启动程序和泵控制程序。然后通过利用MCGS软件来进行组态绘制和监控。本设计在使用变频恒压供水这套方案后,要比之前未采用这种方案而消耗的电能更加少,也就是说此方案可以更加节约能源从而降低成本。
关键词: 恒压供水 PID 罗克韦尔850PLC MCGS
Micro850PLC control of the Frequency Control Water Supply System
Abstract
With the increasing tension of urban land resources, the building is higher, so the water supply company's direct water pressure can not be sent to the 8 floor and above users, is bound to boost water supply. To boost the water supply is bound to consume energy, so the question is how to make the pressurized water supply to meet the needs of users on the basis of the minimum energy consumption of equipment. For the reliability of water supply, combined with the water tank and pipeline for direct advantages and avoid their disadvantages, often using water tank and the water supply pipe network model in order to improve the water supply reliability, but the complexity of the system is greatly improved. The main content of the design includes hardware design of constant pressure control system of pumping station, software design, host computer communication, etc. Through the design of electrical diagram, the hardware part is used CAD of drawing auxiliary components schematic diagram, a circuit diagram, the two circuit diagram, frequency converter schematic diagram, field instrumentation equipment wiring diagram, PLC system diagram, digital analog input and output digital quantity of the terminal diagram. The software part, we use Connected Components Workbench program to compilate..We also use PID module to control the start and stop of the pump and the frequency conversion operation. The procedure is divided into three blocks, respectively, the main program, pump start program and pump control program .And the use of MCGS software configuration drawing and monitoring. This design in the use of variable frequency constant pressure water supply this program, to be more than before the use of this program and less energy consumption, which means that this program can save energy and reduce costs.
Keywords: Constant pressure control PID Micro850PLC MCGS
目 录
摘 要 II
Abstract III
第一章 绪论 1
1.1 课题介绍和背景 1
1.2 课题现状分析 1
1.2.1直接给水方式 1
1.2.2只设置高位水箱的给水方式 1
1.3 本课题需要研究的内容 2
1.3.1设计任务及要求 2
1.3.2 设计依据 2
1.3.3.控制方案选择 2
1.3.4.控制系统硬件选型及系统设计 2
第二章 控制方案 3
2.1 供水系统方案的确定 3
2.1.1供水系统原理 3
2.1.2供水控制系统简介 3
2.1.3供水控制方案确定 3
2.2 供水方案的分析 3
2.3 供水系统要求分析 4
2.4 供水系统结构分析 5
2.5 各部分硬件选型 6
2.5.1选型参照依据: 7
2.5.2 选型行业标准 7
2.5.3供水方案选型 8
2.5.5变频设备选型表 10
2.6 Micro850PLC的选型和介绍 11
2.6.1 Micro850控制器描述 12
2.6.2 Micro850端子块 13
2.6.3 Micro850支持的数据类型 14
2.7 控制系统I/O点及地址分配 14
第三章 系统硬件设计 16
3.1 供水系统主电路构成 16
3.1.1 主电路分析 16
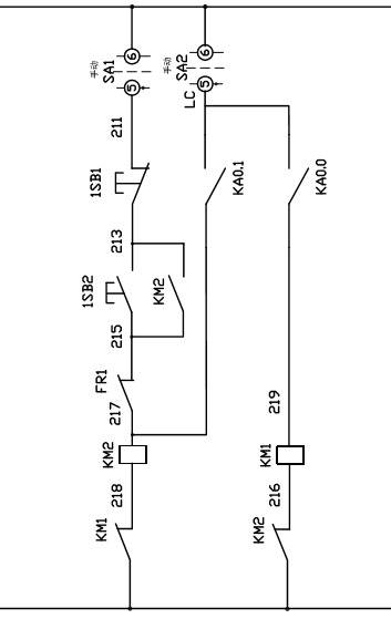
3.1.2电路互锁 16
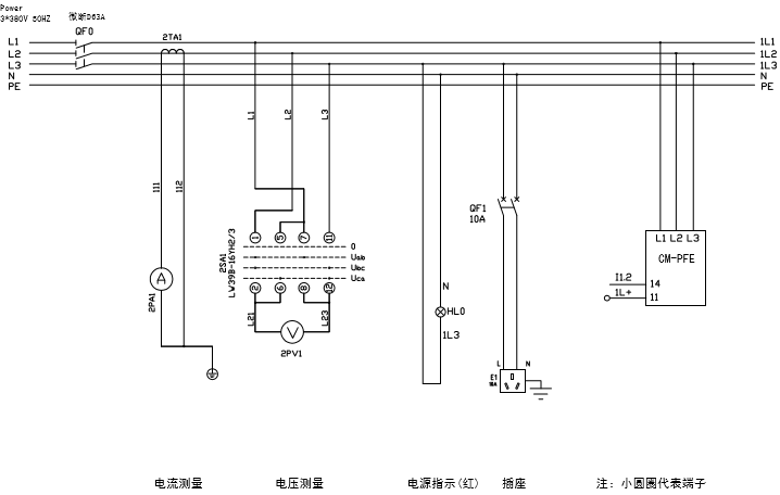
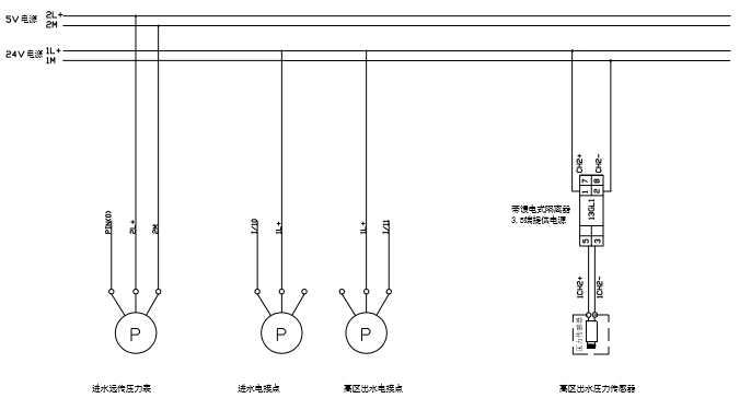
3.1.3其他辅助元件 17
第四章 系统软件设计 22
4.1系统软件设计分析 22
4.2 PLC软件设计 22
4.2.1软件流程图绘制 22
4.2.2程序变量定义 23
4.2.4程序中定义I/O表 24
4.3 组态系统设计介绍 26
4.3.1组态绘制步骤 26
4.3.2参数设置 27
4.3.3定义变量 27
4.3.4报警设置 28
4.3.5 程序写入PLC 30
4.3.5 MCGS和PLC通讯 34
第五章 总结与展望 36
致谢 37
参考文献 38
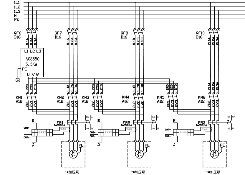
附录1 二次供水电气图 39
附录2 PLC程序 58
第一章 绪论
1.1 课题介绍和背景
伴随着城市中土地资源越来越趋于紧张,并且建筑物的高度越来越高,这样,自来水公司直供水水压就不能送到楼层较高的用户了,所以必然要增压供水,即采用二次供水。
二次供水,是我们将城市公共设施供水或者自建设施供水经过存储、加压等方式,再通过管道供给用户,所以,二次供水是高层供水的唯一选择途径。供水的设备有没有根据规范来建设以及建设的好与坏都会关系到供水的质量和供水的安全,这些与小区用户正常使用水资源有着不可分割的关系。
1.2 课题现状分析
最近几十年以来二次供水技术发展慢慢成熟,曾出现过的比较有代表性的供水方案有不少,但这些相对来说都属于比较传统的二次供水方案。[1]下面列举了几种传统的供水方案。
1.2.1直接给水方式
这种直接供水方式是从外面的供水管道系统供水,这种供水方式适合供水管网的水量和水压在每天随意的时段都可以满足用户的用水需求,这种相对不复杂的方式,不需要加压来完成。从截止现在的全国各大城市的供水系统和管网来看,这种选择可以用于低层建筑。
1.2.2只设置高位水箱的给水方式
相关图片展示:









