离心泵结构设计及建模研究毕业论文
2020-04-12 14:13:26
摘 要
本次设计重在对单级单吸式离心泵水力及结构设计,主要包括叶轮、压水室的水力设计和泵的结构设计。在性能参数的约束下,对离心泵的泵壳尺寸进行设计,特别是其中蜗壳和内部流道的尺寸设计,随后通过Proe5.0软件,将所设计的离心泵结构绘制成三维图形,进行模型创建。对于利用离心泵的优点的同时解决其存在的问题,从而大力提高离心泵的工作效率具有重要的指导意义。
关键词:离心泵;叶轮;蜗壳;水力设计;结构设计;Proe5.0;三维图形
Abstract
This design focuses on the hydraulic and structural design of the single stage single suction centrifugal pump, which mainly includes the hydraulic design of the impeller and the water pressure chamber and the structural design of the pump. Under the constraints of the performance parameters, the size of the pump shell of the centrifugal pump is designed, especially the size design of the volute and the inner flow channel. Then, the design of the designed centrifugal pump structure is made into 3D graphics by Proe5.0 software, and the model is created. It has important guiding significance for solving the existing problems and improving the efficiency of centrifugal pumps by using the advantages of centrifugal pumps.
Key Words:centrifugal pumps;impeller;volute casing;hydraulic design;structural design;Proe 5.0;3D graphics
目录
摘 要 I
目录 III
第1章 绪论 1
1.1 选此课题的意义 1
1.2 本课题的研究现状 1
1.3 本课题研究的主要内容 1
第2章 离心泵概述 3
2.1 离心泵的主要部件 3
2.2 离心泵的工作原理 3
2.3 离心泵的分类 4
第3章 离心泵的水力设计 5
3.1 泵的基本设计参数 5
3.2 泵的比转速计算 5
3.3 汽蚀验算 5
3.4 泵的效率计算 6
3.4.1水力效率 6
3.4.2容积效率 6
3.4.3机械效率 6
3.4.4离心泵的总效率 6
3.5 轴功率的计算 7
3.5.1计算轴功率 7
3.5.2确定泵的计算功率 7
3.6 原动机的选择 7
第4章 叶轮的水力设计及三维绘制 8
4.1 叶轮进口直径 8
4.2 叶轮出口直径 8
4.3 确定叶片厚度 8
4.4 叶轮出口宽度 8
4.5 叶轮相关尺寸 9
4.6 叶轮绘型 9
4.6.1绘型软件Pro/E5.0概述 9
4.6.2单个叶片曲面三维绘型 10
4.6.3全部六个叶片曲面的三维绘型 14
4.6.4前后盖板曲面的三维绘型 15
4.6.5孔、键槽绘制 19
4.6.6叶轮三维模型 20
第5章 蜗型体的水力设计及三维绘制 21
5.1 基圆直径的确定 21
5.2 蜗型体进口宽度计算 21
5.3 隔舌起始角 21
5.4 蜗形体各断面面积的计算 21
5.5 扩散管的计算 22
5.6 叶轮盖板及蜗室壁的厚度 23
5.6.1确定叶轮盖板厚度 23
5.6.2蜗室壁厚的设计计算 23
5.7 涡室过水断面的形状参数确定 23
5.7.1画蜗室过水断面 23
5.7.2扩散管中间断面的绘制 24
5.8 蜗型体绘型相关尺寸 25
5.9 蜗型体的绘型 25
5.9.1蜗型体(流体域部分)三维绘型 25
5.9.2蜗型体(外壳部分)三维绘型 37
5.9.3蜗型体蜗壳绘型 40
5.9.4蜗型体外壳三维绘型 41
第6章 离心泵其他零件三维绘制及离心泵零件的拼装 41
6.1 离心泵轴的三维模型 41
6.2 离心泵后盖的三维模型 42
6.3 离心泵螺栓的三维模型 42
6.4 离心泵的拼装 43
总结与展望 44
参考文献 45
致谢 46
第1章 绪论
1.1 选此课题的意义
离心泵是人们日常生活中常用的流体机械。离心泵是依靠叶轮高速旋转时,在叶片的推压力下,产生的离心力来输送液体的泵,将水抛出,以达到输送目的。离心泵一般具有结构简单、零件少、故障少、维修费用少、管理方便等众多特点 [1]。
本次课题设计的离心泵适用于清水离心泵、离心式杂质泵和离心式潜水泵的设计
1.2 本课题的研究现状
近十年来,由于相关技术研究所的不景气,离心泵产品的技术研究工作的脚步几乎没有前进过,也没有相关部门人员进行深入的研究。国内外产品的技术水平存在差异。由于这一原因,国内许多研究人员对此进行了大量的研究工作,产生了许多科学研究成果,而高比转速离心泵的科研投入相对较少。一般来说,效率和气蚀余量的分配率与国内情况一致,合格产品在低比转速下的分配率相对较好。国内学者的研究表明,借鉴国外先进技术,研究和研究国外离心泵的先进运行管理标准,借鉴和加强我国标准修订工作,具有重要意义[2]。
从流体力学的观点来看,影响离心泵效率的主要因素是叶轮和蜗壳。随着CAD等三维绘图技术的广泛应用,叶轮和蜗壳的设计慢慢地从二维平面向三维空间参数化设计转变。三维空间参数化设计有利于加快新产品的设计进程和提高产品的设计质量,进而有利于产品的系列化。其中离心泵的叶轮和蜗壳设计已经有相关人员在研究设计,但有关离心泵整体三维模型设计技术还不够完善。
1.3 本课题研究的主要内容
1、离心泵的主要设计参数和结构方案的确定;
2、离心泵叶轮的水力设计及三维绘制(计算叶轮进口直径,确定叶轮出口直径,确定叶片厚度,确定叶片出口角,叶轮出口宽度,精确计算叶轮出口直径及叶片出口安放角,绘制叶轮轴面投影图,叶轮三维绘制);
3、离心泵蜗型体的水力设计及三维绘制(蜗型体的计算,基圆直径的确定,蜗型体进口宽度计算,舌角、隔舌起始角及蜗形体各断面面积的计算,扩散管的计算,蜗形体三维绘制);
4、离心泵其他重要结构(轴、外壳、螺栓等)的三维绘制
5、采用Pro/E对离心泵的三维模型设计进行了研究。
第2章 离心泵概述
2.1 离心泵的主要部件
离心泵主要由叶轮、能量转换装置、密封装置、轴向平衡装置等组成,具体介绍如下:
(1)叶轮:叶轮是将原动机的机械能传递给被排送液体的工作部件,液体主要是从旋转的叶轮处获得能量,所以其对泵的工作性能有决定性影响。
(2)能量转换装置:离心泵能量转换装置的主要功能是以最小的水力损失将高速液体从叶轮汇聚,引致泵的出口或下一级,降低液体的流速,并将大部分动能转换为压力能。离心泵的能量转换装置主要有蜗壳和导轮两种。
(3)密封装置:为了保证泵的正常工作,防止液体暴露和泄漏,或外部空气吸入泵,在叶轮和泵壳之间,轴和壳体装有密封装置。最常见的密封装置有填料密封、机械密封和浮动密封。
(4)轴向平衡装置:用来平衡叶轮两侧轴向力的装置。离心泵的轴向平衡装置主要有止推轴承、平衡孔或平衡管、双吸叶轮或叶轮对称布置等[3]。
2.2 离心泵的工作原理
由于离心力的作用,离心泵才得以把水送出。离心泵在工作前,泵体充满水且形成真空状态,离心泵工作时,当叶轮在原动机的驱动下高速转动时,在叶片的挤压下,水快速旋转,旋转着的水在离心力的作用下从叶轮中心向四周飞去,泵内的水被抛出后,叶轮的中心部分又形成真空区域。在大气压力(或水压)作用下,水源通过管网被压入吸入管中。这样循环不已,就可以使得离心泵保持正常的连续抽水工作。
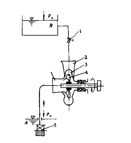
一个简单的离心泵如图2.1所示。泵充满液体并启动离心泵。原动机带动叶轮旋转。叶轮的高速驱动液体旋转。当液体旋转时,液体转向叶轮的外缘。同时,叶轮入口压力下降,吸液池(罐)内的液体在外界大气压力与叶轮入口处压力的压差作用下进入叶轮。在这个过程中,叶轮中的液体围绕叶片运动。在流动运动中,液体起到叶片的升力作用,而叶片又以相反的力作用在液体上。这种作用力作用在液体上,液体得到能量流出叶轮,然后动能和液体的压力能增加[4]。

图2.1 一个简单的离心泵装置
2.3 离心泵的分类
离心泵是一种大型、宽的机械设备。离心泵由于用途、性能参数、输送介质和使用要求不同,其品种和规格繁多,结构形式也多种多样。
分类方法常见的有以下几种方式
1. 根据叶轮吸入方式分:单吸式离心泵和双吸式离心泵。
2. 根据叶轮数目分:单级离心泵和多级离心泵。
3. 根据叶轮结构分:敞开式叶轮离心泵、半开式叶轮离心泵和封闭式叶轮离心泵。
4. 根据工作压力分:低压离心泵、中压离心泵和高压离心泵。
5. 根据泵轴位置分:卧式离心泵和立式离心泵。
第3章 离心泵的水力设计
3.1 泵的基本设计参数
1)扬程H=32m
2)流量Q=50m3/h
3)进口直径D1=100mm 出口直径D2=56mm
以上是毕业论文大纲或资料介绍,该课题完整毕业论文、开题报告、任务书、程序设计、图纸设计等资料请添加微信获取,微信号:bysjorg。
相关图片展示:








 
         
            
