船用复合储能系统充放电控制策略的研究毕业论文
2020-04-10 16:56:57
摘 要
由于海洋环境污染和能源危机越发严重,节能减排成为船舶又一新的关注点。越来越多的船舶选择用电力驱动推进器在海中航行。但是海洋环境多变,尤其是工程性船舶它的负载也在随时变化,这就造成了船舶电网功率的波动。这种波动会降低发电柴油机的燃油利用率,也会对设备造成损害。解决这一问题最好的办法就是在船舶上增加储能设备。
本文研究内容是船用复合储能系统充放电控制策略,是对接入船舶直流电网中的储能设备进行充放电控制管理。利用合理的控制策略,延长储能单元的寿命,提升复合储能系统经济性指标。首先分析介绍了蓄电池和超级电容复合储能的基本原理和等效电路模型,并分别对蓄电池和超级电容的充放电特性进行了分析比较。然后研究分析了复合储能的结构,选择了合适的储能结构使得控制更加灵活,并对双向变换器工作原理做了详细介绍。最后为了充分发挥蓄电池和超级电容的特性,达到优势互补的目的,本文利用下垂控制为基础并加入恒功率控制和双闭环控制实现不同类型的储能单元响应不同频段的功率实现功率自动分配,并在充放电过程中有效稳定了母线电压。同时对储能设备的荷电状态进行了限值管理,有效避免了过充过放的情况,延长了使用年限。
本文最后在中搭建模型进行充放电仿真分析,仿真结果表明本文所运用的控制策略能较好的对复合储能设备进行充放电控制,有效避免了过充过放和功率越限。而且控制策略也能够充分发挥两种储能元件的优势。
关键词:复合储能;充放电控制;下垂控制;限值控制;
ABSTRACT
As the pollution of the marine environment and the energy crisis have become more and more serious, energy conservation and emission reduction have become another new focus of the ship. More and more ships choose to use electrically-driven propellers to navigate the sea. However, the marine environment is changeable, especially in engineering ships. Its load also changes at any time, which causes fluctuations in the voltage of the ship's power grid, which reduces the utilization of fuel and can also cause damage to the equipment. The best way to solve this problem is to add energy storage equipment to the ship.
The research content of this paper is the charge and discharge control strategy of the marine composite energy storage system. It is the charge and discharge control and management of the energy storage equipment connected to the DC power grid. Use reasonable control strategies to extend the life of the energy storage unit and improve the economic performance of the composite energy storage system. Firstly, the basic principle and equivalent circuit model of battery and super-capacitor composite energy storage are analyzed and introduced. The charging and discharging characteristics of battery and super capacitor are analyzed and compared. Then the structure of the composite energy storage was studied and analyzed, and the appropriate energy storage structure was selected to make the control more flexible. The working principle of the bidirectional "DC-DC" converter was introduced in detail. Finally, in order to make full use of the characteristics of batteries and super capacitors to achieve complementary advantages, this paper uses droop control as a basis and adds constant power control and double closed-loop control to achieve different types of energy storage units to achieve automatic distribution of power in response to different frequency bands. The bus voltage is effectively stabilized during charge and discharge. At the same time, limit value management of the state-of-charge (SOC) of energy storage equipment is performed, which effectively avoids overcharge and overdischarge and extends the service life.
Finally, the model is built in "MATLAB/Simulink" for charge and discharge simulation analysis. The simulation results show that the control strategy used in this paper can better manage the charge and discharge of the composite energy storage equipment, effectively avoiding overcharge and overdischarge and increasing power limit. And the control method can also fully utilize the complementary advantages of the two types of energy storage components.
Key words: hybrid energy storage; charge and discharge control; droop control;;"SOC" limit value control;
目录
摘要 I
ABSTRACT II
第1章 绪论 1
1.1 研究背景及意义 1
1.2 国内外研究现状 1
1.3 本文主要研究内容 3
第2章 复合储能系统特性分析 4
2.1 复合储能系统的应用 4
2.1.1 复合储能系统应用于交流电网 4
2.1.2 复合储能系统应用于直流电网 5
2.2 蓄电池特性分析 7
2.2.1 蓄电池简介 7
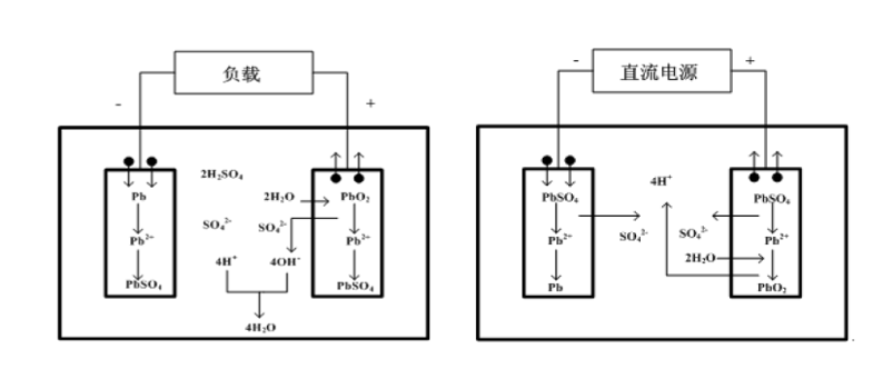
2.2.2 铅酸蓄电池储能原理 7
2.2.3 铅酸蓄电池等效电路模型 8
2.2.4 铅酸蓄电池充放电特性 11
2.3 超级电容器特性分析 14
2.3.1 超级电容器简介 14
2.3.2 超级电容器储能原理 14
2.3.3 超级电容器等效电路模型 15
2.3.4 超级电容器充放电特性 15
2.4 本章小结 18
第3章 复合储能系统充放电控制策略 19
3.1 复合储能系统的结构选择 19
3.2 双向DC-DC变换器工作原理 20
3.2.1 半桥结构双向DC-DC变换器工作于Buck模式 21
3.2.2 半桥结构双向DC-DC变换器工作于Boost模式 22
3.3 复合储能系统充放电控制策略 24
3.3.1 基于荷电状态(SOC)的充放电限值控制 24
3.3.2 下垂控制分析 25
3.3.3 蓄电池储能装置充放电控制策略 27
3.3.4 超级电容储能装置充放电控制策略 29
3.4 本章小结 30
第4章 仿真分析 31
4.1 复合储能系统充放电控制验证分析 31
4.2 本章小结 33
第5章 总结与展望 34
参考文献 36
致谢 38
第1章 绪论
研究背景及意义
近几年化石能源枯竭再加上电力电子在关键技术方面持续突破,使得储能技术的研究得到了广泛的关注。将储能技术引入到船舶电力推进系统中能很好地解决负荷突变对船舶电力系统的影响,同时也能满足让船舶发展更为绿色环保的要求,减少含硫氮等有害气体的排放[01]。储能设备及时的充放电可以减轻电网中功率因外界影响造成的波动,即在网 负小时,对设备充电吸收盈余的电能;在电网负荷较重时,储能设备对外放电减轻电网压力,储能设备充放电过程可以减轻电网波动[02]。
蓄电池储能和超级电容是接入电网中最常用的储能设备,在船舶电网也常用这两种储能设备。蓄电池储能度高,运行时间长,但其功率密度低,超级电容密度高、响应速度快、循环寿命长,但只能短时间放电[03]。由于一种储能设备无法应对电网功率出现异常的所有情况,所以复合储能被提出。它将蓄电池和超级电容通过中间设备组合成复合储能单元,运用合适的充放电控制策略控制两种储能单元运行,充分发挥两中储能设备的优点,达到优势互补,以满足船舶电力推进系统的应用需求[04]。
储能系统既然被应用于电网中进行功率调节,那就需要相应有效的控制对其充放电进行管理。所以复合储能的充放电控制策略的研究必不可少。由于涉及两种储能设备共同工作,所以合理有效的充放电控制策略是维持储能设备充放电状态稳定和长期安全的运行的保障。复合储能的充放电控制既要使储能设备及时的对电网中异常功率进行调节,又要考虑两种储能设备的特性,使充放电过程安全高效,避免储能设备功率越限和过充过放。目前直流电网在船舶中的应用逐渐增加,新建的电推船大多采用直流配电方式,所以对接入直流电网中的储能设备的充放电控制策略的研究更是非要必要。但由于这一技术刚刚兴起,其实际应用和理论研究方面都不太成熟,控制策略更是少之又少。为了使控制安全有效的运用于实船之上,加快国家经济和科研发展,需要对复合储能的充放电策略进行详细的研究。保证复合储能充放电的平滑性和稳定性,延长复合储能系统的使用寿命,使复合储能在船舶上的应用更加普遍[05]。
国内外研究现状
储能系统应用于电力系统中进行调频、事故备用、调压等一些辅助功能已经经过了二十多年的发展。储能技术的应用在国外的研究领先于国内研究好多年,早在1990年德国对自己的风光发电系统就配备了储能设备,使风光发电的质量和连续性得到了改善。日本对储能的研究也比较超前,也在十几年前就对储能系统应用于风电场进行了实验性工程并收获了良好的效果。在北美一些国家,储能技术也投入了商业化发展。相对来说国内则比较落后,国内在2014年左右才真正开始对储能技术的研究,对储能的控制研究更是少之又少。现在对于储能系统在电网中的应用的主要在以下几个方面:提高新能源电能质量、改善电网带负载能力,调节功率,补偿内部损耗,孤网运行,削峰填谷等 [6]。目前国内外学者对储能系统的研究很多,但多数是利用储能系统去解决风光发电,新能源电车,微电网等领域的一些问题。但对于将储能系统应用于船舶电力推进系统中去平抑负载扰动的研究很少。
常用的储能元件分为能量型和功率型[7]。前者的典型代表为蓄电池,它的容量大,但是循环使用时间短;后者典型代表为超级电容,它响应快,功率大,可循环次数多[8]。但是由于能量型储能元件对充放电过程比较敏感,频繁的充放电会减少使用寿命降低使用品质,所以出现了将两种不同特性的储能设备联合使用的复合储能技术。经典的复合储能系统就是由蓄电池和超级电容组成的,他们常用于风光发电和分布式电站[9]。
目前,对于复合储能系统的充放电控制来说,基于功率波动性质的分配进行充放电的方法研究较多[10],它也更加符合不同储能单元的技术特点,也更加适合不同储能单元的联合使用。现在进行研究的对混合储能系统能量分配的主要方法有,滑动平均、专家规则、小波分析、模糊控制、低通/高通滤波[11]等。其中,高(低)通滤波的方法研究最多,也是实际使用最多的分配方法。这种基于高(低)通滤波的方法,大多利用超级电容响应较快的特点,让其优先动作抑制电网中循环高频的功率波动,其余稳定低频部分由蓄电池响应,改善蓄电池充放电过程,减少充放电次数[12]。其余控制策略也有较多的应用,例如文献4中运用多滞环调节控制策略,以超级电容可大功率充放电为基础,在母线电压出现异常波动时快速响应稳定电压波动,使得电网的波动功率得到均衡,减小了蓄电池充放电深度。文献13中在直流微电网中运用电压下垂法控制混合储能系统,通过分析直流母线电压情况,用超级电容器响应高频功率,控制蓄电池为电容充电,用超级电容维持直流母线电压稳定,减少蓄电池充放电次数[13]。文献14中叙述了交流电网中高通滤波器的应用[14],运用滤波器对功率进行分频分配到相应的储能设备中。并考虑储能设备对充放电功率的可承受度防止过充过放,提高储能设备的联合使用性。文献15讨论了储能设备SOC处于不同状态时,采用的充放电控制和过充过放保护策略[15]。根据储能设备各自不同的充放电状态和功率越限情况[16],采用对功率进行直接调节的方式[17]或采用模糊控制策略[18]等间接方法[19-20]对各储能单元充放电功率进行调整,防止单元过充和功率,保护混合中各元件。
综上所示,对于储能设备的充放电控制国内外研究无外乎是,功率限值、过充过放和滤波分配等策略。其中多数结合双闭环控制使得充放电控制更加灵活。本文则以此为基础进行深一步探讨。
本文主要研究内容
本文以船舶复合储能系统充放电控制为研究对象。综合考虑储能元件的荷电状态和充放电特点,提出合理的充放电控制策略。运用合理的充放电控制策略减小储能装置充放电对自身的影响,防止复合储能系统“过充过放”,功率越限,合理地进行功率分配。本文第一部分研究分析了蓄电池和超级电容的基本工作原理。对其选择合适的等效电路模型进行分析,研究它们的充电和放电的特性。第二部分结合实际应用选择储能设备所需要的充放电结构,并对双向变换器工作方式进行了分析。第三部分研究了储能设备充放电控制策略,本文以下垂控制为基础,加入恒功率和双闭环控制。通过对母线电压的变化率进行检测将直流母线功率波动分为高频和低频分量。让,蓄电池则波动。避免的蓄电池的大电流充放电对其造成损伤。充分发挥了超级电容和蓄电池各自的储能优势。而且在充放电过程中加入了的限定管理,对不同储能设备的进行工作区域划分,使得储能设备一直工作于最佳状态,避免了过充过放的发生。,。
第2章 复合储能系统特性分析
复合储能系统的应用
随着社会的发展船舶推进技术也在不断地进步,电力推进技术在其工作效率、操纵性、机动性、能耗维护和经济性等方面有天然的优势被广泛的应用在工程型船舶、军舰和豪华游船上[06]。电力推进船舶取缔传统的机带推进已经是大势所趋,无论是在国内还是国外,他们在船舶动力改造方面都投入了大量资金进行研究。但是由于海洋环境非常复杂,再加上船舶自身的作业要求,船舶负载随时都在变化,有时负载的瞬时波动会达到80%以上,这样大范围、频繁的负载波动会冲击电网和电站系统,造成不可逆转的伤害。同时也会对发电柴油机造成影响,使得柴油机不能在最佳工况点工作,柴油不能充分燃烧,不仅浪费能源,也对海洋环境造成了伤害。
为了解决以上难题,储能设备被加入到船舶电网中,储能设备的引进减轻了母线上功率的剧烈波动,在电网的功率呈现剧烈波动时,储能设备能快速地释放和吸收大量能量抑制扰动,改善电网系统的性能。同时,储能设备的引进也对船舶的启停、换向、减速时能量的回收起到了很好的帮助。但是单一的储能设备并不能满足船舶的要求,所以能量型和功率型储能设备混合的复合储能单元应用于电力推进系统受到了国内外学者和公司的研究。但是这些研究大多利用复合储能系统去解决风光发电、新能源汽车、微电网等领域,对于船舶方面的应用较少。
目前复合储能既能接入船舶交流电网也能接入船舶直流电网,本章则对复合储能系统应用于这两种结构分别进行研究,并对两种储能设备的特性进行分析研究。
复合储能系统应用于交流电网
由于技术的限制目前大多数电力推进的船舶都是使用的交流电网进行配电。对于储能单元的接入最简单的方法是使用AC/DC变换器作为转接设备,将储能设备并联到交流电网上,其拓扑结构如图2.1所示
系统由发电机组、复合储能单元、船舶推进负载、其它、AC/DC转换器和交流组成。发电机通过变频器与交流母线连接,发电机发出的交流电通过变频器进行调制将电能传输到交流母线上,供负载使用。推进器、储能单元、负载等也通过AC/DC逆变器与交流母线并联,完成功率的取用。电网的功率流动分为为三种情况:第一,当推进器和负载取用的功率与发电机发出的功率平衡时,复合储能单元不工作;第二,当船舶轻载时,发电机发出功率不变,多余的能量流向复合储能设备;第三,当船舶重载时,复合储能系统就会释放能量,补充负载运行所需的额外能量。无论工作在那种状态,发电机都工作在最佳工作点,保证最佳的效率,发出的功率也是恒定的。
图2.1 交流母线结构图
以上是毕业论文大纲或资料介绍,该课题完整毕业论文、开题报告、任务书、程序设计、图纸设计等资料请添加微信获取,微信号:bysjorg。
相关图片展示:









