船用喷油电磁阀动态响应仿真研究毕业论文
2020-04-10 14:46:05
摘 要
船用柴油机的发展经历了四个重要阶段,其现阶段的重要特征是船舶柴油机对电子控制技术的应用和对柴油机排放产生的有害物质进行控制,因此电控高压共轨技术成为目前船用柴油机发展的主要方向。喷油电磁阀技术是船用电控高压共轨技术的重要部分,是精确控制燃油喷射和保持良好燃烧降低排放的关键。
本文以船用喷油电磁阀为研究对象,对电磁阀的物理结构,工作原理和动作过程进行研究和分析,在AMESim软件上搭建喷油电磁阀的仿真模型,采用单一变量法更改相关参数进行仿真分析。本文所研究的主要内容如下:
1.以提高船用喷油电磁阀的动态响应为目标,结合喷油电磁阀的结构和工作原理,拟定提高船用喷油电磁阀动态响应的电气参数和结构参数。
2. 为了更好的分析喷油电磁阀的相关参数对其动态响应的影响,根据喷油电磁阀的工作原理,利用电磁阀的电路方程,磁路方程,液压力方程,机械运动方程以及阀口流量方程来建立电磁阀各个部分的数学模型。
3.在AMESim软件上搭建喷油电磁阀的仿真模型,进行仿真计算,对电磁阀的工作过程进行分析。
4.改变影响电磁阀动态响应时间的相关的参数,通过仿真计算分析,研究参数对动态响应时间的影响。
关键词:船用喷油电磁阀,动态响应,AMESim仿真
Abstract
The development of marine diesel engines has gone through four stages. The main features of this stage are the application of electronic controls on marine diesel engines and the control of harmful emissions from diesel engines. Therefore, electronically controlled high pressure common rail technology has become the main direction for the development of marine diesel engines. Fuel injection solenoid valve technology is an important part of marine electronically controlled high pressure common rail technology. It is the key to accurately controlling fuel injection and maintaining good combustion and reducing emissions.
This article takes the marine fuel injection solenoid valve as the object, analyzes the structure and working principle of the electromagnetic valve, sets up the simulation model of the fuel injection solenoid valve on the AMESim, and uses the single variable method to change the related parameters to carry on the simulation analysis. The main contents of this paper are as follows:
First, to improve the dynamic response of the marine fuel injection solenoid valve combined with the structure and working principle of the fuel injection solenoid valve, it is proposed to improve the electrical parameters and structural parameters of the dynamic response of the marine fuel injection solenoid valve.
Second, in order to better analyze the influence of the structure parameters of the fuel injection solenoid valve on its dynamic response, according to the working principle of the fuel injection solenoid valve, the circuit equation of the electromagnetic valve, the magnetic circuit equation, the hydraulic pressure equation, the mechanical motion equation and the valve port The flow equations establish the mathematical model of each part of the solenoid valve.
Third, a simulation model of fuel injection solenoid valve is built on the AMESim software, and simulation calculations are performed to analyze the working process of the solenoid valve.
Fourth, change the relevant parameters that affect the dynamic response time of the solenoid valve. Through the simulation and analysis, study the influence of the parameters on the dynamic response time.
Key words: Marine fuel injection solenoid valve Dynamic response AMESim simulation
目 录
第1章 绪论 1
1.1研究目的及意义 1
1.2 国内外柴油机喷油电磁阀的研究现状 2
1.3本文喷油电磁阀的研究对象和工作原理 5
1.4本文的主要研究内容 7
1.5本章小结 7
第2章 电磁阀数学模型 8
2.1电路数学模型 8
2.2磁路数学模型 8
2.3液压力数学模型 8
2.4机械运动数学模型 9
2.5电磁阀阀口流量数学模型 9
2.6电磁阀环形面泄露数学模型 10
2.7外阀芯运动分析和计算 10
2.7.1外阀芯运动分析 10
2.7.2外阀芯承压面液压力计算 11
2.7.3弹簧复位力 11
2.7.4电磁力计算 11
2.8本章小结 12
第3章 电磁阀动态响应仿真模型 13
3.1 LMS AMESim软件介绍 13
3.2 电磁阀的仿真模型 13
3.2.1驱动电路模型 13
3.2.2电磁铁仿真模型 15
3.2.3电磁阀模型 16
3.3电磁阀的工作过程分析 17
3.3.1磁化电流与电磁力 17
3.3.2电磁力和弹簧力的合力与外阀芯负载力 18
3.3.3外阀芯负载力与外阀芯位移 19
3.3.4外阀芯位移与控制口压力 20
3.3.5锥阀阀口压力与液体流动 21
3.3.6密封面的泄露 23
3.4本章小结 24
第4章 仿真结果分析 25
4.1开启电压对电磁阀动态响应的影响 25
4.2维持电压对电磁阀动态响应的影响 26
4.3伺服油轨压力对电磁阀动态响应的影响 28
4.4残余间隙对电磁阀动态响应的影响 30
4.5运动质量对电磁阀动态响应的影响 32
4.6本章小结 34
第5章 结论和展望 35
5.1全文总结 35
5.2展望 35
参考文献 36
致谢 38
第1章 绪论
本章主要介绍研究船用喷油电磁阀的目的和意义,以及国内外对喷油电磁阀的研究现状和船用喷油电磁阀与车用的区别。然后对本文研究的船用喷油电磁阀的工作原理和物理结构进行分析介绍,确定后续需要进行的技术路线和研究工作内容。
1.1研究目的及意义
随着全球气候变暖等环境问题越来越严重,国际社会对环境保护的意识也越来越强。在船舶领域方面,对船用柴油机的排放法规的要求也日益严格,电控高压共轨喷射系统以其良好的优越性,可靠性,高效性,经济性等的综合性能,己成为现代船用柴油机发展的重要趋势之一。
电控高压共轨喷油系统一个复杂的,非线性的和多维的系统,耦合电磁,机械和液压等多个领域。其循环喷射量,喷射正时,和燃油喷射规律可以精确灵活地控制[1],使得船舶不同工作情况下,自动调整柴油机对应的喷油正时,喷射压力和喷油量等多个参数量,达到最佳的喷油效果。既可以降低柴油机氮氧化物,硫氧化物等污染性气体以及固体小颗粒等污染物的排放,又能够保证柴油机良好的动力性和经济性,从而优化柴油机的综合性能。电控高压共轨喷油系统的喷油特性直接影响柴油机的综合性能,如果要达到不同工况下比较复杂的喷射要求,这就需要优化高速喷油电磁阀的阀体结构参数和电路控制系统来提高喷油电磁阀的动态响应和流通能力,进而提高整个喷射系统的综合性能。喷油电磁阀的快速响应是精确控制的重要因素;流通能力是决定不同工作情况下循环喷油量的重要因素,但是提高电磁阀的流通能力和响应速度之间是相互矛盾的 [2],所以如何寻求两者之间的最佳值,使得电磁阀满足相关的设计要求,这就对阀体结构设计,液压传动与电路控制系统的性能和控制精度等提出了更高的要求。
由于我国在船用电控高压共轨技术上发展较晚,以及国外在此技术上的封锁等原因,我国的一些企业和研究机构等目前主要集中于学习和仿制国外产品与技术,并长期处于落后的地步。目前,已经有一些高校和企业研发机构投入到电控系统的开发当中,其中对于高速喷油电磁阀的研究是其重要的一部分,因为喷油电磁阀的性能好坏与高压共轨喷射系统以及整个柴油机的动力性,经济性,环保性等综合性能有着密切的联系,所以研究开发高速大流量喷油电磁阀,使其动态响应特性和流通能力满足现代高压共轨喷射系统的技术要求,是我们在研究开发中需要关注和解决的关键问题,这将对我国的船用低速柴油机自主电控高压共轨喷射技术的发展起到促进和推动作用。
通过对船用喷油电磁阀的动态响应仿真研究,运用AMESim计算机仿真技术对电磁阀动态响应特性和流通能力进行分析。不仅可以预测相应参数下喷油电磁阀的性能,研究对应的结构参数和驱动电路控制参数对电磁阀的动态响应等性能的影响[3],还可以对喷油电磁阀所涉及的整个共轨喷射系统进行整体分析和评估,从而提出合理的结构设计参数和电路控制参数,为优化整个喷油电磁阀的设计和匹配提供理论依据,达到优化结构设计、节省人力物力、缩短设计与匹配周期和提高船用喷油电磁阀响应特性和流通能力的目的。开展对船用喷油电磁阀的动态响应仿真研究,为以后自主开发船用电控高压共轨系统提供阶段性初步实验数据,对我国的高速电磁阀的研究具有重大意义。
1.2 国内外柴油机喷油电磁阀的研究现状
电控高压共轨系统喷射系统与传统喷油系统的最大区别是,前者在所用的喷油器上安装了高速喷油电磁阀,直接控制喷油系统的喷射开启时间,压力,动作以及喷油的持续时间等[4]。
随着高压共轨技术的快速发展,相应的高速喷油电磁阀也经历了飞跃式的发展,目前在车用喷油电磁阀领域已经广泛使用,并且型号,结构可以满足各种需求,但是对于船用喷油电磁阀来说,其发展相对较慢,主要原因有以下几点:
①正常工况下,循环喷油量大,并且在遇到恶劣海况时柴油机的工况变化较大且无规律,使得循环喷油量的变化也毫无规律;②工作环境比较恶劣,表现在高温,振动,潮湿等;③燃油品质差,多使用重油,成分复杂;④长时间持续运转;⑤由于船舶工作环境特殊,使得喷油电磁阀需要更高的可靠性。因此开发高质量的船用喷油电磁阀存在较多的困难,开发的速度相对较慢。
目前电控高压共轨燃油喷射系统喷油电磁阀的电磁铁主要有三种形式:电磁铁式、压电式以及超磁致伸缩式[5]。在这三种形式当中,电磁铁式由于结构设计和工作原理相对简单,对其的技术研究时间最长,在原材料方面可选用的软磁性材料很多,并且在现有的技术和加工条件下容易实现大批量化生产,因此广泛应用于高速喷油电磁阀中。同时因为船用低速柴油机的转速低,对电磁阀的动态响应速度要求相对较低,但因其柴油机功率较大,每次喷射所需的循环供油量大,所以对电磁阀流量特性要求较高,这就要求喷油电磁阀能够在较大的行程范围内(满足流量特性)提供足够的电磁力,因此电磁铁式的设计结构相对于其他结构形式更具有优势[6]。
随着“E”型电磁铁的伸长,响应速度和电磁力同时提高,但衔铁的刚度却逐渐下降。基于这样的问题,英国Lucas公司设计了Helenoid和Colenoid电磁铁如图1.1、图1.2所示,克服了伸长式“E”型电磁铁在刚度上的限制问题[7][8][9]。Helenoid电磁铁为筒状多极式结构,该结构的好处是衔铁体积小,有效吸合面积大。电磁铁在设计结构上采用多个斜齿,在通电时可以构成多个局部磁回路,使得电磁铁结构更紧凑,在有限空间内电磁吸力更大,所以响应速度也相应变的更快,开启与关闭响应时间均小于lms。并且在不采用叠片方式下就能很好地减小涡流产生的影响。但是由于结构设计的缺陷,为避免反向漏磁,阀杆工作升程被限制在1 mm以内,使得流量较小。Colenoid电磁铁为锥型结构,避开了反向漏磁的结构缺陷,工作行程可达到10mm,相对于前者极大地增大了流量,同时在响应时间上,电磁阀的开启时间为0.75ms,关闭时间为0.8ms[6][10][11][12]。

图1.1 Helenoid电磁铁 图1.2 Colenoid电磁铁
美国Caterpillar公司研发的电控燃油喷射系统HEUI,其电磁阀结构如图1.3所示。该电磁阀为二位三通双锥常闭式电磁阀,阀芯通径大且为中空式,使得流量大,运动质量小,流通能力和动态响应速度均得到提高。在110V的电压下电磁阀的开关响应时间为1ms左右。在阀芯设计上使高低压油腔在轴向液压面积相等,达到了高低压平衡的目的,消除了液压力对阀芯位置以及移动的影响,提高了工作压力范围。其缺点是由于要保证阀芯和锥面的密封性,所以对阀芯与阀座的同轴度要求很高,使得加工工艺和安装工艺变的困难[6][10][11][12]。

图1.3 HEUI二位三通电磁阀
瓦锡兰公司的flex-50B型柴油机的喷油电磁阀采用双电磁铁结构,其电磁阀结构如图1.4所示。在电磁阀中,阀芯的行程为0.3mm,采用50~60A的激励电流,动态响应时间为4.5ms [13]。;该电磁阀作为控制油共轨管上的控制阀先导阀,用来控制共轨管到喷油器的燃油喷射。MAN公司的ME系列柴油机的喷油控制电磁阀采用Bosch Rexroth公司生产的FIVA阀,该电磁阀为先导式二位五通阀,采用电机驱动的方式,控制先导阀芯的位置,先导阀芯决定高压油路的变换,主阀芯运动实现油路的切换。该电磁阀的缺点是结构比较复杂,配合公差要求比较高使得制造和安装工艺困难,并且要求燃油清洁度比较高,维护和修理的难度加大[6][14][15]。
图1.4 flex-50B型柴油机共轨电磁阀结构
国内关于高速喷油电磁阀的研究起步较晚,研究成果主要有以下几种。贵阳红林集团设计的螺纹插装式电磁阀[16]如图1.5所示,结构设计主要特点为:采用球阀结构作为运动阀芯,自动对中,密封性好,通过系统液压差自动复位,球阀的开度由选配分离销的长度来决定。开闭响应时间分别为3ms,2ms,重复性时间正负0.05ms;阀口通径小,额定工作压力最大不超过20MPa,流量最大不超过9L/min。优点是动态响应速度快,循环性好,工作可靠等;缺点是流通能力不高[6][10][11][12]。


1衔铁 2线圈 3极靴 4推杆 5回油球阀 6分离销 7供油球阀
图1.5 螺纹插装式电磁阀 图1.6 平面式电磁阀
海军工程大学根据典型的球型电磁阀研制出了平面式的电磁阀[17]图1.6所示,在结构设计上将控制球阀改为了平面式密封电磁阀,解决了当液压力过大时,球阀泄漏的问题。电磁阀的动态响应速度时间0.389ms,符合转速为1 500 r/min,对应曲柄转角为3.50CA的柴油机喷射系统的要求。缺点是流通面积、电磁力较小,阀芯行程较短,只能应用在小型柴油机,并不能适应于船舶等大功率柴油机的共轨喷油系统中。
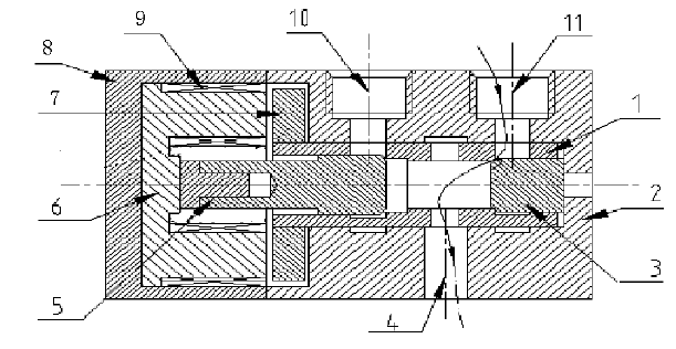
1.线圈2.进油口3.线圈骨架1.端盖5.线圈骨架6.线圈7.阀芯8.回油口9.垫片10.出油口11.线芯
以上是毕业论文大纲或资料介绍,该课题完整毕业论文、开题报告、任务书、程序设计、图纸设计等资料请添加微信获取,微信号:bysjorg。
相关图片展示:









