绞吸挖泥绞刀切削特性分析及研究毕业论文
2020-02-19 09:14:21
摘 要
绞吸式挖泥船是疏浚工程中常用的船舶,在世界范围内得到了广泛的应用。绞吸式挖泥船结合了其它挖泥船的优点,并具有自己独特的功能。它能够一次性完成切削挖掘、泥浆输送、泥浆排出和泥浆处理四个复杂过程,因此绞吸式挖泥船具备较高的施工效率,因此广泛应用于吹填造地、水路改善及航道整治。本文以实际工程中的绞吸式挖泥船为研究对象,结合绞吸式挖泥船的工作原理,对绞吸式挖泥船的绞刀进行三维建模,进一步分析了绞吸式挖泥船在不同工况下的切削效率,为绞吸式挖泥船施工过程中的运行参数提供理论依据。本论文主要完成以下工作:
(1)初步了解并深入研究绞吸式挖泥船的组成及工作原理,为绞刀的三维建模与绞刀切削量的计算提供理论依据与计算依据。
(2)了解绞吸式挖泥船绞刀切削特性,分析影响绞吸式挖泥船切削工作效率的因素。
(3)根据绞吸式挖泥船的工作原理,对绞吸式挖泥船的绞刀进行三维建模。计算绞吸式挖泥船砂土绞刀的切削量。
(4)通过对绞吸式挖泥船绞刀在不同条件下的切削效率的分析,提出了绞吸式挖泥船的合理工况。
关键字:绞吸式挖泥船;切削效率;切削量;
Abstract
Cutter-suction dredger is a kind of relatively common in hydraulic dredge, is currently the dredger widely used in the world. It has some advantages which other types of dredger to mining, transport, discharge and treatment of mud dredging process at one time, to be able to in the construction of continuous operation, higher construction efficiency, therefore in the reclaimed stretched, waterway regulation and maintenance engineering and widely used. Based on actual cutter-suction dredger, combining cutter-suction dredger working principle of cutter-suction dredger reamer three-dimensional modeling, to wring suction dredger in the cutting efficiency under different working conditions for further analysis, for the ground operation parameters in the process of suction dredger construction to provide theoretical basis. This thesis mainly do the following:
(1)Familiar with and understand cutter-suction dredger the composition and working principle of cutter for 3 d modeling and reamer provides the theory basis for the calculation of cutting quantity and calculation basis.
(2)Further study of cutter-suction dredger cutter cutting characteristics, and analyze the influence cutter-suction dredger cutter cutting are the important factors of work efficiency.
(3)Based on the operation principle of cutter-suction dredger, 3 d modeling to wring the cutter suction dredger. And the ground suction dredger the size of the cutting amount is calculated.
(4)According to the different conditions of ground cutting efficiency analysis of the cutter suction dredger heave suction dredger reasonable working conditions .
Key Words:
Cutter suction dredger;Cutting efficiency;Cutting quantity;
目录
第一章 绪论 1
1.1 绞吸式挖泥船应用与研究背景 1
1.1.1绞吸式挖泥船应用范围 1
1.1.2绞吸式挖泥船特点 2
1.1.3绞吸式挖泥船国内外研究现状 3
1.2课题研究目的及意义 4
1.3研究路线 5
第二章 绞吸式挖泥船构成及工作原理 6
2.1绞吸式挖泥船构成 6
2.2绞吸式挖泥船工作过程 8
2.3绞刀分类 10
2.4绞吸式挖泥船绞刀绞切分析与研究 11
2.5小结 13
第三章 绞刀三维建模 14
3.1绞刀结构组成 14
3.2绞刀三维建模数学分析 16
3.2.1绞刀的主要几何参数 16
3.2.2绞刀建模分析 16
3.2.3绞刀轮廓线拟合 17
3.3某型绞刀三维建模分析 18
3.3.1绞刀的几何参数 18
3.3.2绞刀大环模型的建立 19
3.3.3绞刀刀臂三维模型的建立 20
3.4小结 21
第四章 绞吸式挖泥船切削效率分析 22
4.1绞刀切削力建模与分析 22
4.2绞刀切削量数学模型建立 23
4.3绞刀运行参数对切削量的影响 29
4.3.1绞刀挖掘深度对切削量的影响 29
4.3.2绞刀步进量对切削量的影响 30
4.4小结 31
第五章 总结 32
5.1本文主要研究成果 32
5.2研究展望 32
参考文献 33
致谢 34
第一章 绪论
1.1 绞吸式挖泥船应用与研究背景
1.1.1绞吸式挖泥船应用范围
疏浚工程中使用最为广泛的船舶是绞吸式挖泥船。绞吸式挖泥船通过绞刀的切削作用将河海中的泥土搅碎,之后将泥土与水混合形成泥浆,大功率的泥泵将泥浆吸入,泥浆从挖掘点到指定的泥浆排放点是通过长距离大口径的输送管排出,绞吸式挖泥船的工作特点为可连续不断的进行工作,即在工作过程中泥土的切削挖掘和泥浆运输是连续完成的[1]。依据工程的特点,绞吸式挖泥船的使用可分为以下三点:
(1)疏浚工程:对原有航道或者河道进行水域的拓宽、浚深、裁直和对航道进行清淤以及维护等。
(2)吹填工程:利用绞吸式挖泥船吸出的泥浆,通过管道排放放到一些坑洼地区、滩涂地区进行填埋加高使之成为正常使用的土地。
(3)基础建设:用于基础公共设施的施工建造、河流湖泊的环境保护以及城市湖泊、河流的市容容貌整治。
图1-1亚洲最大绞吸式挖泥船“天鲲号”
1.1.2绞吸式挖泥船特点
绞吸式挖泥船配有定位钢桩和定位钢桩起落装置。该装置用于在挖泥工作期间定位绞吸式挖泥船以及船体的横向移动和纵向移动。而在绞吸式挖泥船吸泥管的入口端安装有旋转绞刀装置。该装置通过机械动力绞切和搅拌水下的泥沙,从而实现从吸泥口吸入大量泥沙进而增加了泥浆的浓度,这样一来相比于吸扬式挖泥船就提高了挖泥的生产效率,从而扩大了挖掘土壤土质的范围。绞刀桥架也是绞吸式挖泥船的一个显著特征,与其它挖泥船不同。绞刀桥架用于安装绞刀和吸泥管、驱动系统和其它设备。
绞吸式挖泥船的船体型式也是其结构特点之一。绞吸式挖泥船钢质、力箱型船体,是分体组装形式(由多个片体组合而成),以方便水陆运输。同样,绞吸式挖泥船有良好的经济性。土壤的切削和挖掘以及泥浆的运输可以在没有其它船舶的协助的情况下一次性完成,这大大降低了工程成本[2]。绞吸式挖泥船的切削挖掘量大,泥泵泵距远。大型的绞吸式挖泥船每小时挖掘并运送的泥浆高达上千立方米。绞吸式挖泥船易于操作。绞吸式挖泥船的船上通常安装有两根钢桩,利用船尾的台车使船舶定位和前进,当挖泥船向前移动时,两根钢桩依次替换,船舶向前推进。
图1-2 绞吸式挖泥船
1.1.3绞吸式挖泥船国内外研究现状
绞吸挖泥船于1884年起源于美国,是世界上第一台带有圆柱形绞刀头的绞吸挖泥船,该船配备了一种皇冠式绞刀,它是绞吸式挖泥船绞刀刀具的原型,也为现代绞吸式挖泥船绞刀的形状提供了重要的参考价值。1929年,Pieter.V.W设计出了一种带有三个刀臂的开放式绞刀,片状的切削元件都安装在刀臂上,这被称为当时最先进的绞刀。到了20世纪70年代,美国Esco公司和荷兰LMG公司设计了第一代绞刀,在当时的疏浚业发挥了举足轻重的作用,但随着人们对疏浚效率的要求慢慢提高,并且该公司设计的绞刀在工作中磨损严重、绞刀的配件耐久性差,于是在80年代推出了二代绞刀,很好地解决了上述问题。 1977年, Breebst.B.V提出了一种全新的概念,他的想法是建造一个基座式绞刀,这个概念颠覆了传统绞刀的设计结构,极大地提高了工程效率,并且减少了对环境的污染,同年第一艘自航式绞吸式挖泥船在荷兰诞生。1986年比利时Youngru公司成功研制了“LeonardodaVinei”号自行式绞吸挖泥船,该船的总装机容量为20000千瓦,由计算机控制的船舶自动化系统能保证船舶以最佳状态运行;在之后的几年间得到了大规模应用。
绞刀系统的研发一直都是各大造船厂的重点,荷兰的 LMG 公司研发了世界上第一代绞刀切削装置,在当时发挥了极大的作用[3],但在随后的使用过程中,第一代系统逐渐暴露出诸如切削功耗大、刀齿无法相互配合以及绞刀轴易断裂等问题;20 世纪90 年代LMG公司开发出的第二代绞刀切削装置解决了第一代装置的问题,大大提高了当时的施工效率;2005年,荷兰LMG 公司发布了第三代 T型切割设备,该设备延续了第二代的设计理念,追求最低切削功耗并改善各种性能要求。随着三维建模技术的成熟,绞刀切削系统的设计已经转向生产周期短、制造成本低、实用性强的特点。
中国对绞吸式挖泥船的研究和开发起步较晚,多年维持着从国外进口整船的状况。目前,我国对绞吸式挖泥船绞刀的设计仍处于仿制国外设计阶段,但随着时间的推移,国内研究机构及相关船舶公司在绞刀的设计方面已取得一定成效。Nifusheng使用Pro/E软件初步对绞刀进行了三维建模,在我国这是首位对绞刀进行的三维建模。李洪斌、徐立群则改变了传统的绞刀三维造型,并在VB语言环境中开发了SolidWorks软件的二级程序,由此实现了绞吸式挖泥船绞刀的参数化建模。在环保型绞刀设计中,中国也取得了一定成果,张德新根据相关绞刀模型设计出了新型环保绞刀。刘恒序总结了国内外环保疏浚型绞刀的研究现状,结合实际工程需要,设计出了螺旋叶片绞刀,这种类型的绞刀大多运用在中型绞吸式挖泥船上 [4]。综上所述,我国对于绞吸式挖泥船绞刀的研究尚处于模仿阶段,产品与国外仍存在较大差距。
1.2课题研究目的及意义
本论文研究绞吸式挖泥船施工过程中影响绞刀切削效率的相关因素,为绞吸式挖泥船施工过程中的运行参数提供理论依据。
绞刀切削量的计算结果可以很好的运用到实际工程中去,在实际工作过程中绞吸式挖泥船工作状态的泥浆浓度可以根据绞刀的挖掘量估算出,进而合理调整绞吸式挖泥船的各项运行参数以免泥浆浓度过低造成施工效率低下,或泥浆浓度过高导致输泥管堵塞。绞刀切削量的计算结果不仅可以使绞吸式挖泥船在工作过程中更好的调整运行参数,保证切削效率的同时不至于对机器进行损坏。对于一些执行拓宽和挖深航道和港口或填海造陆等一些任务的绞吸式挖泥船,可以依据绞刀的挖掘量对绞吸式挖泥船的工作进程进行合理的安排。
除此之外,当今社会人们对于环保问题也越来越重视,在绞吸式挖泥船施工过程中存在的的种种问题也亟需解决。例如:绞吸式挖泥船在施工过程中因绞刀切削的泥土没有被输泥管完全吸入,从而导致了泥浆的溢出导致污染环境的问题,而通过计算绞刀的切削量可以很好的减轻污染环境的问题。可以根据绞刀切削量的计算结果调整泥泵的工作功率,从而达到减少泥浆的溢出。相比于造价昂贵的浓度计只能计算输泥管道内的泥浆浓度,通过绞刀切削量的计算不仅可以在不需要浓度计的基础上估算出泥浆的浓度,而且也不局限在输泥管内,可以有效地调整泥泵的功率改变吸泥口的吸力,从而达到既环保又有工作效率的双重目标。
1.3研究路线
图1-3 研究路线流程图
第二章 绞吸式挖泥船构成及工作原理
2.1绞吸式挖泥船构成
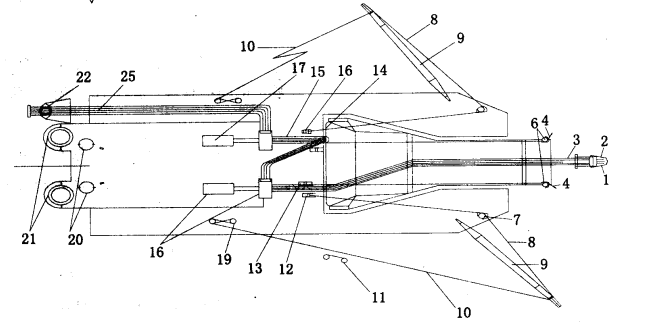
绞吸式挖泥船简图及各部分部件名称如图2-1、图2-2所示:
图2-1绞吸式挖泥船外形及主要装置简图
图2-2绞吸式挖泥船外形及主要装置简图
1-绞刀;2-吸泥口;3-吸泥管;4-左、右横移绞缆;5-横移锚;6-左、右水下滑轮;7-左、右起锚缆导向滑轮;8-左、右起锚缆;9-左、右抛锚拔杆;10-左、右抛锚拔杆限位绳;11-左、右限位缆中部连接用外胎;12-右起锚车;13-右横移绞车;14-绞刀桥架起落绞车;15-左横移绞车;16-左起锚绞车;17-左泥泵与主机;18-右泥泵与主机;19-系揽桩;20-定位桩起落油缸;21-定位桩抱箍;22-鹅颈管;23-船上排泥管;24-定位桩起落钢丝绳;25-左、右定位桩;26-驾驶室;27-绞刀桥架起落钢丝绳;28-门架支重缆;29-抛锚拔杆支重缆;30-绞刀液压马达;31-绞刀桥架与船体铰接耳轴;32-吸泥胶管;33-门架;
绞吸式挖泥船由四大系统组成,各系统功用及组成如下:
(1)绞刀切削系统:绞吸式挖泥船的挖掘功能是通过绞刀系统实现的。通过动力装置的驱动使绞刀旋转,以完成对土壤的切削,切削后破碎的泥土与水混合形成泥浆,泥浆通过吸泥管道吸入泥泵。绞刀系统还包括绞刀架、绞刀架的起落装置及用于绞刀的驱动装置。绞刀桥安装在船首中间,绞刀的驱动单元、绞刀的减速传动系统、绞刀和吸泥管安装在绞刀桥架尚。牵引钢丝绳与起落刀架的绞车的滚筒相连,通过调节绞车的正转、反转、和停止,对桥架的起升、下落与停止进行有效控制,绞刀桥架的升降也可调节绞刀的挖掘深度[5]。目前绞刀动力装置大部分采用水下电机利用变频技术对绞刀转速进行控制。
(2)吸扬系统:吸扬系统主要输送绞吸式挖泥船绞刀绞切产生的泥浆。该系统是绞吸式挖泥船的关键环节。吸扬系统主要包括吸泥管、水下泵、舱内泵、排泥管、水下泵和舱内泵传动装置。泥浆泵是吸扬系统中的关键设备。绞吸式挖泥船使用的泥泵大多为离心式水泵,在驱动主机的驱动下,产生的泥浆从吸入口吸入并产生一定的压力和动能,将泥浆通过排泥管排到指定位置。水下泵主要采用水下电机利用变频控制技术调节泥泵的转速。绞刀桥架的内部安装有吸泥管,经过泥泵的抽排,通过吸泥管将绞刀内部形成的泥浆吸入到水下泵中。舱内泵一般设有两台,主要为泥浆输送提供水头压力及动能,保证可将管道内泥浆输送到指定排放位置,舱内泵采用柴油机进行驱动,为保证泥泵转速在允许范围之内,在柴油机与泥泵之间设置有减速齿轮箱。排泥管线:此排泥管线是指固定布置在船体上钢制泥管,在其前端连接着泥泵,在其船尾部分通过可旋转的活动接头鹅颈管连接到水下泥浆管。
(3)横移系统:横移系统的功能是确保绞吸式挖泥船在施工过程中能来回摆动,达到挖掘和拓宽河道的目的。横移系统主要包括横移绞车、横移缆绳、导向滑轮、横移锚头、抛锚拨杆。横移绞车通过横移绞盘正转或者反转,从而能够收放横移缆绳。在工作期间,当绞吸式挖泥船需要向一侧摆动时,拧紧一侧的横向缆绳,同时放松另一侧的横向缆绳。横移缆绳由钢丝绳制成,一端通过水下导向滑轮链接到横向绞车上,另一端连接到横向锚链上。导向滑轮目的是引导和变向横移缆绳,该滑轮固定在绞刀桥架上。横移锚头主要起定位作用,锚摆放在开挖掘的断面之外,通过横移锚艇或者是抛锚拔杆进行锚的移动固定,横移锚头主要用来支撑横移缆绳。通过抛锚拔杆的推送作用对横移锚头位置进行准确定位,施工过程中根据挖泥船所需挖掘宽度及每次挖掘步进量对横移锚头的位置进行调整,绞吸式挖泥船的驱动器通过控制锚杆装置在绞刀桥上的操作来执行横移锚头的操作位置,可大大减少锚艇的工作量与工作强度并且减少了对应船员的工作强度。
(4)定位系统:定位系统主要定位绞吸式挖泥船在作业过程中的位置,绞吸式挖泥船上有两根定位钢桩。当在一个位置的操作结束之后需要绞吸式挖泥船前后移动时,定位系统中的主桩与辅桩交替地下降。定位钢桩台车装置也被安装在绞吸式挖泥船上。由液压油缸驱动并前后移动的台车装置[6]。步进系统主要对绞吸式挖泥船每次施工过程中的切宽进行控制,该装置主要由一套液压系统完成每次步进量调整,绞刀的长度决定了绞吸式挖泥船每次最大的步进量,定位系统极大地提高了绞吸式挖泥船的生产效率。定位桩是有钢板卷制成桶状的构件,在其最下端呈锥形,钢桩长度及重量较大,定位作业时通过钢桩自重作用直接扎入土层从而起到定位作用,起桩时辅桩扎入土层中,通过起桩缆绳的悬吊作用完成主桩的拔出工作。
2.2绞吸式挖泥船工作过程
绞吸式挖泥船的工作原理是使用绞刀将泥土绞碎,与水充分混合形成泥浆,利用绞吸式挖泥船上的离心式泥泵的作用,在其吸管处产生一定的真空度后,经吸入管顶端的吸泥头将泥浆经泥泵的排出管,然后将泥浆排入到指定位置处。
根据外部施工环境和施工要求,绞吸式挖泥船的施工作业有两种方法,绞吸式挖泥船的施工作业分为中线切入法与边线切入法。中线切入法是绞刀沿中线切入,沿左右两边双层挖掘。边线切入法是绞刀从边线切入,单层挖掘。前者的优点在于单次挖掘、重挖情况少,且挖掘速度快,因此实际应用中多采取此种方式,但是这种操作相对比较复杂。当采用边线法进行切削挖掘时,绞刀切削的起点和终点都位于挖掘坡度的边缘,当绞刀下放至起点附近时,绞刀电机驱动绞刀旋转,控制绞刀左右横移运动的横移电机开始工作,通过电机的正反转和协调控制,驱动绞刀从左至右或者从右至左进行挖掘。当完成一层泥面施工时,通过调节桥架上控制绞刀升降的电机进给绞刀的挖掘深度,然后反方向开始下一层泥面的施工,一直循环下去,直到完成整个断面的施工。当这一范围内的施工完成时,收回主定位桩,下放辅定位桩,然后台车推进系统推动船体驶向下一个施工地点。边线切入法操作相对简单,对设备的损伤较低。两种不同挖掘方法的具体挖掘过程如图2-3、2-4所示:
以上是毕业论文大纲或资料介绍,该课题完整毕业论文、开题报告、任务书、程序设计、图纸设计等资料请添加微信获取,微信号:bysjorg。
相关图片展示:











![C:\Users\Administrator\Documents\Tencent Files\184715138\Image\C2C\RIU)U($I0PFLWX]ANGVMSVX.png](http://www.biyelunwen.org/wp-content/uploads/2020/02/lw5399_202021991418571.png)

