漩涡泵内部流动CFD仿真分析毕业论文
2020-02-19 09:08:45
摘 要
旋涡泵和离心泵一样也是叶轮式泵,依靠叶轮的旋转来产生旋涡运动传递能量,从而来吸入、排出液体。旋涡泵具有结构简单紧凑、制造价格低、重量和体积小的特点,常常应用在小流量、高扬程的场合。因此旋涡泵被普遍应用于消防、纺织、供水、能源输送等家庭和国民经济的各个领域中,但是旋涡泵存目前存在的主要问题是效率过低,达不到人们的预期。旋涡泵内部流动十分复杂,旋涡泵内部依靠叶轮的旋转是液体产生的旋涡运动是三维不可压的湍流流动,因此对旋涡泵采用一般的实验方法很难对其内部流动进行分析、研究,所以采用仿真分析的方法对旋涡泵内部流场进行研究。通过Creo和SCDM软件对旋涡泵进行三维建模,用Ansys软件对其内部流道进行网格划分并检查网格无关性;运用Fluent软件对旋涡泵内部流场进行数值模拟计算。
本文的主要内容是通过应用流体动力学CFD方法,研究漩涡泵的内部流动的状态,分析研究进口压力,出口压力和速度等参数对漩涡性能的影响。从而为改进旋涡泵的性能提供依据。
关键词: 旋涡泵;数值模拟;内部流场;CFD
Abstract
The vortex pump is also an impeller type pump, which relies on the rotation of the impeller to generate vortex motion to transfer energy, thereby inhaling and discharging the liquid. The vortex pump has the characteristics of simple and compact structure, low manufacturing cost, small weight and small volume, and is often used in applications with small flow and high lift. Therefore, vortex pumps are widely used in various fields such as fire protection, textiles, water supply, energy transmission, and the national economy. However, the main problem currently existing in vortex pump storage is that the efficiency is too low to meet people's expectations. The internal flow of the vortex pump is very complicated. The rotation of the vortex pump depends on the rotation of the impeller. The vortex motion generated by the liquid is a three-dimensional incompressible turbulent flow. Therefore, it is difficult to analyze and study the internal flow of the vortex pump by the general experimental method. The simulation analysis method is used to study the internal flow field of the vortex pump. The vortex pump was modeled in three dimensions by Creo and SCDM software. The internal flow channel was meshed and checked for grid independence using Ansys software. The internal flow field of the vortex pump was numerically simulated by Fluent software.
The main content of this paper is to study the internal flow state of the vortex pump by applying the fluid dynamics CFD method, and analyze the influence of parameters such as inlet pressure, outlet pressure and velocity on the vortex performance. Thereby providing a basis for improving the performance of the vortex pump.
Key words: vortex pump; numerical simulation; internal flow;CFD
目录
第1章 绪论 7
1.1课题研究的意义 7
1.2数值模拟 8
1.3国内外旋涡泵研究进展 8
1.3.1国外研究现状 8
1.3.2国内研究现状 9
1.4研究方法与研究内容 10
1.4.1研究方法 10
1.4.2研究内容 11
1.5 本章小结 12
第2章 旋涡泵内部流动理论分析 13
2.1 CFD介绍 13
2.2 旋涡泵的工作原理 13
2.3 纵向旋涡和径向旋涡理论 14
2.4 控制方程的建立 16
2.5 FLUENT软件介绍 17
2.6 标准k-湍流模型 17
2.7 本章小结 18
第3章 旋涡泵内部流场的数值模拟 19
3.1 旋涡泵内部流场的建模 19
3.2 模型网格的划分 20
3.3 计算参数的设置 22
3.3.1 interface设置 22
3.3.2 启用标准k-湍流模型 23
3.3.3 材料添加 24
3.3.4 网格区域条件的设定(Cell Zone Conditions) 25
3.3.5 边界条件设定(Boundary Conditions) 26
3.3.6 选择解决方案方法 27
3.3.7 求解参数及收敛判别 27
3.3.8 旋涡泵扬程曲线 29
3.4本章小结 29
第4章 旋涡泵内部流道特性分析 30
4.1旋涡泵静压云图 30
4.2旋涡泵速度云图 31
4.3旋涡泵流线图 32
4.4 叶片数量Z对旋涡泵的影响 32
4.5 本章小结 33
第5章 总结与展望 35
5.1 总结 35
5.2 展望 35
参考文献 37
致谢 39
绪论
1.1课题研究的意义
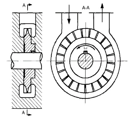
旋涡泵和离心泵一样也是叶轮式泵。旋涡泵主要由叶轮、泵体和泵盖构成如图1.1所示,而旋涡泵泵体与旋涡泵叶轮之间的部分就是旋涡泵工作是流体的内部流道。通过对旋涡泵内部流道的CFD仿真分析,
图1.1旋涡泵结构示意图
在如今的工程应用当中,旋涡泵的有它独特的特点,结构简单紧凑、制造价格低、重量和体积小、绝大多数是单级泵,其性能犹如一台小型的多级离心泵,它的比转速一般低于40,在性能相同的情况下相比离心泵有体积更小,重量更轻的特点;在扬程相同的情况下相比容积式泵,有结构更简单,尺寸更小的特点。但是当旋涡泵的比转速高于40时,旋涡泵的效率会降低,因此在这种情况下我们会较少使用旋涡泵。并且旋涡泵正常情况下只能用来输送相对纯净的液体,因为当运送的液体中含有杂质颗粒物,或者企业混合体时,杂质会在高速运动的过程当中磨损叶轮和泵体,对叶轮和泵体造成损伤,从而引起轴向间隙和径向间隙的增大导致旋涡泵容积效率降低和流量的减小。因此当运送的液体中含有杂质的时候不用旋涡泵来进行运输。一般闭式旋涡泵不具有自吸能力,要使其能够自吸,需要在旋涡泵的排出口设置气液分离室,同时设置回液口来使分离出来的液体能在排出端挤入叶片根部来驱赶旋涡泵泵体内气体,然后又被带回吸入端重新裹挟气体。而闭式流道的开式旋涡泵只要将吸、排口朝上安装并在初次启动的时候提前向泵内灌满液体或借助于简单装置即可实现自吸。同时旋涡泵的陡降的扬程-流量和功率-流量曲线,因此旋涡泵对内部流场中的压力变化并不敏感。对于抽送那种易挥发的液体和气化压力很高的高温液体导致流道中充满气液混合体,闭式流道的旋涡泵或开式向心流道的开式旋涡泵能输送气液混合物。
1.2数值模拟
数值模拟称之为计算机模拟。数值模拟是通过利用电子计算机作为工具,依靠有限元和有限容积来对需要进行研究的模型进行求解。通过计算机的工作显示出与结果相关的各种图像、各种曲线图。数值模拟我们可以在计算机上形象地再现物理流动的情景,在研究模型的时候会有更加直观的感受,对研究分析模型有很大的提升。数值模拟可以通过应用的模型来进将其其分为物理仿真、数学仿真和物理-数学半实物仿真三类。在数值模拟的流动计算中应用比较广泛的方法有三种,分别是有限差分法、有限容积法以及有限单元法。
1.3国内外旋涡泵研究进展
1.3.1国外研究现状
最开始来对旋涡泵来进行研究工作的人是里台尔[1],他对旋涡泵的工作原理做了大量的研究,提出了旋涡泵工作过程假说: 旋涡泵工作时,叶轮由电机带动做高速旋转,进入流道的液体在叶轮的高速旋转作用下作圆周运动,液体产生离心力。因为叶轮中的液体的圆周速度比旋涡泵流道中的液体的圆周速度大,所以叶轮中液体产生的离心力大于流道中流体产生的离心力。因此在轴面上形成纵向旋涡运动。这种纵向旋涡运动造成叶片间的液体进入泵的流道中的时候,和旋涡泵流道中的流体进行动量交换。存在于叶片之间的液体会和旋涡泵流道中的液流进行能量的交换。液体在沿着整个流道向前运动的时候,液体会多次进入叶轮叶片间进行能量交换。这个过程多级离心泵一样,经多次重复后由排出口流出,这也是旋涡泵的扬程要高于一般的叶片式泵的原因。里台尔的所提出的假说是在他对旋涡泵工作原理进行大量研究的基础上得到的结论。在此基础上,后来的学者把旋涡理论发展为纵向旋涡加径向旋涡理论[2] 旋涡泵工作时的内部流场中同时存在纵向旋涡和径向旋涡,它们都可以来传递能量。旋涡泵通过流体在流道内产生旋涡运动,实现液体质点之间的能量的传递,从而使旋涡泵的扬程比其其他泵来说相对较高。在旋涡泵中哪种旋涡在能量的传递过程中作用更大,这取决于旋涡泵的结构和内部设计,同时也于旋涡泵的运行时的工况有关。因此国内外学者对旋涡泵性能的实验研究都是来研究它某一方面的性能和旋涡泵结构的关系,主要是通过那些影响旋涡泵性能的过流部件例如叶轮、叶片、进出口等来进行研究,通过这些研究数据来得到较为理想的设计参数和设计方法,从而来提高旋涡泵的整体性能,使旋涡泵能更好的应用在我们的生活之中。例如一些学者对旋涡泵的叶片的规格作了系统实验[3,4,5],得出一些旋涡泵在叶片运动压力面(正面)的出口角调整约为135°时,同时把叶片的吸力面(背面)的叶片边成倒成圆角,使其形成突出的叶片尖端时,旋涡泵的效率竟然可以高达到50%,这在当时是不敢想象的,因为一般的旋涡泵效率只有20%到30%,这个结果比一般规格的旋涡泵的效率高出了许多。Meakhail[6]提出了一个新的理论模型,这种模型相较于现在一般的旋涡泵来说效率得到提高,综合性能大幅度加强。此外,一些学者认为旋涡泵的工作原理是由于叶轮的粗糙表面与流体在流动通道中的相对运动引起的摩擦力,旋涡泵的叶轮外缘的越粗糙,它作用在流体上的摩擦力越大,旋涡泵的扬程就越高。小径向叶片和流动通道中的液体的相对运动产生湍流摩擦,从而将能量从导体传递到流动。 通道中的液体。 叶轮上的叶片在流动通道中反复产生高度湍流摩擦,因此湍流泵具有高升力[7],因此涡流泵也是摩擦泵。目前,对涡流泵工作原理的解释主要集中在两类:一类是摩擦湍流原理,另一类是动量原理。
1.3.2国内研究现状
在中国旋涡泵的研究相对于国外来说起步较晚,研究经验相对不足,并且研究旋涡泵的研究人员很少,因此对工作原理的研究没有很大发展。但是其工作原理研究已经形成了两个主要的解释。在国内,浙江大学的朱祖超[8] 对涡流泵和高速涡流泵的设计有很多研究,低流量涡流泵的理论设计方法和效率和工作范围是主线。并且通过大量的实验分析表明,增大旋涡泵的流道面积可以增大旋涡泵的工作效率。大径向游隙和单轴游隙有助于降低泵的时间和效率,并沿轴线开发涡流泵。浙江理工大学的谢鹏[9]对小流量高扬程的离心式旋涡泵在设计上进行了改革,加大了旋涡泵的流量,最后实验所用的旋涡泵提高了泵体的抗气蚀能力。合肥通用机械研究院的陈世亮[10]一直在研究屏蔽式旋涡泵,并且对其进行了大量的试验研究,在进行试验的过程当中屏蔽式旋涡泵没有出现异常情况,工作正常,这一试验加大了旋涡泵的应用范围。综上所述,旋涡泵的流道、流道位置、叶轮多种多样。因此叶轮和流道的不同组合导致旋涡泵的种类非常多,研究人员对旋涡泵进行系统地实验研究全部类型旋涡泵的不同特性是一个巨大且艰巨的任务,工作量实在是太大了。但是不知道在以后这种理论模型是否能应用于实际的生活之中。江苏大学的沙毅[11]等提出利用数值分析方法来研究旋涡泵的各个参数之间存在的关系,最后得出了闭式旋涡泵叶轮直径d、叶片数Z和流道面积A的经验系数水力计算公式,这个公式的得出对于我们研究旋涡泵的性能提供了很大的帮助。郑州大学的张明成[12]等通过对旋涡泵数值分析研究,来分析旋涡泵中叶轮与泵体之间流道的动压力关系。同时根据侧隙泄漏量和功率损耗量,大径向游隙和单轴游隙有助于降低泵的时间和效率,最后研究得到了叶轮与旋涡泵泵体之间的最佳间隙取值范围。这些成就都为我们研究旋涡泵,提高旋涡泵的综合性能提供了很大的帮助。从而让研究人员能够制造出效率更高的旋涡泵,减少能量的损失。让旋涡泵更好的应用于我们的生活之中。
1.4研究方法与研究内容
1.4.1研究方法
CFD(计算流体力学)是利用计算机的数值计算和图像显示,对物理模型系统所做的分析,能够模拟模型内部得复杂运动、能够更直观更快的得到分析结果并且能够降低研究的成本。旋涡泵内部流动十分复杂,旋涡泵内部依靠叶轮的旋转是液体产生的旋涡运动是三维不可压的湍流流动。若对旋涡泵采用一般的实验方法,实验操作起来比较困难、工作量大,很难对其内部流动进行分析、研究。所以采用数值模拟的的方法对旋涡泵内部流场进行研究,相较于传统的实验方法,数值模拟更加方便快捷,并且能够直观的看到得到的数据之间所存在的各种关系。因此,利用CFD这种在流体的控制方程下将已知的流体动力学基本定律用数学方程进行描述,在满足模型需求的定解条件下(初始条件 和边界条件)求解这些数学方程,从而仿真模拟某个流体动力学问题或工程实际问题。我们能够将旋涡泵内部复杂的流动情况下,得到旋涡泵内各个位置上的温度、速度、压力等基本参数随着时间的变化情况,以及这些参数在某一时刻的分布规律,从而可以得到旋涡泵内部流场的旋涡分布规律。
采用CFD对流体进行数值模拟的一般步骤如下:
- 建立问题的数学模型。流体满足的基本控制方程是三大守恒方程包括能量守恒方程、质量守恒方程、动量守恒方程以及它们相对应的定解条件。
 - 确定和选择计算方法、控制方程数值离散化的方法、网格的划分方法还有边界条件的确定,这些都是CFD非常重要的内容。
 - 使用ANSYS Fluent软件来对目标模型进行数值模拟。此项内容包括网格划分、边界条件的设置、初始条件的设置、单元格区域条件设置、控制参数的设定等。这些内容是CFD的关键步骤。求解的问题非常的复杂,比如求解非定常全 N-S方程。数值模拟的方法在理论上不是绝对完善的,它有自己的局限性。因此我们需要通过附加实验来加以验证最后的出的结果,正是从这个方面上来讲,数值模拟又叫数值试验。
 - 显示计算的结果并进行分析。通过图表这些直观的数据显示,来判断分析的质量并且对于结果有重要的参考意义。
 

图1.3步骤流程图
随着CFD技术的发展的越来越成熟,利用CFD来研究内部流场是一种有效的方法。旋涡泵内部流动十分复杂,旋涡泵内部依靠叶轮的旋转是液体产生的旋涡运动是三维不可压的湍流流动,所以采用仿真分析的方法对旋涡泵内部流场进行研究,数值模拟相较于一般的试验方法来说更加有效、快捷。
1.4.2研究内容
本文是在旋涡泵现有的研究基础上,利用CFD仿真模拟来分析旋涡泵内部流动的情况。以及相应的各个软件的使用。并且在利用CFD方法的时候来思考实验方案主要的思想。主要的研究内容如下:
- 使用软件Creo和SCDM绘制旋涡泵的三维结构模型和流场模型。
 - 使用MESH划分网格并且检查网格无关性。
 - 采用CFD方法研究旋涡泵内部的研究特点。
 - 旋涡泵性能影响参数研究。
 
1.5 本章小结
本章介绍了旋涡泵的工作原理和旋涡泵的特点,然后对旋涡泵国内外的的研究现状作了比较详细的分析。同时也介绍了与本文相关的研究方法和研究内容。给后面的工作定下了一个大致的目标。
第2章 旋涡泵内部流动理论分析
2.1 CFD介绍
CFD是计算流体力学(Computational Fluid Dynamics)的简称,CFD是利用计算机的数值计算和图像显示,对物理模型系统所做的分析,能够模拟模型内部得复杂运动、能够更直观更快的得到分析结果并且能够降低研究的成本。旋涡泵内部流动十分复杂,旋涡泵内部依靠叶轮的旋转是液体产生的旋涡运动是三维不可压的湍流流动, 若对旋涡泵采用一般的实验方法,实验操作起来比较困难、工作量大,很难对其内部流动进行分析、研究。所以采用数值模拟的的方法对旋涡泵内部流场进行研究,相较于传统的实验方法,数值模拟更加方便快捷,并且能够直观的看到得到的数据之间所存在的各种关系。因此利用 CFD 这种在流体的控制方程下将已知的流体动力学基本定律用数学方程进行描述,在满足模型需求的定解条件(初始条件 和边界条件)下求解这些数学方程,从而仿真模拟某个流体动力学问题或工程实际问题。通过CFD仿真分析及时在旋涡泵内部复杂的流动情况下,也能够得到旋涡泵内部各个位置上的温度、速度、压力等基本参数随着时间的变化情况,以及这些参数在某一时刻的分布规律,从而可以得到旋涡泵内部流场的旋涡分布规律。

以上是毕业论文大纲或资料介绍,该课题完整毕业论文、开题报告、任务书、程序设计、图纸设计等资料请添加微信获取,微信号:bysjorg。
相关图片展示:








        
            
