轻烃柴油混合燃料对发动机供油系统的可靠性分析毕业论文
2020-02-19 09:08:04
摘 要
很久以来,世界各国一直被能源短缺以及使用能源所导致的环境问题所困扰。因为世界各国对石油资源的需求都很大,以至于石油资源的储备量在日益降低。因此各个国家也在纷纷寻找解决在内燃机上用清洁能源代替柴油的方式。内燃机研究的主要课题是利用代用燃料直接代替柴油或者与柴油混合使用的方式。根据研究表明,柴油发动机可以使用轻烃作为燃料,因为轻烃燃烧后的排放产物清洁、动力性优良、燃烧平稳、经济性良好、来源广泛等等优点,同时还具有较好的兼容性,对柴油发动机的改动小。
目前,由于对在柴油发动机上使用轻烃混合燃料的研究还相对较少,而且轻烃燃料的特性与柴油大有不同,轻烃燃料应用于柴油机时,其对供油系统的影响尚未得出结论。本文主要分析供油系统中的存在的故障环节,喷油泵及喷油器的结构与原理以及柱塞偶件的磨损原因。同时根据摩擦学原理和柱塞偶件的密封理论,研究理论上柱塞偶件的泄漏量。根据供油系统的原理以及循环供油所需满足的条件,设计了一套能维持轻烃柴油混合燃料比例的发动机供油系统的可靠性试验的试验台架,经过100个小时的运行可靠性试验,通过测量不同转速下高压油泵的喷油量变化来分析轻烃混合燃料发动机供油系统的柱塞偶件的影响。
关键词:供油系统;柱塞偶件;轻烃;磨损
Abstract
For a long time, countries all over the world have been troubled by energy shortage and environmental problems caused by energy use. The demand for oil resources is so great that the amount of oil reserves is decreasing day by day. So countries are looking for ways to replace diesel with clean energy in the internal combustion engine. The main subject of internal combustion engine research is the use of alternative fuels to directly replace diesel or mixed with diesel. According to the research, the diesel engine can use light hydrocarbon as fuel, because the light hydrocarbon combustion emissions clean, excellent power performance, stable combustion, good economy, a wide range of sources and other advantages, but also has good compatibility, small changes to the diesel engine.
At present, there are few studies on the use of light hydrocarbon fuel mixture in diesel engines, and the characteristics of light hydrocarbon fuel are quite different from that of diesel. This paper mainly analyzes the existing fault links in the oil supply system, the structure and principle of the injection pump and injector, and the cause of wear of the plunger coupling. According to the tribological principle and the sealing theory of the plunger couple, the theoretical leakage of the plunger couple is studied. According to the principle of fuel supply system and circulating oil supply needed to meet the conditions, design a set of can maintain light hydrocarbons and diesel fuel mix proportion of engine fuel supply system of reliability test rig, after 100 hours of operation reliability test, by measuring the high pressure oil pump under different rotation speed of the fuel injection quantity changes for the analysis of light hydrocarbon mixture fuel engine fuel supply system of the influence of the plunger matching parts.
Key words: Oil supply system ; Plunger coupler; Light hydrocarbon; worn
目录
第1章 绪论 3
1.1 研究背景及意义 3
1.2 国内外现状 3
1.2.1 国内现状 3
1.2.2 国外现状 3
1.3 本文研究内容 5
第2章 供油系统部件结构及泄漏机理 6
2.1 供油系统的介绍 6
2.2喷油泵的结构及原理 6
2.3柱塞偶件的磨损和泄露机理 7
2.3.1 柱塞偶件磨损原因 8
2.3.2 柱塞偶件泄漏机理 8
2.3.3 预防柴油机柱塞偶件损坏的措施 8
第3章 轻烃柴油混合燃料可靠性试验台架设计 11
3.1可靠性试验台架设计 11
3.1.1 试验台架的整体设计 11
3.1.2试验台架局部设计 13
3.2设备的计算选型 15
3.3 试验的监测手段及测量方法 17
第4章 轻烃柴油混合燃料试验与数据分析 19
4.1 试验目的 19
4.2 试验方案 19
4.3试验数据及分析 19
4.3.1使用柴油的柱塞偶件对高压油泵喷油量影响 20
4.3.2 使用85%轻烃/柴油混合燃料的柱塞偶件对高压油泵喷油量影响 20
4.3.3对比高压油泵的喷油量变化 21
4.3.4柱塞偶件的磨损分析 22
第5章 全文总结与展望 26
5.1 全文总结 26
5.2 工作展望 26
参考文献……………………………………………………………………………………………………...27
致谢……………………………………………………………………………………………………………28
- 绪论
1.1 研究背景及意义
化石能源在当今社会依旧是人类赖以生存的重要能源[1]。船舶柴油机上所使用的石油产品所造成的大气污染就是主要污染之一。船舶柴油机的排放近些年随着国际上对海洋环境污染的高度重视而受到越来越严格的限制。
根据调查表明,我国的石油和天然气的储存量相对较少,而煤的储存量却相对富裕。虽然已探明的总储存量还可以,但是人均储量计算确均在世界人均值以下。目前,柴油、天然气、液化石油气的使用依旧是各个国家的首选。而通过对天然气以及石油气等的加工利用后得到的化工原料如果仅仅是普通的燃烧掉,这是对资源的极大浪费。
液态轻烃燃料是碳、氢按照不同比例混合所得到石油产品质量较轻的部分。我国由于近些年经济的快速发展,对能源的需求也日益增大,因此将再次重点关注轻烃燃料的利用。国家高度重视轻烃项目的发展,并且于2003年前后颁布相继的一些措施并将其列为重点项目 [2]。己烷和戊烷是液态轻烃的重要组成部分。戊烷的自燃点为475℃,环己烷为260℃,所以在运用于柴油机时需要引燃或者气化压燃[3]。
轻烃燃料的燃烧过程比较平稳、燃烧后的排放产物相对清洁、经济性和动力性也比较好,因此轻烃燃料是作为柴油的替代燃料的不二之选。轻烃作为柴油发动机的替代燃料,具有较好的兼容性,对柴油机的改动小,而且它的来源途径较多:从天然气和油田气中凝析、炼油厂的分馏、石油炼厂的塔顶油、催化重整油以及溶剂油厂的直馏馏分[4],排放产物比较清洁,比起传统柴油发动机排放的氮氧化合物也少很多,但由于轻烃燃料的爆炸温度比较低,因此要特别注意在燃料运输和存储方面及时进行防火处理。
由于目前对轻烃混合燃料对柴油发动机供油系统的影响的研究尚未成熟,因此在国内的船舶上还尚未对这种可替代燃料进行大面积的普及。据调查表明,在发动机上应用混合燃料存在如下问题:轻烃燃料的粘度比传统柴油机燃料的粘度低,因此应用于柴油机时可能会影响供油系统出油阀偶件和柱塞偶件性能。
1.2 国内外现状
1.2.1 国内现状
国内对轻烃燃料的研究也是涉及多个领域,各位专家学者通过对轻烃燃料特性的分析与把握,然后将轻烃应用在生活的诸多方面,也是取得了一定的成果。其中在汽车应用领域时,已经成功研制出了使用“轻烃”作为汽车的能源替代,它是将一种燃油添加剂添加到原轻烃中。这种添加剂被称为 “油公核磁共振传递剂”,它可以微量添加到部分较重的轻烃后直接使用[5]。
西安交通大学的汪映、周杰通过以与空气混合后的二甲醚作为燃料,选取了合适的柴油机并在上面进行一系列关于探究混合燃料对发动机排放性以及热效率影响的相关实验,其中就包括有直接将混合燃料喷射和进行一部分预先混合后的压缩点火。实验结果表明,二甲醚的预混比会显著影响氮氧化合物以及碳烟的排放量。
轻烃混合燃料能否在船舶发动机上应用的主要取决条件之一就是发动机供油系统的可靠性,与此同时发动机又对其自身的供油系统有很强的依靠性,发动机供油系统的作用就是将定压定量的燃油在压缩冲程末期定时喷入气缸。江西理工大学的陈佳分析了柴油机多个状态下的供油系统的可靠性,然后通过对其供油系统进行建模得到了系统在所测得状态点的概率函数,同时不仅建立相关的负效用函数,也建立了维修费表达式,从而得到了系统的最合适的维修周期[6]。
鉴于如今全世界范围内的日益严重的环境问题,上海交通大学中的排放与燃烧控制研究中心在国家相关部门的鼎立支持下, 正在想方设法解决柴油车的排放氮氧化物情况。并且正在更深入的探究二甲醚的燃烧及其其它特性,同时正在研发出一款使用二甲醚作为燃料的柴油机样机,这款样机同时能具备效能高、噪声小、排污少的特征[7]。
1.2.2 国外现状
调查表明国外也一直在探索对清洁可代替燃料的研究。由于目前大多数能源资源都依赖于矿物燃料,而这些燃料的可用性是有限的。尽管传统液体石油燃料仍将主导未来50年的运输燃料,但能源安全和减少温室气体排放的担忧导致了其他新型能源的使用量增加[8]。
二甲醚由于其优良的排放性能已经得到世界各国的广泛关注及深入探究,同时也将其作为可替代燃料的首选。其中名为AVL的公司就将二甲醚应用在一款高速的直喷发动机上得出,二甲醚在发动机内产生的燃烧相对平和,排放性能较为良好,同时将这种直喷式发动机的燃烧性能的优点展露无疑 [9]。
丹麦技术大学的S.C.Sorenson等人将纯二甲醚应用在单缸的直喷式发动机上,然后稍微改变一下其燃油系统,通过实验结果就发现 ,发动机的噪声和氮氧化合物的含量都很低,同时也获得让人十分满意的经济性、动力性和燃烧性能的要求[10]。Rasmus Christenesen等人通过将DME应用在双缸的自然吸气直喷式发动机上发现:氮氧化合物以及微粒的排放量可随着降低启喷压力来实现 [11]。
由于日前二甲醚燃料发动机技术已被世界各国所广泛关注,最近几年一些西方国家也在加快这方面的研究进程。其中欧洲的VOLVO公司也是尤为突出,他们研制出的大客样车可以使用二甲醚作为燃料以便于研究。而日本的NKK公司和五十铃汽车公司更是快人一步,他们已经研制出了使用二甲醚作为燃料的多种车型样本。
通过查找和阅读大量的外文文献,虽然国内外都在积极研究可替代清洁燃料,但是发现各个国家对于轻烃柴油混合燃料在柴油机上的应用的研究还是相对较少。因此可以适当呼吁各国加强对此领领域的研究。
1.3 本文研究内容
(1)调查分析国内外对轻烃混合燃料的研究及应用现状。
(2)研究了解发动机供油系统的部件结构和喷油泵的工作原理,柱塞偶件的泄漏机理,以及采取相关措施来预防柱塞偶件的磨损。
(3)通过参考柴油机的燃油供油系统整体结构,绘制出轻烃混合燃料发动机供油系统实验的结构简图,根据轻烃混合燃料供油系统的需要满足的条件,设计一套能维持轻烃混合燃料比例的发动机供油系统的可靠性试验台架,同时注意对可靠性试验设备的选型以及选择合适的试验监测手段及测量方法。
(4)进行可靠性试验台架的搭建,然后进行长时间的可靠性试验。记录分别使用纯柴油和85%的轻烃混合燃料两种情况在不同转速下高压油泵的喷油量变化,对利用轻烃混合燃料发动机的供油系统,在其运行过程中对柱塞偶件、出油阀偶件、针阀偶件的影响情况进行分析,同时利用高精度仪器对柱塞的三个测量点进行测量,分析柱塞偶件的磨损情况。
第2章 供油系统部件结构及泄漏机理
2.1 供油系统的介绍
柴油机燃油供给与调节系统是柴油机的重要组成部分,其最重要的功能就是为了使柴油机正常的工作以至于在合适的时间给柴油机提供一定的油量。如果柴油机的供油系统发生故障则会直接影响其耐久性,可靠性与动力性等。柴油机供油系统的基本要求是喷油器的喷油压力能达到规定值,燃料的雾化质量良好以及燃气和空气混合均匀,除此之外,供油系统工作状态稳定可靠也是需要重视的指标。研究人员根据不同结构形式和用途分别设计了不同的供油系统。所设计出的柴油机供给系统还应该满足基本的要求:要有足够大的喷射压力,能使燃料充分雾化,使混合气均匀充分。同时能够及时的满足供油量的需求。

图2.1供油系统结构简图
1.油箱 2.粗滤器 3.输油泵 4.回油阀 5.喷油泵
6.高压油管 7.喷油器 8.回油管 9.调速器
如今柴油机上使用的大多数还是传统的泵-管-嘴系统,基本组成是喷油泵、高压油管、喷油器,该试验采用的系统即为这一套泵-管-嘴系统,该系统的优点就是喷油器和喷油泵中间有很长的高压油泵连接,喷油泵可以灵活布置,但是却很难实现高压情况下的喷射以及理想的喷油规律。

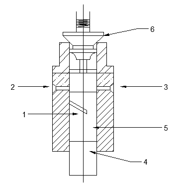
图2-1-2 泵-管-嘴系统图
1.凸轮 2.挺柱 3.柱塞 4.进油孔 5.泵腔 6.出油阀 7.出油阀腔 8.出油阀弹簧
9、11.压力传感器 10.高压油管 12.针阀弹簧 13.喷油器 14.针阀 15.油槽 16.喷孔
2.2 喷油泵的结构与原理
喷油泵作为喷射系统的核心部件,不仅能够喷射高压,还可以定时与定量的供油。凸轮轴上的凸轮安装位置控制着喷油泵的定量供油;柱塞向上运行时有效供油行程的大小决定了喷油泵的定量供油。
本试验采用的是南通通力油泵有限公司生产的型号为BH2B100YS39A的喷油泵(结构简图如下)。当柱塞4处于凸轮基圆最低处,凸轮轴的凸轮由下止点向上止点转动,转动过程的前一段部分,进油孔3在开启状态,燃油不断进入柱塞上部的泵腔。当柱塞被凸轮顶起时,柱塞顶端持续上升,直至柱塞顶端将回油孔2堵住,柱塞顶端泵腔的燃油压力不断上升。随着柱塞的上升,泵腔的燃油压力迅速升高,顶起出油阀弹簧,当柱塞结束出油阀的减压行程后,高压燃油便经出油阀进入高压油管,当高压油管压力足够时,喷油器针阀开启,燃油喷射入燃烧室。柱塞继续上行,当柱塞斜槽与回油孔2相通时,柱塞顶部的高压燃油通过柱塞头部的直槽和斜槽流回低压油腔。柱塞上部油腔压力马上降低,出油阀关闭,供油结束,此刻为供油终点。之后,柱塞继续上行到达上止点并且在套筒外的弹簧的作用下柱塞下行[12]。

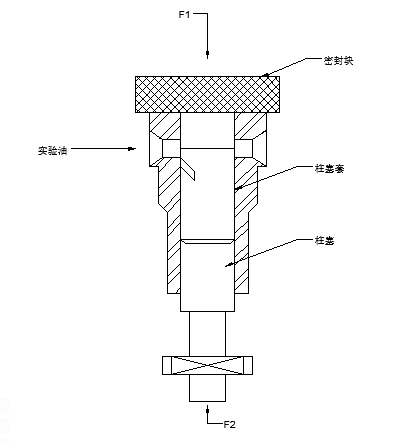
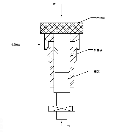
图2.2喷油泵结构简图
1.斜槽 2.出油口 3.进油口 4.柱塞 5.套筒 6.出油阀
2.3 柱塞偶件的磨损和泄漏机理
2.3.1 柱塞偶件磨损原因
柱塞偶件由于其之间很小的配合间隙,因此要在合适的选配和研磨后方可使用 [13]。柱塞偶件的间隙过大过小都会造成不好的影响。当间隙比较大时,会减少燃料,导致供油压力不足。当间隙过小,会影响柱塞偶件的润滑性,将可能会卡死柱塞偶件。存在于燃油中的杂质以及燃油自身的腐蚀作用会影响柱塞偶件工作时的状态。柱塞偶件可能会产生过度磨损、咬死、拉毛、卡紧,以及穴蚀等一系列危害。柱塞偶件磨损是不均匀磨损主要发生在柱塞的头部、斜槽边缘以及尾部[13]。它会导致造成柴油机的燃烧不充分和功率下降。
2.3.2 柱塞偶件泄漏机理
燃油充满分布在供油系统的柱塞偶件的间隙中,当柱塞发生运动时,它起到了密封、液压及润滑的作用。一般情况下,柱塞偶件处于边界摩擦状态,但如果燃油的品质不好时,就会发生两种情况,会在柱塞偶件间隙中形成较厚的油膜,会破坏燃油密封性,造成燃油泄漏;油膜也会变薄,燃油的润滑性受到影响,会磨损柱塞偶件。
为了方便研究,要简化一下柱塞偶件间隙内燃油的流动模型。柱塞和柱塞套中极小的配合间隙中燃油的流动属于圆环缝隙流动。该流动由于雷诺数较小,一般可认为是属于层流范畴。燃油在柱塞偶件间隙内的流动可分为两个部分:一方面是由于油膜两端的压力不同造成的流动;另一方面是是因为燃油随着柱塞在柱塞套内的往复运动而产生的的流动。。
为使研究更加清晰明白,可先认为柱塞套和柱塞具有相同的心。图 2-3-2 就可表示常见的同心圆环缝隙流动模型。因为柱塞直径和柱塞长度远大于缝隙径向厚度,因此在任一截面处可以可以被看作是流动在平行平板之间。这是个比较简单的模型,可以通过燃油在平板间流动的规律来推导其泄漏量。
以上是毕业论文大纲或资料介绍,该课题完整毕业论文、开题报告、任务书、程序设计、图纸设计等资料请添加微信获取,微信号:bysjorg。
相关图片展示:









