基于航速优化的船舶能效提升研究毕业论文
2020-02-19 09:06:23
摘 要
经研究航运业现状发现,无论从节能环保角度还是营运经济性角度考虑,都应优化船舶航速。船舶在船舶航行的过程中,其能效受到风浪流等通航环境要素的影响,这些因素具有较强的随机性,船舶能效最佳主机转速的确定也具有明显的模糊性和不确定性。因此,如何解决模糊性、不确定性影响问题是确定船舶能效最佳主机转速的关键所在。为此,本文提出了基于模糊逻辑的船舶能效最佳主机转速决策方法。该方法以船舶轴系的实时功率和船舶对地航速为输入量,通过建立合理的模糊逻辑规则,输出船舶能效最佳主机转速,从而实现船舶基于航速优化的能效提升。
本文基于此方法在MATAB平台上搭建了船舶最佳能效航速决策模型,并在Simulink平台上搭建了船舶通航环境与主机能耗间的动态模型以方便验证模型的准确性。最终带入实船数据,实验结果表明:该模型主机决策转速下船舶的轴系功率与实船采集数据相比约降低50%左右,船舶单位距离的油耗约降低30%~40%左右,可见该模型可以提高船舶能效。
关键词:航速优化;船舶能效提升;模糊逻辑;
Abstract
After studying the current situation of the shipping industry, it is found that the ship speed should be optimized regardless of energy conservation and environmental protection or operational economics. During the course of ship navigation, the energy efficiency of the ship is affected by the navigational environment factors such as wind and waves. These factors have strong randomness, and the determination of the optimal host speed of the ship has obvious ambiguity and uncertainty. Therefore, how to solve the problem of ambiguity and uncertainty is the key to determine the optimal host speed for ship energy efficiency. To this end, this paper proposes a method based on fuzzy logic to determine the optimal host speed for ship energy efficiency. The method takes the real-time power of the ship's shafting system and the ship's ground speed as the input quantity, and establishes the reasonable fuzzy logic rule to output the optimal host speed of the ship's energy efficiency, thus achieving the energy efficiency improvement of the ship based on the speed optimization.
Based on this method, the optimal energy efficiency decision model of the ship is built on the MATAB platform. The dynamic model between the ship navigation environment and the host energy consumption is built on the Simulink platform to facilitate the verification of the accuracy of the model. Finally, the actual ship data is taken. The experimental results show that the ship's shafting power is reduced by about 50% compared with the actual ship acquisition data, and the fuel consumption per unit distance is reduced by about 30%~40%. This model can improve the energy efficiency of the ship.
Key Words:Speed optimization;Ship energy efficiency improvement;Fuzzy logic
目 录
第1章 绪论 1
1.1 研究背景及意义 1
1.2 国内外研究现状 1
1.2.1 国外研究现状 1
1.2.2 国内研究现状 2
1.3 研究内容 3
第2章 航速优化和船舶能效提升原理 4
2.1 航速优化原理 4
2.2 船舶能效提升原理 4
2.2.1 设备与系统方面 4
2.2.2 船体方面 5
2.2.3 运行与管理方面 5
2.3 本章小结 5
第3章 主机最佳能效转速决策方法 6
3.1 决策系统与模糊结构 6
3.2 模糊化处理 7
3.3 模糊规则控制 8
3.3 船舶最佳能效转速模型 10
3.4 本章小结 10
第4章 通航环境与主机能耗的动态模型原理 12
4.1 船舶阻力模型原理 12
4.1 船舶阻力模型原理 13
4.3 本章小结 15
第5章 决策系统的仿真与验证 16
5.1 仿真模型的搭建 16
5.1.1 主机最佳能效转速决策系统仿真模块 16
5.1.2船舶航速仿真模块 17
5.1.3 主机能耗仿真模块 17
5.2 数据对比 19
5.2 本章小结 24
第6章 结论和展望 25
6.1 文章结论 25
6.2 研究展望 25
参考文献 26
致谢 28
第1章 绪论
1.1 研究背景及意义
随着“中美贸易战”、“IMO限硫令”等事件不断发酵,越来越多的人意识到航运业对国家发展、对世界稳定的重要性。航运业不仅是连接各个文化,各个地域的纽带,更是一个国家的经济缩影。有资料表明,国际贸易量中的百分之八十五被航运业占据[1]。我国对世界航运业有着举足轻重的影响,在2014年我国集装箱吞吐量占据整个世界的百分之二十五,仍运行的远洋船舶重载重约占世界的十分之一[2]。可以说,发展航运业不仅是大势所趋,而且还是必不可少的,是迫在眉睫的。但近年来,燃油占据船舶运输成本的百分之五十以上[3]、航运业本身具有周期性和波动性、国际整体经济环境变得没那么有利(世界GDP增长率下调)都在限制航运业的健康发展。此外,航运业带来的环境问题至今也没有得到有效的解决。航运业排放的温室气体约占全球温室气体总排放量的百分之六[4]。还有人预测:如不加限制,到2020年全球航运业二氧化碳的排放量将在目前基础上增加四分之三[5]。国际海事组织(IMO)近年来也不断出台相关的公约,意在降低航运业对环境问题的影响。中国作为航运大国和造船大国,一举一动无疑都倍受世界关注。在全球能源危机及节能减排呼声日益高涨的情况下,我们要承担更大的国际责任,提出有效的船舶能效管理措施,对能实现节能减排的航运技术为目标发起新的挑战,为全球航运业的健康发展做出应有的贡献。有效的船舶能效管理措施不仅能够减少船舶排放、提升能效,还可以减少船舶运营成本,提高商业利润。所以说,我们对“基于航速优化的能效提升原理”研究势在必行。
1.2 国内外研究现状
1.2.1 国外研究现状
在航速优化和船舶能效提升方面,国外在该方向起步较早,很多与此研究相关的技术相比于国内来说趋于成熟,且将结构系统、经营决策与航速优化和船舶能效提升的相结合的研究于2000年开始逐渐增多。
新加坡国立大学QiangMeng[6]使用航运日志数据建立集装箱船燃油效率数学模型。他以13000TEU集装箱船为例,根据航海日志建立燃油效率模型,并通过函数拟合的方式建立起燃油消耗与航速、排水量和天气状况(浪的方向、浪高以及风的强度)等的关系,反应出13000TEU集装箱船通航环境的影响下日油耗量随航速变化的影响情况。Krishnamoorthi等[7]对混合燃料(柴油–植物油-乙醚)压缩点火发动机,运用“实验数据分析和人工神经网络(ANN)建模相结合”的理论,提出了如何调整该发动机部分功能的方法,其中包括如何使发动机排放最小化时使发动机性能最大化。Bal Beşikçi等[8]应用Fuzzy-AHP(模糊层次分析法)在运营的角度为决策者(运营公司和船东)提供基本决策数据,以便决策者们能更加精确的提出关于船舶运营方面的实施方案。Chi等[9]设计了一种新的软件体系结构,可以从包括AIS(船舶自动识别系统)在内的多个来源收集实时数据,并且提出了一种用于快速计算船舶实时能效的新方法,该方法不需要任何手动输入信息,并且可以在岸上远程完成。Latorre[10]采用集成的船载电脑系统,可以实现减少百分之十五的燃料消耗和氮氧化物排放。Hansen等[11]分析了船舶吃水等因素对船舶燃油效率的影响,并在此基础上推出了ECO-Assistant软件,使船员能够实时监控主辅机的油耗情况。美国的Jeppesen Marine公司推出了“航行与船舶优化系统(VVOS)”软件,Ballou[12]基于该软件的方法,计算了二氧化碳减排量,指出通过优化路线、选择合适航速等多种措施的配合,可大幅降低船舶油耗。
1.2.2 国内研究现状
国内方面,也有许多学者对航速优化或船舶的能效提升进行深入研究。许多学者先将自己的方法与实船数据结合,再对此进行讨论。也有许多学者将结构系统、经营决策与航速优化和船舶能效提升的相结合进行研究。
杨国豪等[13]分析了国内外船舶能耗评估的发展现状,采用模糊评判的数学建模方法对船舶能耗进行评估。他们使用专家调查法初步建立了一级模糊评判中六大指标体系,采用权重分析法确定其权重向量,并采用同种方法确定二级指标的权重向量,再通过模糊评判对某船型进行能耗评估。结果表明, 提出的模糊评判方法适用于船舶能耗的综合评价,此结果对今后进行船舶能耗评判具有指导意义。赵乾博[14]在MATLAB/Simulink平台上搭建了三种船型都适用的船舶阻力系统、船舶油耗系统等仿真模型,同时基于M语言编程实现仿真系统中船舶参数快速切换,从而实现了船舶在不同通航环境下,分别以能效方面和经济方面单航次收益增加量为多为目的,提出两方面的航速优化方案。马冉祺等[15]针对定航线船舶,建立了以实船能效数据为基础的船舶油耗模型。他们以船舶航线信息为依据将航段划分成十二部分,通过离散化思想,建立以输入量为航速、输出量为燃油消耗总量的航速优化模型,将满足船舶的航期作为约束条件,做出航速优化策略。文章构建的数据误差小于百分之零点九,并能给各个航段的航速优化建议,减少约百分之一点九的油耗。郑士君等[16]从海运企业能效管理的角度研发了能效管理信息系统,主要包括系统架构设计、系统管理功能设置、船舶能耗数据采集、船岸数据交换与处理以及EEOI计算方法与碳排放计算器设计。严新平等[17]通过运用神经网络的方法进行了通航环境要素对船舶能效的敏感性分析,得出了各环境要素对船舶能效的影响因子,对探索船舶能效提升方法和研发能效提升决策系统具有重要的意义。
从这里我们能看出,我们在“基于航速优化的能效提升”的方向上的研究稍有成型,却依然还有很长的一段路要走。我们不仅要更加深入,更加细致的研究航速优化和船舶能效提升,还要系统、规范地归纳各种能服务于我们研究的信息和资料。从本科生的角度来说,完成这样宏大的命题并不符合实际。所以本文将重心放在建立船舶最佳能效转速决策系统,并通过建立船舶通航环境与主技能耗的仿真模型验证决策方法的正确性,从而实现船舶基于航速优化的能效提升。
1.3 研究内容
本文以维多利亚凯娅号游轮作为研究对象,在满足航期的情况下以降低船舶单位距离油耗量为目的优化船舶航速并提升船舶能效。其船舶最佳能效决策系统依据模糊逻辑原理在MATLAB上完成搭建,并在Simulink上搭建船舶通航环境与主机能耗关系的动态仿真模型,以用来验证决策系统的准确性。
本文的结构如下:本文在第二章简单介绍了航速优化原理及几种实现船舶能效提升的方法;第三章在MATLAB上建立了船舶最佳能效转速决策模型,主要包括决策系统及模型的结构、隶属度函数的确定和模糊规则的制定;第四章建立了船舶通航环境与船舶能耗的数学模型;第五章建立了船舶通航环境与主机能耗的动态仿真模型,并带入凯娅号能效数据以对决策系统的准确性进行分析;第六章则为全文的总结和对研究方向的展望。
第2章 航速优化和船舶能效提升原理
2.1 航速优化原理
航速优化是船舶提升能源效率的一个重要途径,船舶航行时选用恰当的航速不仅能减少油耗,有时还能减少排放,调节形成,提高商业利润。我们知道,船舶主机通过传动装置和轴系带动螺旋桨旋转产生推力,克服船体阻力使船舶前进,而在这以过程中,船舶的推进功率和航速有这样的关系[18]
(3.1)
式中,为船舶指示功率;代表船舶排水量;代表船舶航速;代表海军常数。可以看出,船舶的推进功率近似正比于航速的三次方。如果将船舶的航速调节至一个过大值时,其主机功率和油耗的值会显著增加,船舶污染排放严重,能源效率极低;如果将船舶航速调至一个较低值,船舶的航行时间会超过原有计划,增加不必要的日常支出费用。在保证船舶在计划时间内完成航程,又能降低船舶单位距离油耗量,一般就是考虑油耗的船舶航速优化策略。我们还可以在这基础上考虑经济效率或是航线计划等其他因素,进一步优化我们的航程计划。
在船舶的实际运营中,我们调控能直接操控的船舶能效参数为主机转速而非船舶航速。所以,本文的决策系统的输出量为调整后的转速,通过转速和其他公式或经验模型表示出其他能效参数,依此来完成考虑船舶能耗的航速优化策略。
2.2 船舶能效提升原理
近年来的研究表明,船舶运输成本中燃油消耗的比重在不断增加,在不断出台的公约和国际舆论的限制下,如何实现船舶节能成为所有相关学者讨论的话题。解决能源问题一般有两种方法:寻找新型能源,提升现有能源的利用率[19]。而与提升现有能效相比,新能源的研究周期过长,研究困难过大,所以本文中船舶节能的方法一般为后者。从根本上来讲,船舶节能用最少的油耗换取最大是收益,而达成这以目的的方法能粗略地分为三种:
2.2.1 设备与系统方面
减少船舶运行时的燃油消耗,必然要考虑船上直接消耗燃油的机械设备,提升这些设备的能效时节能措施中最直观,最有效的方法之一。其中船舶柴油机占船舶总消耗能量的七到九成,是要重点关注的对象。一般有通过两种方法来提升船舶柴油机的能耗:一种方法时减少能量转换损失,如增加燃油燃烧效率、船舶主机“废热”的再利用等;一种是降低船舶运行时所需的功率,如改进船型,换用新型设备,采用经济航速航行等方法。根据经验,这类措施能显著提升主机的能源消耗率,提高船舶的经济收益。
在研究船舶节能时,研究直接消耗燃油的设备外,还要注意船舶辅机设备和其他运行系统的能效提升。这些设备和系统的任务各有不同且数量众多,他们的能耗损失加在一起也不是一个可以忽略的值。所以想方设法提高各类辅机设备和运行系统的效率,降低它们工作时的损耗,以达到提升船舶能效的目的。
2.2.2 船体方面
船舶中的能源大部分被推进装置消耗,而船舶的推进功率可分成有效推进功率和克服船舶所受阻力而产生的功率。也就是说,减少船舶运行式所受的阻力也可以提升船舶能效。如改进船体线型,船型采用球鼻形首能减少船舶所受兴波阻力,减少约百分之七的燃油消耗量,进而提升船舶能耗;在螺旋桨外围或者前面安装导流管,能减少约百分之七的船舶油耗;船体喷漆时使用优质涂料,可以降低船体表面所受的摩擦阻力,从而提升主机能效[20]。总之,在船体方面采用适当的措施可以减少船体受的阻力,以达到节约主机所需油耗量的目的。
2.2.3 运行与管理方面
船舶运行与系统设备的管理和操作也影响着船舶的能源利用率。例如采用降速航行和经济航速可以大大降低主机功率,从而节省燃油;在航行时利用风力和潮流,可以降低主机功率,达到提升能效的效果;提高轮机员的专业技术和节能意识,使设备平时都保持良好的状态,也能提升能效。另外,良好的营运管理可以取得较大的货运量和较小的燃料消耗的节能效果,而提高船舶的货运量不仅需要考虑船舶的尺寸或是推进装置,而且保持良好的船舶营运管理。营运管理方面的措施有以下几种:提高货运运营效率,如根据货源和流向等信息对船舶航行计划做出相应安排;减少非生产性停航;如建立合理的维修管理制度和提高船员的业务水平;提高船员和管理人员的环保意识,组织学习船舶节能方法。总之,节能措施是很多的,根据实际情况选择恰当的节能方法,才达到最佳节能效果。
2.3 本章小结
本章介绍了船舶航速优化原理,并粗略的介绍了几种船舶能效提升方法。在实际航行中,我们需将航速优化及船舶能效提升二者相互配合,构思出更加有效的节能措施,并优化我们的航程。因此,本文提出运用模糊逻辑做出主机最佳能效航速决策系统,使船舶在规定航程内保持单位距离油耗最低的航速,即完成了船舶的航速优化,又提升了主机能效,在多方面优化了船舶的航程
第3章 主机最佳能效转速决策方法
3.1 决策系统与模糊结构
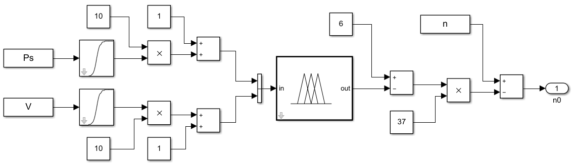
船舶在航行的过程中,其能效受风浪流等通航环境要素的影响,这些因素具有较强的随机性,且船舶最佳能效主机转速的确定也具有明显的模糊性和不确定性。因此,如何解决模糊性、不确定性影响问题是确定船舶能效最佳主机转速的关键所在。模糊逻辑是解决这一问题的方法之一,因为它具有规避难以建立精确模型的优点[21-22]。况且近些年随着研究的不断深入,模糊数学的研究也日益完善,例如新型的自适应模糊控制系统能自动收集数据并完善自己的模糊规则,大大地增加了模糊控制器的可靠度。我们可以通过建立不同随机要素下的船舶能效最佳主机转速的模糊决策模型可以规避机理分析的复杂性,开展面向数据的船舶动力系统能效水平与通航环境要素的动态响应关系研究,从而确定不同环境要素下船舶能耗最佳主机转速及动力系统的运行情况,为船舶根据外界条件的不同而制定科学合理的航速提供理论基础,从而提高船舶能效。通航环境要素对船舶阻力的影响最终将反应到船舶轴系功率的变化上,当船舶轴系功率过大时,需降低主机转速,以提高船舶能效,但如果此时船舶航速较低时,会影响船舶的及时到港。根据这些条件,本文建立了基于模糊逻辑的船舶能效最佳主机转速决策模型,通过实时采集船舶的轴系功率和船舶对地航速数据,通过建立合理的模糊规则,决策出船舶能效最佳主机转速。在保证船舶航速的条件下,最大幅度地提高船舶能效。
相比于远洋船,内河船舶通航环境对主机能效的影响程度更大。但无论如何,我们都可以根据船舶主机转速确定出此时船舶轴功率和对地航速的大小,这也就代表我们可以将船舶在改变航速后收到的阻力和其他能效参数的变化,用主机轴功率和船舶对地航速的变化反映出来。所以我们选取船舶主机轴功率和船舶对地航速这两个影响因素作为船舶最佳能效转速决策系统的输入变量,输出变量则为决策好的船舶主机转速的改变量。我们所构建船舶能效最佳转速决策系统及相应的模糊推理模型结构如图所示,将输入量带进模糊结构中,模糊机构由模糊化、根据建立的目标函数和模糊规则进行演算、去模糊化三部构成,最终经过函数运算输出船舶能效最佳主机转速。不难看出,该模型准确程度依赖于能否确定出有效的模糊控制规则。
以上是毕业论文大纲或资料介绍,该课题完整毕业论文、开题报告、任务书、程序设计、图纸设计等资料请添加微信获取,微信号:bysjorg。
相关图片展示:






![C:\Users\BZRL\Documents\Tencent Files\1072497936\FileRecv\MobileFile\3C}]B}XC`BJ{WY02GI`JHBU.png](http://www.biyelunwen.org/wp-content/uploads/2020/02/lw3638_2020219962193.png)


