40万吨年萤石矿物加工厂设计毕业论文
2020-03-03 10:01:19
摘 要
本次设计要求我们在了解萤石矿相关的基本知识的基础上,结合在本科期间多次的选矿厂现场实习的经验,通过查阅各种相关文献,在老师的指导下完成此次设计。
根据任务书的要求以及查阅相关的文献,结合生产中的实际情况,确定选矿厂的各车间生产的工艺流程,破碎车间根据矿石本身的性质和处理量的大小确定采用三段一闭路的破碎筛分流程,磨矿车间根据要求的磨矿细度以及选矿厂的规模情况确定采用两段两闭路的磨矿流程,浮选流程则采用任务书给定的流程,脱水车间采用实际生产中的常规流程。
另外还要对各车间工艺流程中的的各种参数进行计算,并以计算所得的数据为依据,结合实际情况,进行设备的计算和选型,确定选矿厂的主体和辅助设备。
根据选矿厂所处位置的地形和所根据计算结果选择的设备,进行厂房的布置。在破碎筛分工段,粗碎与原矿仓建在一起,中碎与细碎在一个厂房中,筛分在单独的一个厂房,厂房之间建造通廊,用皮带运输矿物。磨矿浮选车间中磨矿机的放置采用纵向配置,浮选机的放置采用横向配置。整个厂房为平地式厂房。
最后利用CAD完成相关图形的绘制,包括破碎筛分车间设备布置图、磨浮车间设备布置图、整体设备联系图、总矿浆数质量流程图、整体工艺流程图[1]。
关键词:萤石矿物加工厂;萤石矿;工艺流程;设备选型;厂房布置
Abstract
This design requires that we understand the basic knowledge of fluorite mines, combine the experiences of on-site internships in the beneficiation plant during the undergraduate course, and complete the design under the guidance of the teacher by consulting various related documents
According to the requirements of the task book and consulting relevant documents, combined with the actual situation in production, the process flow of each workshop of the concentrator is determined. The crushing workshop determines the use of crushing and screening of three sections and one closed road according to the nature of the ore and the amount of processing capacity. According to the process, the grinding workshop determines the two or two closed circuit grinding processes according to the fineness of the grinding required and the size of the beneficiation plant. The flotation process adopts the process given in the task book. The dewatering workshop adopts the conventional process in actual production. .
In addition, various parameters in the crushing and screening process, grinding and classification process, flotation process, and dehydration process are also calculated, and based on the calculated data, the equipment is calculated and selected, and the ore dressing is determined. The main body and auxiliary equipment of the plant.
According to the geography of the location of the beneficiation plant and the selected equipment, the plant will be laid out. In the crushing and sieving section, coarse crushing is built together with the raw ore bin, crushed and finely crushed in a factory building, screened in a separate factory building, corridors are built between the factory buildings, and belts are used to transport minerals. Placement of the grinding machine in the grinding flotation workshop adopts a longitudinal configuration, and placement of the flotation machine adopts a horizontal configuration. The entire plant is a flat-type factory building.
Finally, we use CAD to complete the drawing of related graphics includes crushing and screening workshop process layout, grinding and floating workshop process layout, equipment connection diagram, pulp quality flow chart, and process flow chart.
Key words: Fluorite concentrator design; fluorite ore; process flow; equipment selection
目 录
第一章 绪论 2
1.1 选矿厂设计的目的及意义 2
1.2 国内外萤石选矿厂设计的研究现状 2
1.3 设计的原始资料 3
1.3.1 给定的初始条件 3
1.3.2 各车间的工作制度 5
第二章 各工段工艺流程的选择与计算 6
2.1 破碎筛分车间工艺流程的选择与计算 6
2.1.1 破碎筛分工艺流程的选择 6
2.1.2 破碎流程的数质量的计算 7
2.2 磨浮流程的选择计算 8
2.2.1 磨浮流程的选择 8
2.2.2 磨浮流程数质量的计算 11
2.3 矿浆流程的计算 16
2.3.1 磨浮矿浆流程的计算 16
2.3.2 脱水矿浆流程的计算 27
第三章 各工段主要设备的选型和计算 29
3.1 破碎设备的选型和计算 29
3.1.1 粗碎设备的选型和计算 29
3.1.2 中碎设备的选型和计算 30
3.1.3 细碎设备的选型和计算 32
3.2 筛分设备的选型和计算 34
3.3 磨矿设备的选择与计算 35
3.3.1 第一段磨矿计算 36
3.3.2 第二段磨矿计算 37
3.4 分级设备的选择和计算 38
3.4.1 第一段螺旋分级机计算和选型 38
3.4.2 第二段水力旋流器计算和选型 39
3.5 浮选设备的选择与计算 40
3.5.1 浮选机的选择计算 41
3.5.2 搅拌桶的选择计算 43
3.6 脱水、过滤设备的选择与计算 43
3.6.1 脱水设备的选择计算 43
3.6.2 过滤设备的选择计算 44
第四章 辅助设备的选型计算 46
4.1 矿仓的选择与计算 46
4.1.1 原矿仓的选择与计算 46
4.1.2 粉矿仓的选择与计算 47
4.2 给矿机的选择与计算 48
4.2.1 原矿仓下给矿机的选择与计算 48
4.2.2 粉仓下给矿机的选择与计算 48
4.3 胶带运输机的选型与计算 49
4.4 起重机的选型与计算 49
第五章 总平面布置及设备配置 51
5.1 厂房的总平面设计 51
5.2 车间设备配置 52
第六章 选矿厂技术经济分析 54
6.1 基本建设投资费的计算 54
6.1.1 土建投资费用 54
6.1.2 设备价格,安装的概算 55
6.1.3 非生产性费用和其他费用 56
6.1.4 各项投资费 56
6.1.5 折旧费 56
第七章 环境保护与安全生产 57
7.1 环境保护 57
7.2 安全生产 57
参考文献 58
附录A 59
致谢 63
第一章 绪论
1.1 选矿厂设计的目的及意义
萤石矿是一种非常重要的矿产资源,其产品在许多行业都有着广泛的应用。对于经济的发展和相关产业的进步有着重要的意义。随着现代科学技术的进步和国民经济的飞速发展,萤石矿作为一种重要的矿物资源,其地位和影响也将不断提高。
萤石矿资源分布十分广泛,在世界各大洲均有发现。根据国家统计局和国土资源部统计数据,至2012年,我国已查明的萤石矿资源储量为20972万t,其中基础储量为3712万t,并且主要分布于浙江、福建、安徽、江西、内蒙古、湖南、河北等省区,这其中湖南以10038万t居于首位(主要为伴生矿),浙江、福建、江西、安徽等华东4省为5682万t,内蒙古、贵州、河北、云南、四川、甘肃、重庆等沿边省区为3842万t,其余省区储量不到全国总储量的7%[2-3]。
因此,通过合理的选矿厂设计来提高萤石资源的利用率,推动相关产业的可持续发展是势在必行的。
本次选矿厂设计的目的是要解决在初始条件下萤石选矿厂的工艺流程的选择、厂房该如何建设、设备的选型、配置和安装、以及选矿厂的管理经营等问题,最终实现技术可靠、经济合理、投资少、效益高。在尽可能减少污染的前提下用最低的成本实现经济效益的最大化。
本次设计要求我们在对设计任务书有明确的认识并且充分了解萤石矿相关的选矿知识的基础上,与实际情况相结合,认真的完成设计工作。过程中要做到所选流程够先进并且具有可靠性与现实性。
最后本次的设计是对本科期间所学知识的一次综合的考核,要求我们在充分掌握所学知识的前提下,将理论与实践相结合,在这个过程中再去学习和巩固知识,是一个具有综合性、实践性的任务。
1.2 国内外萤石选矿厂设计的研究现状
(1)萤石的重介质选矿方法研究
在萤石选矿的实际生产情况中,对单一且品位较高的萤石矿,一般会采用重介质预选并丢废的工艺,这种工艺对于回收利用品位较低的萤石矿,减少矿物的损失具有良好的效果。
意大利某选矿厂用三产品涡流分选设备回收含萤石-方铅矿矿石,获得了含 CaF291.8%、Pb0.4%,回收率为90%的萤石精矿,丢废率达到了40%以上。德国沃尔法齐选矿厂,用三产品涡流分选器对原矿品位为35%的萤石矿进行回收,抛尾率达到了36.2%[4-5]。
(2)粒级的控制和影响
萤石精矿的质量通常要求比较高,为了能够提高精矿的品位,应尽量使萤石矿物达到单体解离。而粒级控制是影响浮选指标的一个重要因素,国外有实验研究表明,采用干式磨矿的磨矿条件可以有效提高萤石浮选的回收率和精矿品位[6]。
现阶段的研究表明,在选别流程中及早地丢弃尾矿,可以提高选别物料的品位,同时也减少了萤石过粉碎的情况,还能够提高回收率[7]。
1.3 设计的原始资料
1.3.1 给定的初始条件
选矿厂设计规模为年处理原矿量40万吨,原矿最大粒度450mm。设计指标:①原矿品位α:CaF2=15.65% ,②精矿品位β:CaF2=95.00%,③选矿总回收率ε:ε≥80%。
磨矿细度-0.074mm占85%,现场的条件:一段磨矿采用MQG1500×3000,处理量为200t/d:

表1.1 各产物性质
作业编号及名称 | 产物编号及名称 | 产率(%) | 品位(%) | 浓度C(%) |
球磨 | 原矿 | 100 | 15.65 | |
球磨给矿 | 100 | 15.65 | ||
球磨排矿 | 100 | 15.65 | ||
粗选 | 粗选给矿 | 27.50 | ||
粗选精矿 | 35.00 | |||
粗选尾矿 | 32.82 | 2.97 | ||
精选І | 精选І给矿 | 20.00 | ||
精选І精矿 | 35.00 | |||
精选І尾矿 | 10.31 | 13.78 | ||
精选Ⅱ | 精选Ⅱ给矿 | 22.50 | ||
精选Ⅱ精矿 | 35.00 | |||
精选Ⅱ尾矿 | 7.64 | 16.42 | ||
精选Ⅲ | 精选Ⅲ给矿 | 22.50 | ||
精选Ⅲ精矿 | 35.00 | |||
精选Ⅲ尾矿 | 8.85 | 19.36 | ||
精选Ⅳ | 精选Ⅳ给矿 | 25.00 | ||
精选Ⅳ精矿 | 32.50 | |||
精选Ⅳ尾矿 | 58.90 | 3.60 | ||
精选Ⅴ | 精选Ⅴ给矿 | 24.50 | ||
精选Ⅴ精矿 | 35.00 | |||
精选Ⅴ尾矿 | 43.15 | 5.25 | ||
精选Ⅵ | 精选Ⅵ给矿 | 20.00 | ||
精选Ⅵ精矿 | 35.00 | |||
精选Ⅵ尾矿 | 14.30 | 21.34 | ||
精选Ⅶ | 精选Ⅶ给矿 | 17.50 | ||
精选Ⅶ精矿 | 30.00 | |||
精选Ⅶ尾矿 | 5.21 | 44.21 | ||
精选Ⅷ | 精选Ⅷ给矿 | 16.50 | ||
精选Ⅷ精矿 | 30.00 | |||
精选Ⅷ尾矿 | 3.21 | 67.58 | ||
精选Ⅸ | 精选Ⅸ给矿 | 15.50 | ||
精选Ⅸ精矿 | 30.00 | |||
精选Ⅸ尾矿 | 2.15 | 83.15 | ||
扫选 | 扫选给矿 | 20.00 | ||
扫选精矿 | 5.31 | 7.75 | 30.00 | |
扫选尾矿 | 53.59 | 3.19 |

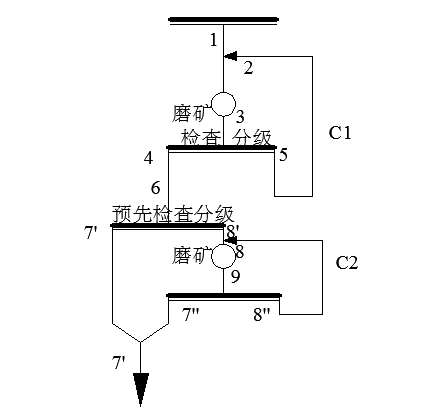
图1.1 原则流程图
1.3.2 各车间的工作制度
各车间的工作制度一般是根据选矿厂的生产规模和实际情况来确定,通常可分为连续和间断的工作制度。这次的设计的各车间的工作制度由任务书给出:破碎筛分车间采用间断的工作制度,磨浮车间和脱水车间均采用连续的工作制度。
以上是毕业论文大纲或资料介绍,该课题完整毕业论文、开题报告、任务书、程序设计、图纸设计等资料请添加微信获取,微信号:bysjorg。
相关图片展示:








