废旧荧光灯破碎分选与无害化处理工艺设计毕业论文
2020-03-03 10:00:42
摘 要
回收利用废旧荧光灯采用国外的“直接破碎分离”优势明显,此技术分离设备的结构紧凑,设备占用面积小,投资节省。
废旧荧光灯回收生产线中“直接破碎分离”的流程为,先将废旧荧光灯清洗,后将灯管整体破碎,逐步分离出玻璃、荧光粉、汞。最后根据回收目的将玻璃、荧光粉、汞回收使用。
废旧荧光灯清洗选用的是洗管烘干机,整体破碎采用的是DSJ4325小型锤碎机,破碎后含有玻璃碎片,金属及荧光粉等物质,分离它们采用的是DZSF-1030多层直线振动筛。随后要金属碎片要通过YYSCF-300梳齿磁性分离器处理。用振动筛以及磁性分离器分离好后玻璃碎片,金属碎片要分别通过1500型玻璃破碎机,1000型金属破碎机破碎。破碎后的物质统一由分离塔处理。
上一步处理的物质通过FX-250旋流器设备的处理,分离出玻璃。剩下的物质通过TBLM52滤尘器分离出荧光粉。最后的气流通过150m3活性炭过滤器以及20m3的不锈钢蒸馏釜的蒸馏,得到粗汞,精馏得到纯汞。至此,废旧荧光灯中的玻璃、荧光粉、汞得到回收利用。
关键词:废旧荧光灯 回收生产线 汞 回收利用
Abstract
The advantages of recycling waste fluorescent lamps using “direct crushing and separation” are obvious. This technology has the advantages of compact structure, small device footprint, and investment saving.
The process of “direct crushing and separation” in the recycling line of used fluorescent lamps is to clean the used fluorescent lamps first, and then to crush the lamps as a whole and gradually separate the glass, fluorescent powder and mercury. Finally, glass, phosphor, and mercury are recycled according to the purpose of recycling.
The waste fluorescent lamp was cleaned using a washer-dryer. The whole crusher used a DSJ4325 compact hammer crusher. After crushing, it contained glass chips, metals and phosphors. The DZSF-1030 multi-layer linear vibrating screen was used to separate them. The metal fragments are then processed through the YYSCF-300 comb magnetic separator. After separating the glass fragments with a vibrating screen and a magnetic separator, the metal fragments should be broken by a 1500 glass crusher and a 1000 metal crusher, respectively. The broken material is unified by the separation tower.
The material processed in the previous step was processed through the FX-250 cyclone equipment to separate the glass. The remaining material separates the phosphor from the TBLM52 filter. The final gas stream was distilled through a 150m3 charcoal filter and a 20m3 stainless steel distillation kettle to obtain crude mercury, which was distilled to give pure mercury. At this point, glass, phosphor, and mercury in used fluorescent lamps are recycled.
Key words:Used fluorescent lamps Recycling production line H Re-use.
目录
第一章 绪论 1
第二章 内容与要求 5
2.1 探究主要内容 5
2.2 探究的主要任务及要求 5
第三章 废旧荧光灯内部物质的含量 6
第四章 废旧荧光灯的回收利用方法 7
4.1废旧荧光灯回收利用采用的技术 7
4.2废旧荧光灯的设备原理图 7
第五章 废旧荧光灯无害化拆解和回收生产线的探究 9
5.1 废旧荧光灯的清洗 9
5.1.1 废旧荧光灯清洗的概述 9
5.1.2 废旧荧光灯清洗设备的选择 9
5.1.3 清洗设备的计算 10
5.2废旧荧光灯的破碎 11
5.2.1废旧荧光灯破碎流程的概述 11
5.2.2废旧荧光灯破碎流程的计算 11
5.2.3 废旧荧光灯破碎设备的选取 11
5.2.4 废旧荧光灯破碎的结果 13
5.3 废旧荧光灯的初步分离 13
5.3.1废旧荧光灯初步分离的概述 13
5.3.2 废旧荧光灯初步分离的计算 13
5.3.3 废旧荧光灯分离设备的选取 14
5.3.3.1 筛子的选取 14
5.3.3.2 金属破碎机的选取 15
5.3.3.3 皮带传送机设备的选取 17
5.3.3.4 磁力分离机设备的选取 18
5.3.3.5 玻璃破碎机设备的选取 18
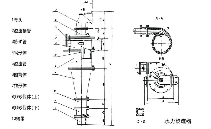
5.4从废旧荧光灯粉碎颗粒中分离玻璃 19
5.4.1分离玻璃的原理 19
5.4.2 分离玻璃的设备的选取 19
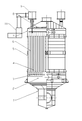
5.5 从细组分中分离荧光粉 21
5.5.1分离荧光粉的概述 21
5.5.2分离荧光粉的装置 21
5.6从荧光粉中分离汞 23
5.6.1从荧光粉中分离汞的概述 23
5.6.2 从荧光灯中分离汞所需设备的选取 23
5.6.2.1 活性炭过滤器设备的选取 23
5.6.2.2 不锈钢蒸馏釜设备的选取 24
5.6.2.3 循环气泵设备的选取 25
5.7 车间的工作制度和厂房配置 26
第六章 废旧玻璃碎片、荧光粉、汞的回收利用 27
6.1 废旧玻璃碎片的回收利用 27
6.1.1 废旧玻璃碎片机器清洗后人工筛选 27
6.1.2 清洗后废旧玻璃碎片的回炉 27
6.1.3 玻璃的再成型 27
6.2 废旧荧光粉的回收利用 28
6.3 金属的回收利用 28
6.4 汞的回收利用 28
第七章 结论 29
参考文献 30
致谢 32
第一章 绪论
目的背景。我国的荧光灯其产量在近几年来一直呈现了上升的趋势,现在,我国的荧光灯产量以及用量都居于世界的首位。2016年我国的荧光灯年产量为40.23亿只。但伴随荧光灯数量的上升,废旧荧光灯污染的问题也更加的严重[1]。大部分的荧光灯都被当成普通垃圾丢弃。但废旧荧光灯中含有重金属汞,汞具有高挥发的性质,污染持久性,若是处理不当,灯管破裂,进入垃圾填埋场的废旧荧光灯就会释放大量汞,可能会严重的污染地下水源和土壤,破坏生态环境,进而对人类身体造成危害。在这种背景下,有必要对废旧荧光灯回收处理[2]。
废旧荧光灯中稀土元素回收的现状。世界各国越来越重视废弃荧光灯中稀土元素的回收,日本相继颁布了“国家范围内稀土资源回收利用废物处置法”和“提高资源利用效率法”来积极促进二次稀土资源回收。英国、加拿大等许多国家建立了专门的网站,来指导荧光灯生产和回收的各个环节。随着我国循环经济的快速发展,稀土荧光粉的二次利用逐渐提上议事日程。中国共产党第十八次全国代表大会上明确指出,要促进生态文明建设,促进资源节约,发展循环经济,促进生产、流通和消费过程中的减量化、再利用和循环利用[3]。中华人民共和国科学技术部2012年公布的“十二五”废物资源化利用科技工程专项规划中明确指出,废物回收利用是未来技术发展的方向[4]。
目前,关于废弃荧光灯中稀土元素的回收和再利用,主要有三种思路:(1)回收稀土荧光粉直接用于生产新的荧光灯;(2)通过物理方法分离出单一的红粉、蓝粉和绿粉,再用于生产新的荧光灯;(3)通过化学方法回收稀土氧化物,重新制备荧光粉后用于生产新的荧光灯。
直接利用法的工艺流程简单、污染较少,但由于各厂家生产的荧光粉型号和成分不同,且回收的荧光粉含有大量的杂质,造成荧光粉的发光效率较低;荧光粉分离法仅使用少量化学试剂,但产品的纯度不高,使荧光粉的发光效率较低;回收稀土氧化物法所得到产物的实用性广且纯度较高,但流程复杂、化学药剂消耗多[5]。
首先,通过粉碎,分选等一系列物理过程,将废旧荧光灯分为不同的二次资源(废弃荧光粉,铝,玻璃,汞)。其次,通过如碱熔,酸浸,萃取等化学方法对废弃荧光粉中的稀土元素进行回收和再生利用。
废旧荧光灯中废旧荧光粉的收集。废弃荧光粉中稀土元素回收和再生利用的前提是实现荧光粉与金属、玻璃等材料的分离,并收集废弃荧光粉。目前国内外处理废弃荧光灯和收集废弃荧光粉的方法主要有两种。
(1)破碎法
机械破碎技术通常分为干法和湿法破碎。
湿法破碎通常在乙醇或丙酮溶液中进行,可有效的捕获汞,避免荧光灯中汞蒸气逸出造成的环境污染。Rabah等人研究发现30%的丙酮溶液,可以有效的避免汞蒸气的逸出。在德国、芬兰和瑞士等许多国家,湿式破碎工艺处理废弃荧光灯已得到工业化应用。
干法破碎工艺是在密闭或真空环境下进行,高温加热去除吸附在金属、玻璃和荧光粉上的汞,汞蒸汽通过精制后再利用。金属、玻璃和荧光粉通过分离设备进行分离。全球许多公司现已研发出干式破碎设备从废荧光灯中分离和回收玻璃、汞、荧光粉、金属等。日本在该领域走在世界前列,例如Nomura Kohsan公司通过干式破碎流程实现了废弃荧光灯的破碎以及汞、金属、玻璃和荧光粉的回收,之前,日本只专注于回收荧光灯中的金属,但随着近年来稀土材料价格的上涨,稀土荧光粉的回收得到了关注,并取得了良好的效果。此外,加拿大的Fluorescent Lamp Recyclers Technologies (FLR)公司、美国AERC公司以及英国的Lampcare公司也使用干法破碎工艺处理废弃荧光灯[6]。
(2)拆解法
拆解法主要为“切端吹扫分离”工艺,该工艺首先将荧光灯管两端的铝盖切断,然后用高压空气将荧光灯中含汞的荧光粉吹出并收集,汞通过高温加热和活性炭吸附法回收。铝盖粉碎后可回收金属,其他非金属材料可作为建筑材料的添加剂或作为废矿填料使用。通过上述技术,废荧光灯组件的回收率可以达到95%,且通过该方法回收的废弃荧光粉中不包含玻璃碎屑,更有利于下一步荧光粉的分离和处理。
“切端吹扫分离”工艺现已实现商业化应用,荷兰的Mercury Recovery Technology公司(MRT)已经开发了“切端吹扫分离”机械,每小时可处理5000只不同尺寸的废弃荧光灯。北京生态岛科技股份有限公司引进了MRT公司设备,每年可处理3亿只报废荧光灯。此外,德国的WEREC,OS-RAM,BISON和OSIMA公司共同研发了“切端吹扫分离”设备,并已商业化应用。
废旧荧光灯的分选。釆用机械破碎方式获得稀土荧光粉会含有大量的玻璃碎屑,并且许多荧光粉处理企业会将稀土荧光粉与之前回收的不含稀土的卤磷酸钙荧光粉合并处置,使稀土荧光粉含有大量的卤磷酸钙荧光粉,给稀土荧光粉的分选造成困难。
(1)磁选法
磁选法是根据三基色荧光粉和卤磷酸钙荧光粉磁性的差异对其进行分离和回收稀土荧光粉的方法。
由于含有稀土元素Tb和Eu的荧光粉具有一定的磁性,日本赤井智子等人在过滤装置中加入了电磁体系统,该设备可以收集含有稀土元素Tb和Eu的荧光粉,而其它荧光粉与卤磷酸钙荧光粉由于无磁性或磁性较低而分离,可得到纯度为99%以上的稀土荧光粉。Tanaka和Akai等人采用磁场强度为2T的高梯度磁选机成功实现了废弃荧光粉中三基色荧光粉的分色回收[7]。
(2)密度分离法
密度分离方法是根据三基色荧光粉各颗粒之间以及荧光粉与杂质成分之间粒度和密度的差异对其进行分离的方法。
Takahashi T等人首先采用风力分级法研究了稀土荧光粉和卤磷酸钙荧光粉的分离特性。经过风力分级后,废弃荧光粉中的稀土含量从13.3%提高到29.3%,稀土元素回收率为32.9%,有一定的分选和分离效果。
以二碘甲烷为重介质,采用离心分离法,Hirajima T 等人实现了低密度卤磷酸钙荧光粉与稀土荧光粉的分离。主要考察了离心机转速、矿浆浓度、表面活性剂用量对分离效果的影响。实验表明,离心时间对分选效果的影响较小,在离心机转速为15000r/min、矿浆浓度40%,油酸钠添加量为5×10-5mol/dm3条件下,所得精矿中稀土元素的品位达到了48.61%,牛顿效率和回收率分别为0.84和97.34%。实验所采用的重介质二碘甲烷可以通过回收循环使用,循环利用率达到了99.8%以上,减少了对环境的危害。
(3)浮选法
浮选法是根据三基色荧光粉与卤磷酸钙荧光粉表面性质的不同,通过添加合适的表面活性剂改变其可浮性,从而实现荧光粉分离的一种方法。
Hirajima T等人通过Zeta电位测试确定了荧光粉浮选的可行性,主要研究了阳离子捕收剂十二胺以及两种阴离子捕收剂十二烷基硫酸钠和油酸钠对荧光粉颗粒可浮性的影响,同时研究了分散剂Na2SiO3对荧光粉颗粒分散性能的影响。研究结果表明,油酸钠对荧光粉颗粒的分选效果较差,以十二胺和十二烷基硫酸钠为捕收剂,在各自的最佳浮选条件下,稀土荧光粉的回收率和牛顿效率分别为70-90%、0.26-0.37和66-82%、0.18-0.20[8]。
(4)液液萃取法
采用由水相和有机相组成的萃取体系,通过两步液液萃取法,Otsuki等人实现了三基色荧光粉中单色荧光粉的分离。首先,在碱性pH条件下,使用螯合剂2-噻吩甲酰三氟丙酮可将蓝粉选择性地提萃取到庚烷相中。然后使用氯仿可将绿粉萃取到氯仿相中,而红粉会留在水相中。红、绿、蓝三种荧光粉的回收率分别为94.1%、76.0%和98.7%,纯度分别达到了96.9%、94.6%和74.1%。
梅光军等人提出了一种分离三基色稀土荧光粉的新工艺。首先,在碱性pH条件下,蓝粉可以被萃取到含有2-噻吩甲酰三氟丙酮的庚烷有机相中,然后使用氯仿可将绿粉萃取到有机相中。红粉由于抑制剂酒石酸钾钠的作用而留在水相中,因此,人工混合的三种荧光粉可以通过液/液萃取成功地分离,分离产物的品位和回收率分别为:红粉96.9%和95.2%,蓝粉82.7%和98.8%,绿粉94.6%和82.6%。然后采用类似的方法实现了磷酸盐体系三基色荧光粉的分离。首先,使用硬脂胺或月桂胺作为阳离子表面活性剂,在庚烷/DMF(N,N-二甲基甲酰胺)体系中,可实现绿粉的分离。然后用99.5%乙醇处理荧光粉,在添加阴离子表面活性剂1-辛磺酸钠盐条件下,庚烷/ DMF体系可以实现蓝粉和红粉的分离,该方法成功实现人工混合物的分离。分离产品的品位和回收率分别为:红粉95.3%和90.9%,蓝粉90.0%和95.2%,绿粉为92.2%和91.8%[9]。
尽管,直接利用废弃荧光粉后是优先选择途径,但由于物理化学分离方法得到的废弃荧光粉或单色荧光粉的纯度较低,无法满足商业上制备荧光粉的纯度要求,因此无法得到实际的应用[10]。
第二章 内容与要求
2.1 探究主要内容
完成年处理量50万支废弃荧光灯无害化拆解与回收生产线的探究。
2.2 探究的主要任务及要求
完成年处理量50万支废弃荧光灯无害化拆解与回收生产线的探究,实现废弃荧光粉的无害化拆解及其中有价元素的回收。
第三章 废旧荧光灯内部物质的含量
废旧荧光灯中内部最主要的物质为玻璃、灯头、金属、荧光粉,其中玻璃物质占九成以上,达到了92.234%,其次是灯头,占到了6.463%。荧光灯,汞等物质含量较少。废旧荧光灯中含有多种物质,主要物质为玻璃当中的CaO,达到了半数以上,占到了52.77%,还有荧光灯中的重要元素物质P2O5,占到了39,45%,其余元素物质含量较少[11]。
如下表表1、表2所示:
表1 平均每支荧光灯灯头、玻璃、汞的含量
重量(g)  | 占比(%)  | 重量(g)  | 占比(%)  | ||
灯头  | 5.5943  | 6.463  | 汞  | 0.058  | 0.067  | 
玻璃  | 79.8429  | 92.234  | 合计  | 86.5649  | 100  | 
表2 平均每支废旧荧光灯元素物质的含量
元素物质  | 占比(%)  | 元素物质  | 占比(%)  | 
SiO2  | 0.12  | ZrO2  | 1.02  | 
Al2O3  | 2.75  | Sb2O3  | 0.64  | 
CaO  | 52.77  | TeO2  | 0.035  | 
Na2O  | 0.09  | BaO  | 0.089  | 
SO3  | 0.026  | HgO  | 0.13  | 
P2O5  | 39.45  | F  | 1.27  | 
MnO  | 0.60  | Cl  | 0.46  | 
第四章 废旧荧光灯的回收利用方法
4.1废旧荧光灯回收利用采用的技术
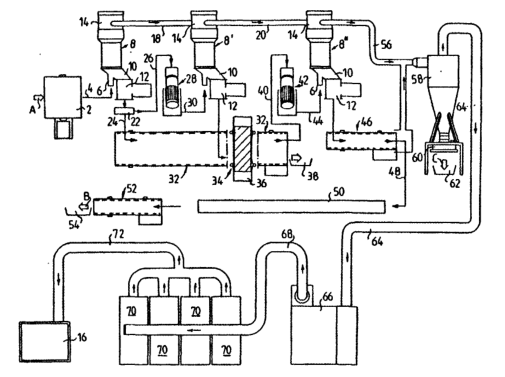
此文废旧荧光灯的无害化拆解与回收生产线采用的是干法分离技术,工艺采用的是干法分离技术当中的“直接破碎分离”。该技术的步骤分为废旧荧光灯的清洗、直接破碎、筛分分离、回收利用等几步[12]。
4.2废旧荧光灯的设备原理图
如下图图1所示:

以上是毕业论文大纲或资料介绍,该课题完整毕业论文、开题报告、任务书、程序设计、图纸设计等资料请添加微信获取,微信号:bysjorg。
相关图片展示:








        
            
