某型船船体尾部结构的建模与性能分析毕业论文
2020-02-17 19:51:15
摘 要
船舶安全问题一直以来都备受关注,分析船舶各部分结构设计的合理性以及各部分结构的强度和刚度,是船舶设计与建造需要考虑的首要问题。而船尾结构作为船舶整体结构的重要组成部分,其结构强度和性能关乎整船的航行安全、使用寿命以及防沉抗撞各项能力,因此校核船舶尾部结构强度就成为了船舶设计以及检验阶段的重要任务。考虑到船舶尾部结构发挥的重要作用,对船尾结构进行合理设计与性能分析是十分必要的。本文以某型船船体尾部结构为原型进行设计建模,并运用有限元分析法对该船船尾结构进行综合性能分析。论文的主要内容如下:
(1)设计船尾结构性能分析总体方案,参考《船舶设计实用手册》以及相关图纸资料,建立该型船船体尾部结构整体模型。
(2)利用有限元分析软件对该型船船体尾部结构进行结构静力学分析,得到船尾结构在轴系的轴向推进力作用下的应力应变分布情况,发现该型船尾部结构设计较为合理。
(3)利用有限元分析软件对该型船船体尾部结构进行模态分析,得到船尾结构前十二阶自由模态的固有频率及振型,根据分析结果可知船尾的动力学性能良好。
(4)利用有限元分析软件对该型船船体尾部结构进行流体力学分析,分析本型船在不同航速下船尾结构受水流影响产生的应力应变情况。
关键词:船体尾部;结构;静力学分析;动力学分析;流体力学分析
Abstract
Ship safety has always been a concern. The analysis of the rationality of ship structure design and the strength and stiffness of each part of the structure is the most important issue to be considered in ship design and construction. As an important part of the ship's overall structure, stern structure strength and performance are related to the safety of navigation, service life and anti-sinking and anti-collision capabilities of the ship. Therefore, checking stern structure strength has become an important task in the ship design and inspection stage. Considering the important role of stern structure, it is necessary to design and analyze the stern structure reasonably. In this paper, a ship hull stern structure is designed and modeled as a prototype, and the comprehensive performance of the ship stern structure is analyzed by finite element method. The main contents of this paper are as follows:
(1) Design the overall scheme of stern structure performance analysis, refer to the "Practical Handbook of Ship Design" and related drawings, establish the overall model of stern structure of this type of ship.
(2) Structural statics analysis of the stern structure of this type of ship is carried out by using finite element analysis software, and the stress-strain distribution of the stern structure under the axial propulsion force of the shafting is obtained. It is found that the stern structure design of this type of ship is more reasonable.
(3) The natural frequencies and modes of the first twelve free modes of the stern structure are obtained by using the finite element analysis software. According to the analysis results, the dynamic performance of the stern is good.
(4) The hydrodynamic analysis of the stern structure of this type of ship is carried out by using the finite element analysis software, and the stress and strain of the stern structure under the influence of water flow at different speeds are analyzed.
Key Words: hull stern; structure; static analysis; dynamic analysis; hydrodynamic analysis
目录
摘要 3
目录 5
第1章 绪论 7
1.1 背景及意义 7
1.2 国内外研究现状 7
1.2.1 船体结构静力学分析的国内外研究现状 7
1.2.2 船体结构动力学分析的国内外研究现状 8
1.2.3 船体结构流体力学分析的国内外研究现状 9
1.3 课题来源 10
1.4 本文研究思路和主要内容 10
1.4.1 研究思路 10
1.4.2 主要研究内容 11
第2章 船体尾部结构的建模 12
2.1 船体尾部结构整体设计 12
2.2 船体尾部船壳部分建模 13
2.2.1 船壳部分组成、作用与工作条件 13
2.2.2 船体尾部船壳部分建模 15
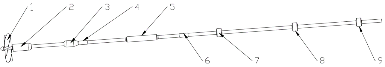
2.3 船体尾部推进轴系建模 17
2.3.1 推进轴系组成、作用与工作条件 17
2.3.2 船体尾部推进轴系设计 17
2.3.3 船体尾部推进轴系建模 18
2.4 船体尾部结构整体建模 19
第3章 船体尾部结构静力学仿真分析 21
3.1 静力学分析简介 21
3.2 主要参数及模型网格划分 21
3.2.1 船体尾部各部件参数设置 21
3.2.2 船体尾部结构模型网格划分 22
3.3 船体尾部结构受力形式分析 23
3.4 船体尾部结构静力学分析 26
第4章 船体尾部结构动力学仿真分析 30
4.1 模态分析简介 30
4.2 船舶振动的影响因素 30
4.3 船体振动固有频率计算方法 31
4.4 船体尾部结构的固有频率及振型 33
第5章 船体尾部结构流体力学仿真分析 35
5.1 流体仿真分析简介 35
5.2 船体尾部结构流场环境搭建与网格划分 35
5.3 流场壁面应力仿真结果分析 37
5.4 船体尾部结构应力仿真结果分析 39
第6章 总结与展望 41
6.1 总结 41
6.2 展望 41
参考文献 43
致谢 45
第1章 绪论
1.1 背景及意义
船舶是一个结构十分复杂的庞大个体,在整体船舶结构中船尾部分发挥着十分重要的作用,其结构强度和性能关乎整船的航行安全、使用寿命以及抗击、抗撞、防沉能力,因此在船舶设计过程中分析船舶结构性能就显得十分重要。
目前国内外船舶行业对船舶结构强度校核的方法主要有两种---有限元计算法和规范计算法,其中规范计算法主要利用船体梁结构计算理论以及传统的经验公式来对船舶结构进行强度校核,但是这种计算方法在计算过程中不能很好的保证计算精度,船舶设计师常常通过增大相关尺寸来满足强度需求,但是这种方法并不严谨,因此规范计算法在实际设计中的应用并不广泛。随着近些年科学技术水平的显著提高,越来越多的船舶设计人员开始倾向于使用更为现代化的计算方法---有限元直接计算法。相比于规范计算法,有限元直接计算法计算所得到的结果更为准确,设计师可以根据有限元直接计算法得到的结果对船体结构进行优化,并随时查看优化结果,其计算迅速、结果精确、便捷高效的特点使其逐渐成为船舶行业设计人员的首选计算方法。因此使用有限元直接计算法对某型船船尾结构强度进行分析是十分必要的。船舶在水中航行过程中,受水流以及波浪的影响,常常会发生振动,一方面会影响船上人员的舒适度,另一方面假若船体振动频率刚好为船体的固有频率,船体将发生共振,振动幅度增大,严重时将导致船上设备失灵甚至船体结构损坏。因此,为避免共振现象对船舶安全的威胁,研究船体振动特性也是十分必要的。
本文基于某型船船体尾部结构进行设计建模,利用有限元分析软件对船体尾部结构进行结构静力学分析以及振动性能分析,同时考虑水流对船尾结构的影响,进行流体力学分析。从诸多方面综合分析船尾结构性能,对确保船舶满足国家规定的强度要求,保证船舶航行安全以及检验船尾结构设计合理性具有重要意义。
1.2 国内外研究现状
1.2.1 船体结构静力学分析的国内外研究现状
船舶作为人们生活中不可或缺的交通运输工具,从很早以前人们就开始建造船舶,从最早的独木舟,逐渐发展为小型木船、大中型木船,后来随着科技的进步,开始有了轮船、舰船等等。而且船舶的种类也有很多,例如平底船、尖底船,纵骨架、横骨架,单层底、双层底,复杂多变、种类繁多。因为船舶关系着很大的经济利益以及人们的生命安全问题,因此很早以前就有许多学者对船舶结构进行研究分析。由于船舶结构非常复杂,而且船舶在水中航行时受到来自各个方向的压力和张力以及扭矩弯矩等等,对船舶结构强度进行分析校核一直以来都是一项艰巨的任务。在没有当今先进科学技术辅助的时代,很多学者集合前辈们的智慧利用数学理论公式对船体结构强度进行校核分析,并总结出很多非常实用的分析方法,这些分析方法经过一代又一代学者的不断完善、优化与总结,最终形成了许多至今都非常实用的简便高效的计算方法,例如变断面薄壁梁计算法等[1][2]。
自二十世纪中期,随着国际科学技术水平的不断提高,越来越多的学者开始将计算机技术应用于社会中的各个工程领域,其中就包括船舶工程领域。起初学者们只是利用计算机技术来求解一些复杂运算,经过几十年的发展和完善,开始出现了许多基于计算机技术的船舶结构强度分析计算方法,其中使用最为广泛的计算方法为有限元分析法,而且还分为专业有限元分析法和通用型有限元分析法。目前国外使用最多的有限元分析软件包括MSC、ABAQUS、ANSYS、LMS-Samtech等等,这些有限元计算软件因其高效快捷的计算方法以及准确度很高的计算结果越来越受到各工程领域设计人员的青睐。我国在上个世纪七十年代开始引进有限元分析法,经过众多专家以及高校学者一起努力,多次合作对这种有限元分析法进行发展和改进,研究出了计算结果更加精确的有限元直接计算法,并结合国内外相关经验,研制出很多适用于我国船舶工程领域独特的有限元分析软件[3],自此有限元直接计算法在我国船舶工程领域中得到广泛应用。高书清等人利用有限元直接计算法对一艘37m双体渡船进行强度分析,并根据计算结果对该船船体结构进行相关优化[4];任思杨运用有限元直接计算法对一艘内河工程船的船体结构强度进行分析,并根据分析结果优化船体结构改进方案[5];刘玉智运用有限元直接计算法和规范计算法两种方法对一艘内河运输船进行强度分析,并对分析结果进行对比发现有限元直接计算法得到的计算结果更为准确[6];杨冬利用有限元直接计算法对一艘68米旅游船进行结构强度分析,并根据计算结果分析了该船的设计合理性[7]等。
1.2.2 船体结构动力学分析的国内外研究现状
船舶的振动问题一直都是人们密切关注的重大问题,造成船舶振动的原因主要分为两大类,第一类为周期激振力作用,包括螺旋桨激振力、柴油机(主机)激振力、船上一些其它设备的激振力;第二类为非周期激振力,包括波浪冲击、水下爆炸冲击、火炮发射时的后坐力、抛锚引起的激振力等等。船尾结构作为船舶整体结构的重要组成部分,船尾处的振动问题也是整船振动问题的主要部分,一方面是由于推进轴系的影响,螺旋桨处于船尾处,其可以为船舶提供航行所需的推进力,但也是船舶振动主要来源;另一方面,很多船舶由于推进系统需要,在船身过渡到船尾后,船体横截面大幅度变小,相应的船尾的结构刚度相比于船身要小很多,这种结构刚度的突变使得船尾结构的振动问题更加突出。
近年来国内外许多学者就船舶振动问题做了大量研究,同时运用了很多先进的研究方法,其中主要有解析法、实船测试法以及有限元分析法等等。解析法主要用于研究板、梁或者板梁组合结构的振动特性,由于现代船舶结构中包含许多的板结构和梁结构,因此解析法可以用于分析局部船体结构的振动特性[8][9],有些学者将船体简化为截面梁模型之后,再利用解析法对其进行振动分析[10][11]。如上文所述,解析法更适用于简单的板梁模型的振动特性分析,当船舶结构十分复杂时,就需要对其进行简化,因此其分析结果并不十分准确,具有一定的局限性。而实船测试法必须等船体建造完成之后才能对其进行检测,这种方法在船舶工程领域对船体进行振动特性分析时也具有一定的局限性,但随着测试技术及信号处理技术的发展,实船测试法也逐渐成为研究船舶振动问题的重要方法[12][13]。相比于解析法和实船检测法,运用有限元分析法对船体结构振动特性进行分析结果更加准确,分析过程也更为简便快捷,因此在船舶工程领域中得到广泛应用。Lin等人运用有限元分析法对某船的船舱段进行振动特性分析,分析了在不同外界条件下的船舱段振动响应情况[14]; 邹春平等人运用有限元分析法对船舶结构进行振动响应数值计算,分析比较有限元分析法对不同模型的适用性[15]。
1.2.3 船体结构流体力学分析的国内外研究现状
船体结构流体力学包括两个部分,船体静浮性能和船体航行性能。船体静浮性能是指船舶静浮于水面时的静稳态性能、浮性、抗沉性等性能;船体航行性能是指船舶在航行过程中的各项性能,比如:耐波性、操控性、抗振性等等。船舶在静水中的浮性与稳性性能的好坏直接影响船舶应对各种恶劣坏境的能力,而船舶航行时的抗激振性、耐波性等性能的好坏直接影响船上人员的舒适性以及船舶航行的平稳性。
船舶在正常航行过程中,会受到很多由于水流或者波浪而引起的外界载荷。船体受到的水阻力包括摩擦阻力、涡流阻力、兴波阻力等等,这些阻力很大程度上影响船舶航行的快速性、安全性与平稳性,因此看来,研究船舶流体力学性能也是十分必要的。
国外许多国家在很早就开始了对船舶流体力学性能的研究,而且一些造船大国已经积累并建立了船舶流体力学性能大型数据库,收集了众多型号船舶的性能资料,并不断补充完善,总结经验进一步提高船舶设计水平。像荷兰、瑞典、美国等国家都非常重视船舶的航行性能,因此设计开发了很多分析精度很高的船舶综合优化软件---Hosdes、Mardes、NAPA、FASTSHIP等等,船体结构流体力学分析技术也日趋完善。相比于这些造船大国,我国船舶工业起步较晚,船舶水动力性能分析技术比较落后,但是自改革开往以来,我国在船舶领域也取得了很多突破,同时也自主研发了新型船体结构流体力学分析技术,并投入使用,但是一些自主研发的分析手段其分析精度还有待进一步提高。
国内外很多学者对船舶结构的流体力学性能做了很多研究,杨波等人利用计算流体力学理论对一艘驱逐舰在静水中的横摇衰减运动进行了分析研究,提出了一种新型船舶横摇阻尼系数的计算方法[16];王健等人运用计算流体力学方法对一艘高速铝合金船进行的流场模拟分析,验证了CFD方法优化船舶阻力性能的可行性[17];陈伟民等人运用RAPID软件对一艘肥大型船的兴波阻力进行计算分析,验证了CFD方法计算结果的准确性[18];Brucker; K.A.等人采用BDIM模拟方法对横框船尾流进行分析研究,验证了NFA模拟结果的准确性[19]。
1.3 课题来源
国防纵向项目:“**复杂轴系低频耦合振动的振源消振技术研究”(No.**30204)。
1.4 本文研究思路和主要内容
1.4.1 研究思路
本文拟对某型船船尾结构,主要对推进轴系、船尾轴系支撑部分以及船尾受力与变形分布情况进行分析研究。基于有限元分析法,对某型船船尾结构进行有限元模型建立与仿真分析,从而对本船体船尾部分的结构性能进行综合分析。
以上是毕业论文大纲或资料介绍,该课题完整毕业论文、开题报告、任务书、程序设计、图纸设计等资料请添加微信获取,微信号:bysjorg。
相关图片展示:




![C:\Users\A pig with no nose\AppData\Roaming\Tencent\Users\1228695617\QQ\WinTemp\RichOle\5Y]G}OJ2`HXA50FK3CQ2LF8.png](http://www.biyelunwen.org/wp-content/uploads/2020/02/lw2196_202021719513583.png)




