船舶动力设备浮筏隔振系统结构设计与分析毕业论文
2020-02-24 22:57:24
摘 要
隔振技术是隔离船舶机械设备振动的关键技术。浮筏技术是在双层隔振技术的基础上发展起来的船舶机械设备的一种新型隔振技术,具有诸多优势。浮筏系统的结构设计直接关系到隔振效果,因此本论文以船舶水泵机组为隔振对象,对浮筏隔振系统进行设计和分析。主要研究内容如下:
(1)完成隔振系统理论建模,分析隔振系统参数对隔振效果的影响,为浮筏隔振系统的设计提供理论支撑。
(2)根据船用水泵机组的参数和隔振设计要求,依据隔振系统理论分析结果,结合工程实践中浮筏隔振系统设计经验,选用合适型号的隔振器,确定隔振器的数量,利用三维建模软件Solidworks设计筏架和过渡板结构,安排隔振器布置位置,最终设计了用于船舶水泵机组的浮筏隔振系统。
(3)利用有限元分析软件ANSYS Workbench对浮筏隔振系统进行仿真分析。首先对隔振系统中的筏架、过渡板和浮筏隔振系统进行模态分析得到其固有动态特性,其次对浮筏隔振系统进行谐响应分析,根据机械设备的工作频率范围确定谐响应频宽,仿真计算出上层机脚与下层安装基座处的加速度响应,进而得到对应点处的振动传递的振级落差曲线。仿真结果表明:所设计的浮筏隔振系统在所要求的频率范围内具有良好的隔振效果,能够满足隔振系统的设计要求。
关键词:水泵机组;浮筏隔振系统;有限元仿真;结构设计
Abstract
Vibration isolation technology is a key technology to isolate the vibration of ship machinery and equipment. Floating raft technology is a new kind of vibration isolation technology for ship machinery and equipment based on double-layer vibration isolation technology and has many advantages. The vibration isolation performance is directly related to the structural design of the floating raft system. Therefore, in this article, the design and analysis of the floating raft vibration isolation system developed by the ship pump unit as the object of vibration isolation. The main research content is as follows:
(1) Theoretical modeling of vibration isolation system has been complete, influence of vibration isolation system parameters on vibration isolation performance has been analyzed to provide theoretical support for the design of floating raft vibration isolation system.
(2) According to the parameters of the marine water pump unit and vibration isolation design requirements, according to the theoretical analysis results of the vibration isolation system, combined with the design experience of the floating raft vibration isolation system in engineering practice, the appropriate type of vibration isolator is selected to and the number of vibration isolator has been determined, The truss and transition plate structure has been designed by the three-dimensional modeling software Solidworks, the position of the vibration isolator has been arranged, and finally the floating raft vibration isolation system for the ship water pump unit has been designed..
(3) The floating raft vibration isolation system has been simulated by using finite element analysis software ANSYS Workbench. Firstly, the modal analysis of the truss, transition plate and floating raft vibration isolation system is performed to obtain its inherent dynamic characteristics. Secondly, the harmonic response of the floating raft isolation system is analyzed, and the frequency bandwidth of the harmonic response is determined according to the operating frequency range of the mechanical equipment ,the acceleration responses at the upper base and the lower base are simulated and the vibration level drop curve at the corresponding point is obtained. The simulation results show that the designed floating raft vibration isolation system has a good vibration isolation effect in the required frequency range and can meet the design requirements of the vibration isolation system.
Key Words:Pump unit; Floating raft vibration isolation system; Finite element simulation; Structural design
目 录
第1章 绪论 1
1.1选题背景和意义 1
1.2 浮筏隔振系统的特点与研究应用现状 1
1.2.1浮筏隔振系统的特点 1
1.2.2浮筏隔振系统的研究现状 2
1.3 本文的研究内容 3
第2章 浮筏隔振系统隔振特性理论分析 4
2.1隔振系统分析的建模方法 4
2.2单层隔振系统 4
2.2.1振动幅值分析 4
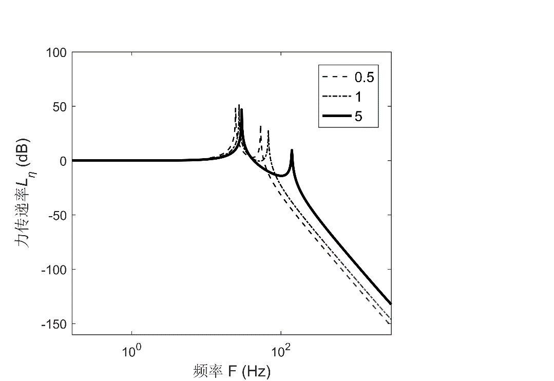
2.2.2力传递率分析 5
2.2.3振动特性分析 7
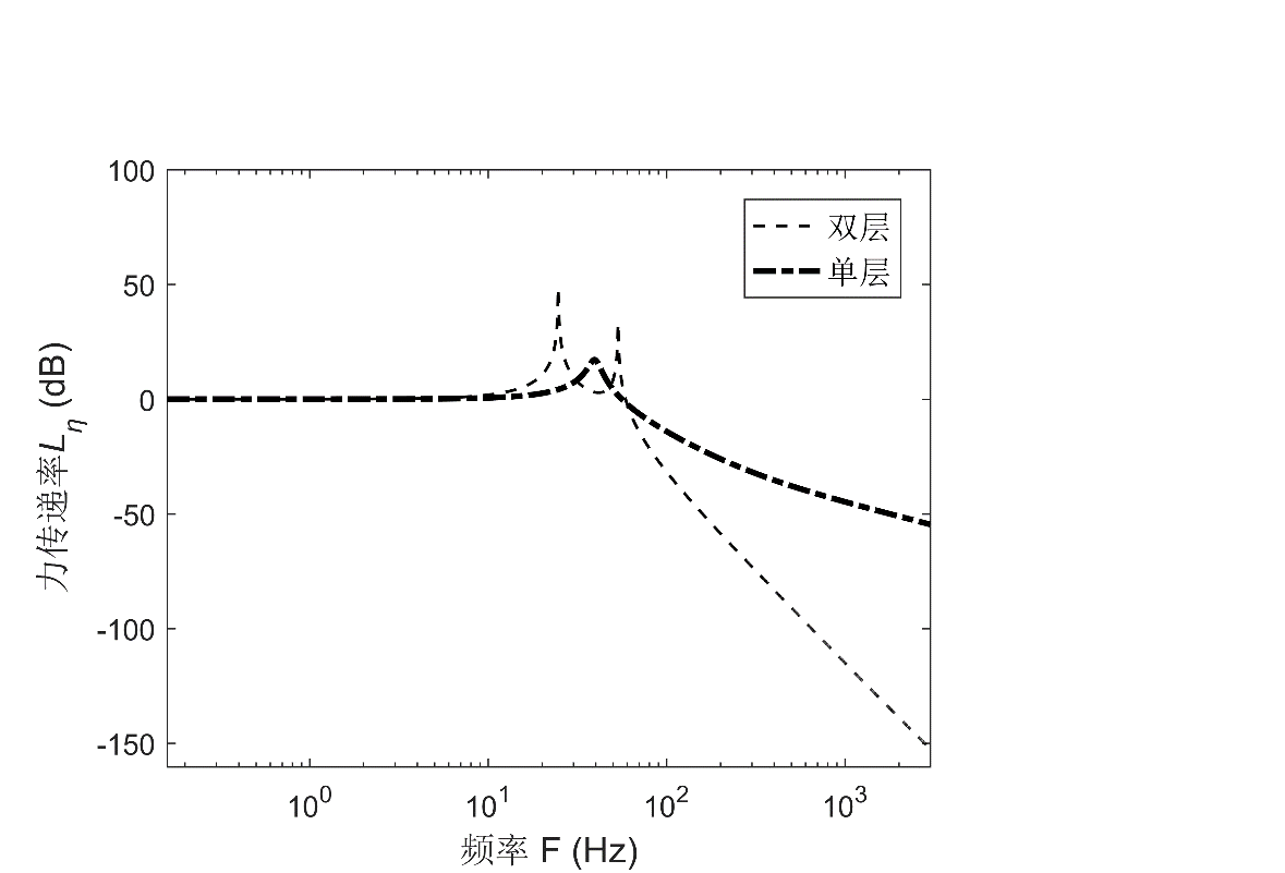
2.3双层隔振系统 8
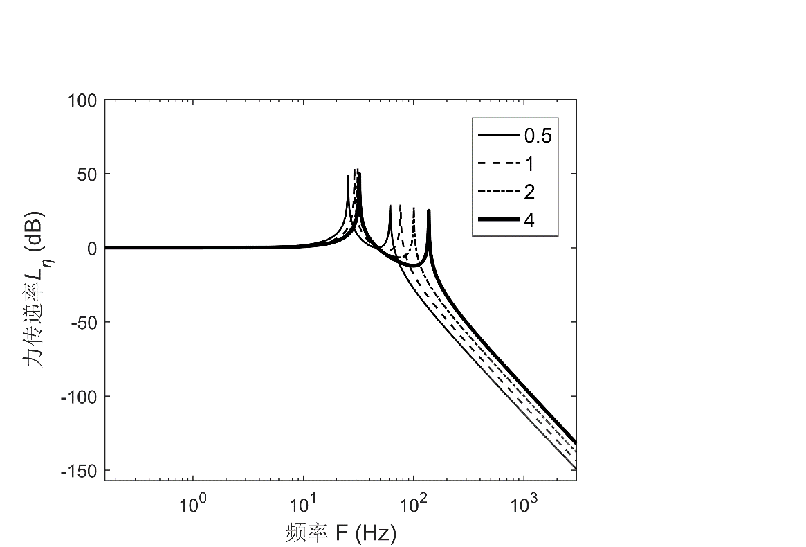
2.4浮筏隔振系统 12
2.5本章小结 16
第3章 浮筏隔振系统的设计 17
3.1浮筏隔振系统的设计理论及依据 17
3.1.1浮筏隔振系统的设计依据和设计要求 17
3.1.2浮筏隔振系统的设计要求 17
3.1.3隔振系统的设计原则和步骤 18
3.2浮筏隔振系统的结构设计 20
3.2.1隔振器的设计选用 20
3.2.2浮筏筏架的结构设计 22
3.2.3过渡板的结构设计 22
3.2.4安装基座的结构设计 22
3.2.5浮筏隔振系统的总体设计 24
3.3本章小结 25
第4章 浮筏隔振系统的仿真分析 26
4.1有限元建模法简介 26
4.2有限元分析软件简介 26
4.3结构振动分析中的有限元法 27
4.4筏架的模态分析 28
4.4.1筏架在ANSYS Workbench中的建模 28
4.4.2求解与后处理 30
4.5过渡板的模态分析 30
4.6浮筏隔振系统的模态分析 32
4.7浮筏隔振系统的谐响应分析 34
4.7.1谐响应分析概述 34
4.7.2谐响应分析的建模 35
4.7.3谐响应分析的求解 35
4.8本章小结 39
第5章 总结与展望 40
5.1论文工作总结 40
5.2课题展望 40
参考文献 42
致 谢 43
第1章 绪论
1.1选题背景和意义
随着我国海军事业的不断发展,军舰作为搭载远程打击武器的平台,具有极大的威慑力,隐身能力作为军舰性能的主要指标,会直接影响其作战效果。军舰内部搭载的内燃机、电机、空气压缩机、泵机等动力装置都会在不同程度上引发船体振动进而产生噪声,直接导致隐身性能下降,因此很有必要采用振动控制技术来降低或消除动力装置引起的振动,包括消振、隔振、吸振、阻振等。隔振由于具有优异的减振性能已经广泛应用于工程实际中,其实现方式是在振源和基础之间,在合适的位置放置隔振元件,以减小传递到基础的振动强度[1]。在浮筏隔振系统中,多台机组各自安装有隔振器,隔振器下端安装在一个公共的中间筏架上,筏架则通过隔振器连接在基座上。浮筏隔振系统不仅可以有效的吸收机器传递到船体的振动能量,而且相对于常见的双层隔振系统能使船内空间更紧凑和减轻船舶载重。
1.2 浮筏隔振系统的特点与研究应用现状
1.2.1浮筏隔振系统的特点
浮筏隔振系统由上层机组、上层隔振器、中间筏架、下层隔振器和基座构成,其示意图如图1.1所示。由图可知,其本质是多机组并联的双层隔振系统。

图1.1 浮筏隔振系统示意图
浮筏隔振系统的特点如下:
(1)具有多个相互并联安装的振动机组;
(2)中间筏架质量通常是上层机组总质量的0.3~1倍,但在分析某一个机组的隔振效果时,其他机组都能起配重作用。由于需要安装多机组,横向尺寸较大,导致筏架的结构强度,刚度相对较低;
(3)在浮筏隔振系统中,筏架、机组相互耦合,可使激振力能量很大程度上被系统各部件的阻尼损耗,同时,由隔振器连接在筏架上的其他非动力设备可起吸振作用[2]。
1.2.2浮筏隔振系统的研究现状
浮筏隔振技术作为一种能有效降低船舶水下噪声、使舰艇隐身的方法,在军事领域对其研究显得尤其重要。国外自冷战军备竞赛时期开始进行对该系统的研究,并对其应用和理论方面均取得了显著突破。美国在于1960年建成的“长尾鲨”级潜艇上用采浮筏隔振装置安装主、辅机,隔振效果相比上代潜艇提高了15~20dB。前苏联紧随其后,于1978年研究的“阿库拉(鲨鱼)”级核潜艇上将主、辅机舱中的动力机组安装到了整体式减振筏架上,经其后10年的研究,更是使新设计的舰船的噪声下降了30dB[2]。英国的“特拉法尔加”级核潜艇也搭载了浮筏隔振系统[3]。而国内最早应用浮筏隔振系统的船舶是豪华游轮“阳航301”号,其将两台内燃机安装在公共筏架上,通过下水测试,振动衰减达到42.66dB,隔振效果良好[4]。国外对浮筏隔振系统的研究,尤其是建模方式,评价指标等已经较为深入,如Pan J等人[5]选取导纳矩阵来研究动态特性,并且对筏架为板架式的浮筏隔振系统进行建模,基于该模型研究了浮筏隔振系统的动态特性。Mak. CM等人[6]通过功率流作为评定标准,研究了浮筏隔振系统中主动隔振器在筏架上安装位置对固有频率的影响,并提出了实时测量并自动搜索隔振器的最佳安装位置的算法。而在国内,对浮筏隔振的研究开始于“八五”期间,主要对浮筏隔振系统的动态特性和采用平置式筏架的浮筏系统的结构动力学建模方法进行分析,研究出了多种建模方法,但动态特性研究仅是研究了结构参数变化的定性影响。“九五”期间,对浮筏隔振系统有了进一步的深入研究,范围包括计算动态响应特性的方法、评价隔振效果的指标、用灵敏度分析参数变化的影响以及功率流等领域。随着浮筏隔振技术研究的深化,筏架的几何结构,隔振系统的非线性等问题在现阶段比较受重视。国内研究浮筏隔振系统的高校也很有多,如上海交通大学的黄修长等[7]基于频响函数的子结构方法对浮筏隔振系统进行建模、并用结构灵敏度法对动态参数进行优化,山东大学的宋孔杰等[8]进行了浮筏隔振系统中的功率流传递的研究等。这些研究已经取得了显著的效果,为进一步对浮筏隔振系统展开研究奠定了基础。
在浮筏隔振的动力学建模方面,浮筏隔振系统可以等价成一个多结构参数复合的复杂系统,其自由度有无限个。因为系统中的约束和弹性介质很难通过建模体现其全部特性,很难求出系统的精确解,故通常建立一些以质量、阻尼、刚度等作为参数的拟合方程求其近似解。目前常用的结构动力学建模方法有五种,分别是多刚体法、有限元法、阻抗综合法、模态阻抗综合法和四端参数矩阵建模法[9]。这些方法各自有其对应的适用范围,其中多刚体法的特点在于根据系统的物理结构参数就可以进行分析,无需实验获得参数,但对于机座和筏架的非刚性特征无法考虑;有限元法可以充分考虑系统内元件的弹性和高阶模态,但建模计算都比较复杂,需要实测获得有关基础的必要非刚性参数信息。阻抗综合法可以充分考虑各子结构之间的非刚性特征,且运算比有限元法简单,但同样需要实测获得子结构的非刚性参数,且非连接点处产生响应特性很难求解。模态阻抗综合法是利用模态参数建立模型的阻抗综合法,除采用模态参数外,其特点跟阻抗综合法相似。四端参数法同样可以实现考虑非刚性特性的分析,且易于上机计算,但是也存在必须实测获得非刚性参数和上下层隔振器数目、位置不对应时难以计算响应的问题[10]。
现阶段对浮筏隔振系统的研究已经较为成熟,但对于一些问题的研究还不尽完善,简述如下:在理论分析浮筏隔振系统的隔振效果时,需要对激励进行估算,但准确的激励很难获得;浮筏隔振系统对单元特定频率激励的隔振能力有限,对主机等单一工作频率的高强度振源隔振效果较差;机组间的接管和传动轴系会导致振动二次传递,对隔振效果产生削弱等,这些都是接下来对浮筏隔振系统进行研究时的重要问题。
1.3 本文的研究内容
本文的设计目的是根据设计要求,在分析总结国内外工程实际中浮筏隔振系统设计原则、设计方法的情况下,根据水泵机组的设计要求,设计一套被动式浮筏隔振系统。具体内容分述如下:
(1)通过对结构动力学理论建模分析,对比分析了各种浮筏隔振系统的特点,研究了浮筏隔振系统的隔振效果,并定性分析了结构参数的改变对隔振效果的影响,以优化浮筏隔振系统的设计。
(2)根据浮筏隔振系统的设计原则和设计理论,参考结构参数变化对隔振效果的定性影响,选用了隔振器并设计了筏架,过渡板,安装基座,最终建立了完整的浮筏隔振系统。
(3)通过有限元软件ANSYS Workbench进行结构动力学仿真,对系统及其主要部件进行了模态分析,并模拟分析了扫频激励下隔振系统的谐响应特性。最后,根据各测点处的加速度计算出加速度振级落差曲线,曲线表明,本文所设计的浮筏隔振系统在高频段能有效降低振动,为以后浮筏隔振系统的设计提出一种参考。
第2章 浮筏隔振系统隔振特性理论分析
2.1隔振系统分析的建模方法
本文采用的理论近似建模方法为多刚体动力学建模法,该方法将系统中的机组、筏架、基座等效为刚体,不计其弹性、阻尼,而隔振器则等效弹性阻尼元件,忽略其质量。依据结构动力学的相关理论,用广义坐标表示系统中的刚体质心位置,从而求得结构动力学微分方程,系统的响应特性则这些方程联立求解得到。由于该建模方法对浮筏隔振系统简化较为合理且在实际工程中的应用便捷高效,是分析系统动力学特性的一种重要方法。这里采用该方法来分析单层、双层及隔振系统的隔振特性,及一些参数的变化对隔振效果的定性影响。
2.2单层隔振系统
2.2.1振动幅值分析
对单层隔振模型进行如下简化:动力机组简化为刚体,质量
的动力设备受到向下的频率为
简谐激振力
,由刚度
、阻尼
的隔振器连接到基座上。隔振原理是隔振器使向下传递的激振力被阻尼衰减,只有一部分力继续向下传播给安装基座。系统的简化模型如图2.1所示:

图2.1 单层隔振系统
根据多刚体理论,建立该系统的微分方程:
	
	
设系统的稳态响应为
,代入式(2.1)可求得响应函数:
	
 	
以上是毕业论文大纲或资料介绍,该课题完整毕业论文、开题报告、任务书、程序设计、图纸设计等资料请添加微信获取,微信号:bysjorg。
相关图片展示:








        
            
