重载汽车刹车系统超声检测工艺参数化设计毕业论文
2020-02-17 19:29:22
摘 要
刹车盘是汽车制动系统的重要组成部分,其安全性非常重要,高速公路上的一个小故障,会导致事故的发生。为此,我们需要对其进行检测。
本文采用超声检测的方法进行研究,利用MATLAB进行超声波的声场仿真,得到了探头在不同水层厚度的声压分布情况,并且设计出相应的工艺规划。同时,利用Visual Studio的MFC程序进行编程,使对一定尺寸范围内的刹车盘能够进行自动化检测。
关键词:刹车盘;超声检测;声场仿真;自动化检测
Abstract
Brake disc is an important part of the car brake system, its safety is very important. A small fault on the highway, will lead to the occurrence of the accident. To do that, we need to test it.
In this paper, ultrasonic detection method is adopted for research, and MATLAB is used for ultrasonic sound field simulation. The sound pressure distribution of the probe in different water thickness is obtained,and the corresponding process planning is designed. At the same time, the MFC program of Visual Studio is used for programming to enable the automatic detection of the brake disc within a certain size range.
Key words: brake disc; Ultrasonic testing; Sound field simulation; Automatic detection
目录
第1章 绪论 1
1.1课题研究背景与意义 1
1.2课题国内外研究现状 1
1.2.1国外研究现状 1
1.2.2国内研究现状 1
1.2.3超声检测的发展趋势 2
1.3本文研究的主要内容 3
第2章 汽车刹车系统简述 4
2.1刹车系统的组成和工作原理 4
2.1.1刹车系统的组成 4
2.1.2刹车系统工作原理 5
2.2制动器简述 5
2.2.1盘式制动器 5
2.2.2盘式制动器的铸造缺陷 6
2.3本章小结 6
第3章 超声检测简介 7
3.1超声波简介 7
3.1.1超声波的定义 7
3.1.2超声波的分类 7
3.1.3超声波的声压 7
3.2声场简介 8
3.2.1圆盘声源的声场 8
3.3超声液浸法 11
3.3.1液浸法原理 11
3.3.2液浸法检测的优点 12
3.4探头的选择 12
3.4.1频率选择 12
3.4.2晶片尺寸选择 12
3.5本章小结 13
第4章 声场仿真 14
4.1多元高斯叠加法简介 14
4.1.1近轴方程 14
4.1.2单高斯声束的传播 14
4.1.3多元高斯声束叠加计算探头发射声场 15
4.2声场仿真 16
4.2.1刹车盘基本数据 16
4.2.2 MATLAB中的声场仿真 17
4.3本章小结 20
第5章 Visual Studio中的程序设计 21
5.1 Visual Studio的MFC程序介绍 21
5.2扫查间距、扫查效率等计算与参数设计 21
5.3 Visual Studio程序设计 23
5.4本章小结 26
第6章 总结与展望 27
参考文献 28
致谢 29
第1章 绪论
1.1课题研究背景与意义
制动器是制动系统中用以产生阻碍车辆运动或运动趋势制动力的部件。在盘式制动器的摩擦副中,像圆盘的旋转元件就是制动盘即刹车盘,刹车盘以其端面为工作表面。无损检测是以不破坏或不损伤原材料和工件为前提,测定和评价物质内部或外表的力学和物理性能,包含各类缺陷和其他技术参数的技术。无损检测中的超声检测具有检测速度快、灵敏度高、指向性好、穿透能力强等优点。它不仅可以检测工件的表面缺陷,并且能检测其内部缺陷,特别是对叠层、分层和裂纹等平面状缺陷,有很强的检测能力[1]。
刹车盘在制造中可能会出现一些缺陷,如气孔、缩松、砂眼等。这些缺陷会严重影响汽车制动性能,尤其在高速公路上,一个小的缺陷可能就是造成高速公路事故发生的缘由。因此,我们需要检测出这些缺陷。为此,本文采用超声检测对刹车盘进行检测,并编写程序使能对一定范围尺寸的刹车盘进行自动化检测。
1.2课题国内外研究现状
1.2.1国外研究现状
国外无损检测技术的研究始于十九世纪三四十年代,在五六十年代于重工业中运用A型脉冲反伤探测仪,如钢铁、机械、汽车等。1964 年,小型超声波探伤仪的出现,标志着无损检测技术进入了超声波探伤阶段,提高了经济效益。当前,随着计算机技术和电子信息技术的进步,国外的超声探伤检测设备得到了蓬勃发展。
例如,由美国泛美公司生产的,采用全数字化高性能超声波采集分析系统的ARGUS级大型超声波自动扫描检测系统,是智能化的代表,它的采样频率达到了100MHz以上,能够实现 A、B、C 三种扫描[2]。德国Karl Deutsch公司研制的无缝钢管自动检测系统,其检测范围可达ϕ20-170mm,它的最高检测速度为2m/s[3]。日本东京煤气公司开发的蜘蛛形超声机器人,能够实现在球罐运行状态下对其焊缝进行缺陷检测。英国USL研制的自动超声检测系统能够实现对缺陷进行自动分类的功能[4]。加拿大Roger WY Chan,D Robert Hay等开发了潜水艇压力壳检测的自动超声识别系统和变厚度的管壁超声检测信号的模式识别系统[5]。
1.2.2国内研究现状
相比于国外,国内超声检测技术起步较晚,并且对超级检测技术的研究集中于一些研
究机构和高校中。天津大学的詹湘琳等对管道焊缝进行了研究,并且开发了一套对管道焊缝的超声检测系统,对其系统参数进行了一些优化,并对类似问题提出了多种方法进行检测,其结果比较可靠[6-7]。清华大学孔超等人对超声相控阵技术中的精度和分辨率进行了研究,提出了一种相控发射和信号处理的实现方法[8]。哈尔滨工业大学单宝华等人对海洋平台结构的检测,提出了超声相控阵检测方法,以解决此类问题[9]。西安交通大学的汪春晓等人,针对车轮轮辋的检测,开发出一种相控阵检测系统,提升了对车轮轮辋的检测效率[10]。
1.2.3超声检测的发展趋势
1.2.3.1超声检测技术的信号处理技术
现代信息技术的进步推动着超声检测技术的发展。小波分析技术在压制数据、减少噪音等方面发挥出重要作用,已成为当前超声信号时域表达的方式之一。这项技术凭借它的诸多优势,应用越来越广泛。进一步改进小波分析的算法,能使信号处理的效果变好,同时让小波变换后在不相同的时空区域变换,能进一步提高它的降噪能力。
1.2.3.2新型非接触超声换能技术
传统的接触式换能技术,在检测技术后,耦合介质会残留在工件上,可能对工件造成质量影响,使其产品质量无法得到保证。因此,新型非接触式换能技术得到了越来越多的应用。
与以往的接触式换能技术不同,这项新型技术更实用。它能应付更加复杂的环境,并且它可以在高温环境中使用,能够对工艺复杂、体积较小的零件进行检测。同时,这项技术面对工艺更加复杂,环境更加特殊的情况,目前还不能较好的使用,为此需要进一步的突破[11]。
1.2.3.3超声检测技术的数字化与图像化
随着现代科技的发展与进步,超声检测的技术含量也与日俱增。对产品的检测与评估,需要用到我们的数字化超声检测设备。这些设备与技术提高了计算的准确性,图形显示等更好地反映出检测缺陷位置,提高了检测能力。
1.2.3.4.超声检测技术的智能化与自动化
随着现代科技的高速发展,超声检测技术也朝着智能化与自动化的方向发展。
计算机技术、电子技术、自动控制技术等的发展,使超声检测也进入到计算机时代。如对轧钢的生产线的监控;对缺陷的自动识别技术;对产品的自动扫描、自动追踪与定位等。自动超声检测越来越受欢迎,并且将继续发展[12]。
1.3本文研究的主要内容
本文结合超声检测的国内外现状,了解各种相关知识,进行声场仿真与VS程序设计,综合来看,本文研究的主要内容如下:
1.了解汽车制动系统的原理,了解刹车盘制造缺陷,了解超声检测的基本原理。
2.完成超声波声场仿真与工艺规划。
3.利用Visual Studio进行程序设计,使之能够达到自动化检测。
第2章 汽车刹车系统简述
2.1刹车系统的组成和工作原理
2.1.1刹车系统的组成
汽车的刹车系统是由4个基本部分组成的:
1.供能装置:供能装置由在制动时,提供所需要的能量并传递能量介质的各个部件组成。
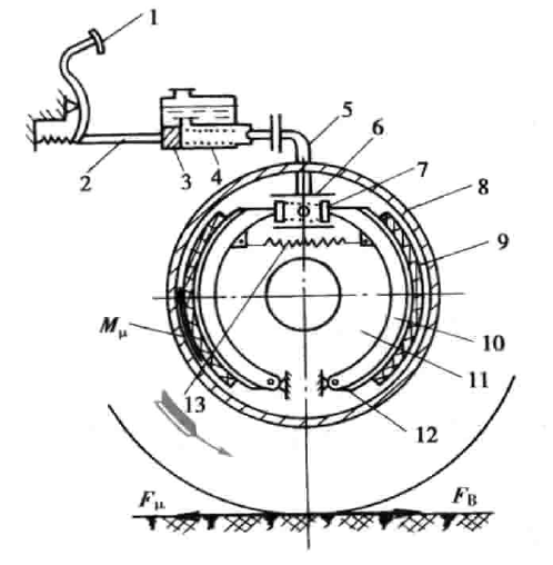
2.控制装置:控制装置产生制动的来源,并且控制制动的效果。在图2.1中,制动踏板1为控制装置。
3.传动装置:传动装置把制动的能量传递给制动器的部件。在图2.1中,制动轮缸与制动主缸都是传动装置的一部分。
4.制动器:制动器产生制动力或者制动趋势,以此来阻碍汽车的运动。在图2.1中,制动鼓8、摩擦片9和制动蹄10组成制动器。
刹车系统还包括压力保护装置、报警装置、制动力调节装置等附加的装置[13]。

图2.1 刹车系统工作原理图



2.1.2刹车系统工作原理
如图2.1所示,制动器非制动时,在制动蹄的外圆面与制动鼓的内圆面之间存在一定的距离。这样,制动鼓和车轮就能够自由地旋转。
驾驶员若想制动,则需要其踩下踏板。通过主缸和活塞推杆,主缸内的油在压力的作用下流到轮缸。通过活塞,两制动蹄绕支撑销旋转,使摩擦片压紧制动鼓。之后,没有旋转的制动蹄便会使在旋转的制动鼓产生一个摩擦力矩
,车轮的旋转方向与其方向相反。此力矩被制动鼓传到车轮后,路面便对车轮产生一个反作用力,即制动力
。该制动力由车轮,经过车桥和悬架后,传递给车身和车架,汽车将会产生减速度。一定范围内,驾驶员施加的力越大,制动力
越大,制动减速度就越大。驾驶员松开踏板后,制动蹄被复位弹簧复位,制动力
和制动力矩
消失,制动就会停止[14]。
2.2制动器简述
在刹车系统中,制动器产生阻碍汽车运动或者运动趋势的力。制动器分为盘式制动器(即刹车盘)和鼓式制动器。本次设计采用的是盘式制动器。
2.2.1盘式制动器
按固定元件的结构,盘式制动器分为钳盘式和全盘式两种不同的类别。钳盘式制动器又可分为浮钳盘式制动器和定钳盘式制动器。本设计采用的是定钳盘式制动器。
2.2.1.1定钳盘式制动器的工作原理

从图中可知,在定钳盘式制动器中,制动钳体被固定在车桥上,它既不能沿制动盘轴线移动,又不能旋转。制动盘两侧分别有一活塞,活塞开始时与盘体有一定的间隙。制动时,制动液被圧入两侧油缸中。两活塞在液压作用下靠近制动盘,并且将制动块压到制动盘上,从而产生摩擦力矩,产生制动效果。
2.2.2盘式制动器的铸造缺陷
汽车刹车盘的制造一般采用铸造生产。在铸造过程中,刹车盘可能产生一些主要缺陷。这些缺陷主要分为气孔、缩松和砂眼[15]。
2.2.2.1气孔的形成与防止
气孔是刹车盘常见的铸造缺陷。通常情况下,刹车盘铸造过程中,如果型芯产生的气体,不能及时溢出铁液,就会滞留在刹车盘表面,形成气孔。当刹车盘盘芯较厚时,铁液上升淹没盘芯的时间较长,就会很少形成表面气孔,但也会产生孤立气孔。
减少气孔产生的方法有很多。如:适当提高铁液浇注温度和速度;缩短铁液流程,减少热量损失;减少和控制型芯发气量;防止气体进入铁液,减少进气量。
2.2.2.2缩松的形成与防止
刹车盘铸件的壁薄,冷却速度快。所以,铁液凝固时过冷度大,凝固后期的石墨化膨胀自补缩利用率低。因此,缩松缺陷发生的可能性增大。
减少缩松的方法有:内浇道均匀分散引入铁液;增强补缩;设置冒口;对于薄壁,增加C、Si含量。
2.2.2.3砂眼的形成与防止
当型砂湿强度低,型砂的水分、含泥量、透气性、湿强度、紧实率等都不稳定,会在铸件的内部或表面形成孔洞状的砂眼。
减少砂眼的产生要控制混砂质量,保证浇注处的均匀性和紧实性。
对刹车盘缺陷的检测,由于超声检测的优越性,我们采用无损检测中的超声检测对这些可能的缺陷进行检测。
2.3本章小结
本章介绍了汽车刹车系统的组成与其工作原理,并对其中的刹车盘进行了重点介绍,介绍了刹车盘的工作原理。同时,本章介绍了刹车盘的铸造缺陷以及防止这些缺陷产生的方法。
第3章 超声检测简介
3.1超声波简介
3.1.1超声波的定义
机械振动在物质中的传播为机械波,频率大于20kHz的机械波为超声波。在超声检测中,超声探头的压电晶片被电脉冲激励,产生机械振动。这种振动在与之接触的介质中传播,超声波就形成了。
3.1.2超声波的分类
超声波的分为横波、纵波、表面波(瑞利波)和兰姆波四种。
横波的波型是质点振动方向与波的传播方向垂直。介质受到交变的剪切力时,发生剪切作用会形成横波。
在纵波中,波的传播方向和质点振动方向平行。当弹性介质受到交变的压应力或拉应力时,能产生交变的伸缩变化,这种变化会产生弹性回复力,使振动在介质中传播。
表面波是仅在半无限大固体介质表面传播,不能进入固体内部传播的波型。瑞利波是表面波一种,是瑞利在1887年证明存在的,是在固体与液体或气体交界面传播的波型。瑞利波传播时,是纵向振动与横向振动的合成。
兰姆波为由倾斜入射到薄板的声波,产生的沿薄板方向传播的波型。兰姆波在不同深度上,其质点振动方向和幅度是变化的[16]。
3.1.3超声波的声压
声压有如下定义:声波传播的介质中,某一点在某时刻的压强与该点的静压强差值。声压的单位为
 (帕斯卡),用
表示。对于无衰减的平面余弦波,
用下式表达:
                     (3.1)
以上是毕业论文大纲或资料介绍,该课题完整毕业论文、开题报告、任务书、程序设计、图纸设计等资料请添加微信获取,微信号:bysjorg。
相关图片展示:








        
            
