输入输出可控的液压系统蓄能器控制系统研究毕业论文
2020-02-17 11:11:28
摘 要
本文基于输入输出可控液压系统蓄能装置的专利,研究其控制系统,在对液压力学控制系统进行研究之后,拟定使用力反馈两级电液伺服阀进行仿真分析。
借助AMEsim软件对输入输出可控液压系统蓄能装置进行了数学模型建立以及仿真分析,通过理论计算设计了力反馈两级电液伺服阀,其实质为喷嘴挡板伺服阀。之后使用AMEsim软件建立喷嘴挡板阀数学模型并进行仿真分析。推导出喷嘴挡板伺服阀的传递函数,并使用simulink建立模型进行控制系统仿真分析,之后对参数进行优化。
研究结果表明:有输入输出可控的液压系统蓄能器可以有效节省液压能源和改善液压系统工况。并且使用喷嘴挡板阀可以有效提高控制反应速度以及控制效果,在对
,
进行优化之后,可以大幅提升系统的响应速度以及稳定性。
本文的特色:从输入输出可控的液压系统蓄能器的设计到控制系统的一系列研究。
关键词:伺服阀;可控;液压节能。
Abstract
In this paper, based on the patent of the energy storage device of the input-output controllable hydraulic system, the control system is studied. After the study of the hydraulic control system, the two-stage electro-hydraulic servo valve with force feedback is designed for simulation analysis.
With the help of AMEsim software, the mathematical model of the energy storage device of the input and output controllable hydraulic system is established and simulated. A two-stage electro-hydraulic servo valve with force feedback is designed through theoretical calculation, which is essentially a nozzle baffle servo valve. Then the mathematical model of nozzle baffle valve is established by using AMEsim software and the simulation analysis is carried out. The transfer function of the nozzle baffle servo valve is deduced, and the control system is simulated and analyzed by using the Simulink model, then the parameters are optimized.
The results show that the accumulator of hydraulic system with controllable input and output can effectively save hydraulic energy and improve the working condition of hydraulic system. And the use of nozzle baffle valve can effectively improve the control reaction speed and control effect. After optimizing
,
, the response speed and stability of the system can be greatly improved.
The characteristics of this paper are as follows: from the design of accumulator of hydraulic system with controllable input and output to a series of research of control system.
Key Words:servo valve;controlled;hydraulic energy saving
目 录
第1章 绪论 1
1.1 目的及意义 1
1.2国内外液压系统发展历史、近况及展望 2
1.2.1液压系统发展历史 2
1.2.2液压系统节能发展近况 4
1.2.4液压系统发展展望 5
1.3 液压伺服系统的研究现状 5
1.4 研究的主要内容与方法 8
10
第2章 输入输出可控的液压系统蓄能装置数学模型 11
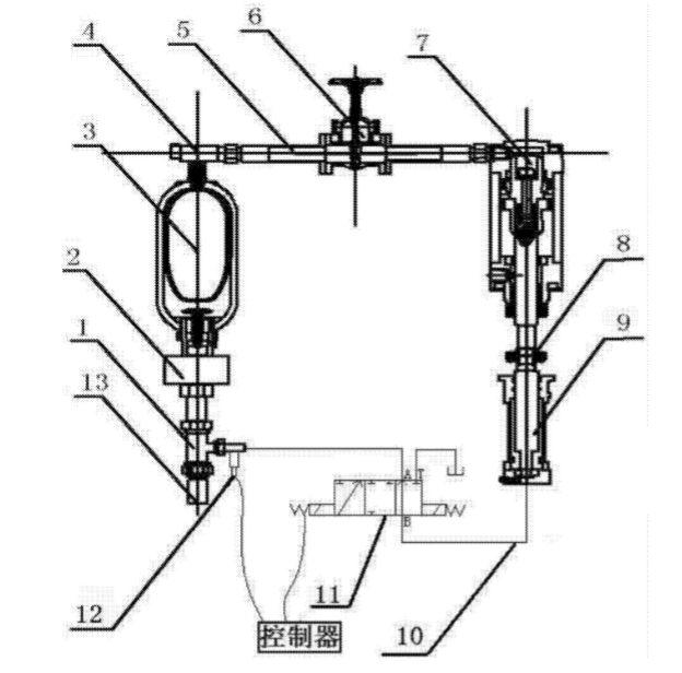
2.1 输入输出可控的液压系统蓄能装置简介 11
2.1.1 工作原理 11
2.2 电液伺服阀设计 12
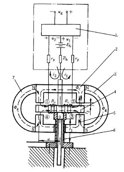
2.2.1 电液伺服阀的组成 12
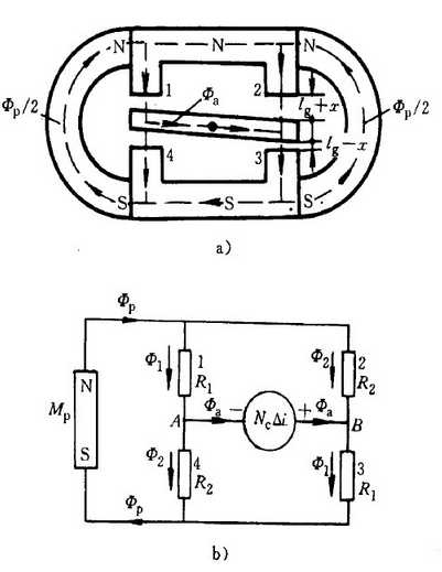
2.2.2 永磁动铁式力矩马达 13
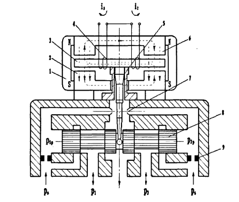
2.2.3 喷嘴挡板阀设计 18
2.2.4 力反馈两级电液伺服阀 28
2.3 本章小结 33
第3章 输入输出可控的液压系统蓄能装置控制系统研究 34
3.1 喷嘴挡板阀控制滑阀传递函数的推导 34
3.1.1喷嘴挡板阀的流量方程推导 34
3.1.2阀控缸连续性方程 35
3.1.3滑阀上所受到了的力 36
3.1.4喷嘴挡板至滑阀的传递函数 43
3.1.5阀控液压缸的传递函数 43
3.2 力反馈伺服阀传递函数的推导 44
3.2.1作用在挡板上面的压力反馈 44
3.2.2力反馈伺服阀的稳定性分析 45
3.2.3力反馈伺服阀的传递函数 48
3.2.4力反馈伺服阀的频宽 49
3.2.5力反馈伺服阀的静态特性 51
3.3 本章小结 51
第4章 输入输出可控的液压系统蓄能装置仿真分析 52
4.1 软件介绍 52
4.2 力反馈伺服阀设计 52
4.2.1滑阀主要结构参数 53
4.2.2喷嘴挡板阀主要结构参数 53
4.2.3力矩马达主要结构参数 54
4.3 喷嘴挡板伺服阀模型仿真 56
4.4 输入输出可控液压系统蓄能装置模型仿真 61
4.5 喷嘴挡板伺服阀控制系统simulink仿真分析 64
4.5.1系统主要参数优化 65
4.6 仿真结论与意义 69
第5章 总结与展望 70
参考文献 71
致 谢 73
第1章 绪论
现如今,世界上整体的制造业发展迅速,当然,我国也不例外,抓住了时代的机遇,现今正处在从制造大国向制造强国的历史性转变过程中。显而易见,发展装备制造业刻不容缓,不容忽视。而在装备制造业中,液压技术占据了十分重要关键的地位,对机械制造业的发展,有着不容小觑的作用,具备十分重要的发展潜力和应用价值。因此,液压技术的研究和提高已经是迫在眉睫了,只有发展和完善液压技术,才可以进一步完善与发展机械制造行业,从而满足机械制造业的种种需求。
1.1 目的及意义
尽管液压传动技术在工业领域已经成功得到了广泛的应用,但是现如今,液压传动有一个十分严重的缺点,即能量利用率较为低,仅有总能量的6%~30%,因此造成了极大的液压能源浪费现象。而随着现代社会能源危机的日益严重,如何有效提高液压机的能源利用率已经成为目前研究的一个热点。只有成功将液压系统中浪费的能量利用起来,或者降低液压系统浪费的尽管液压传动技术在工业领域已经成功得到了能源消耗,才能有效的为现代社会节约能源与有限的资源,从而为当今人类社会做出不凡的贡献,也可以为我们的子子孙孙后代们留下足够的资源与美丽的环境。
只有在完全的了解了液压传动是在什么地方、怎么样损失能量的,才能有效解决这方面问题从而减少能源的损耗,找到合适的减少能量消耗、节约能源的策略与方法。液压系统损失能量主要有以下的三个方面:1.压力损失,是由于液体流经管路以及装置的局部区域时造成的;2.容积损失,是由液压系统或者元件的泄露造成的;3.摩擦损失,由于装置内液体有摩擦,而且液体与装置之间也存在摩擦,是由于运动部件之间的机械磨损所造成的。
因此在液压系统中,现在主要是从以下的两个角度考虑节约能源问题,一是尽量减少和避免造成功率损失的因素,如溢流损失、节流损失、元件自身损失等;另一方面是储存系统中的多余能量方便再次利用。本论文主要考虑第二种方法,通过回收、储存系统中浪费的能量,并加以利用以达到节能、提高能量利用率的目的。目前,市面上常用的储能回路包含有利用液体压力能的储能回路、机械能储能回路等。机械能的储能回路主要形式为使用飞轮进行储能,可以有效降低装机所需功率,提高整体效率,但是由于结构上所用高转差率电动机启动力矩的限制,在大功率液压机上使用这种还是有很大的不便,而且在工艺上也有范围的限制,所以当保压的时间需要很长或者负荷的数值变化很大的时候都不适合使用。
蓄能器是用在液压系统之中的一个储存能量的装置,它通过将液压能力储存起来,作为位能或者压力能储存于自身之中,然后在外界需要的时候,通过释放压力能以及位能来释放出液压能量。因此可以看出其具有调控系统能量变化的作用,可以防止液压冲击以及防止系统出现故障时出现剧烈反应。使得系统基本上处于稳定状态。
它的工作原理是这样的,因为液压油是已经无法继续进行压缩的一种液体,所以通过液压油来积蓄液压力是无法进行的,因此其不能通过自身来进行能量转换,需要通过其他的介质来进行能量的转换,正是因为这个需求,才制造出了当今广为使用的皮囊式充气蓄能器,它的作用即是蓄积液压油的能量以及释放能量。它是由油液部分和气体部分所组成的,气体部分带有专门的气密封件,油液回路和皮囊周围的油液相接通。当管路压力升高的时候,蓄能器会成功收入油液,这个时候气体会被压缩,直到系统管路的压力恒定不再上升;而当管路压力下降的时候,压缩空气膨胀,将油液从蓄能器成功压入回路之中,进而可以成功减缓管路压力的迅速下降。
由于蓄能器具有种种优势,因此这必定将是未来节能方面重要的研究方向。
1.2国内外液压系统发展历史、近况及展望
1.2.1液压系统发展历史
法国物理学家帕斯卡(图1-1)在1662年的时候,就提出了利用液体来产生很大力的可能性。1795年左右,伟大的英国物理学家布拉马通过研究发明成功取得了专利——世界第一个手动液压机,虽然是这样,但是其实真正的液压
机的发展历程至今还不到200年 。
图1-1 帕斯卡
在西方,随着一战二战爆发以及工业革命的推进,对于重型装备的需求越来越大,而液压也是重型制造业的一个重要手段,由此液压技术得到突飞猛进的发展。在1839年出现了第一台蒸汽机锤(图1-2)。并且西方各国争相对大功率和大型水压机进行研究发展,液压装置改头换面,一代比一代更为巨大,所能承受的力也越来越大。液压机发展到现如今,已经是一个应用十分广泛的东西了,他已经渗透到了人们生活的各个地方。
在我国,液压被广泛的用于军工、航空航天、装备冶炼等方面,由于其精密性以及重量性,我国已经在液压方面进行大力的研究与开发,液压技术在我国以及有了突飞猛进的发展了。

图1-2 液压锤
1.2.2液压系统节能发展近况
液压系统的每个元件在工作的时候都会产生相应的能量损失情况,目前在节能的目标之下,机械液压节能技术正在进行全方位的展开发展。guo内外对于相关的机械液压节能技术有多种方案与研究。当今主要手段包括依靠变量泵来控制措施、基于改进液压回路系统的节能措施、采用更为先进的计算机技术来改善系统的措施等等。现在节能发展的主要方向时综合性、科学性、环保性。
而基于液压系统元件来进行节能措施主要是使用更为节能的液压泵。各种液压泵的效率统计如表1所示
随着各种节能泵的出现,人们的购买意向发生了很大变化,更加倾向于节能环保泵的购买。这么些的节能泵解决了液压泵溢流损失以及节流损失这些主要的能耗问题。
1.2.4液压系统发展展望
通过上述对于国内外的液压系统的发展历史及近况来看,我们不难看出来,液压技术对于工业化发展的重要影响和功用,因此进一步加强对液压技术的发展和研究尤其是控制方面,显得尤为重。尤其是近几年以来,人们对于金属压制品以及拉伸制品的需求量的大量提升,液压机的应用变得更为广泛了。因此对于未来的液压系统的发展前景,有以下几点展望:
- 液压技术必定向着机、电、液、气一体化的进程发展。当今社会的机电一体化发展于电子技术的兴起,液压技术可以通过液体和气体的转化,减少能量的损失。从而进一步的改善液压系统的性能,最终真正的实现机、电、液一体化的液压系统。
- 液压系统会向着自动化和智能化方向发展,通过液压系统控制系统的研究,在未来的液压系统的研制过程中,定会充分利用微电子技术,从而加入控制手段,进一步实现对液压系统的自动诊断和调整,从而可以对系统的功能部件实现自动的检测以及诊断功能使得其在未来的发展过程中可以对故障进行预处理。
- 液压系统将进行集成化、标准化的全面发展。因为现金液压系统各国分开发展,导致了标准化严重不整齐,因此导致了成本的大幅提升,标准化也为未来的维修带来了便利。因此集成化与标准化也是未来液压系统发展的一个大趋势。
综上所述,本人从液压系统从古至今的发展做了一下概括,并且将中外液压系统的发展做了纵向对比比较,不难发现中外液压技术还有一定差距,但是国内液压已经相对成熟。对于未来液压发展,还是应将目光集中在控制系统的研究方面,充分发挥液压系统的易于操控的优势,来进行发展与完善。因此控制系统的研究定将成为未来液压系统发展的重点内容与突破口。
1.3 液压伺服系统的研究现状
液压系统最为重要也是其最有效的特性,就是液压伺服系统,由于液压伺服系统的存在,液压系统才具有种种优势,它也是液压控制系统中的核心。液压伺服系统是基于自动控制原理以及液压传动的,由这两者中和起来的一种控制系统。当今社会发展,以及趋向于智能化与自动化,这也使得液压伺服系统在电气方面得到了大力的发展,而现代化的控制理论已经是十分完善了,所以液压伺服控制系统也已经发展的较为成熟了。对于研究的电—液伺服系统,其兼具了电气与液压的两种优点,具有很大的灵活性,并且由于电气元件以及电传感器的多元化,使得我们可以在液压伺服系统中控制各种各样的物理量,十分方便便捷高效。而且对于液压元件,液压元件具备许多优点,例如反馈速度快,精度高,抗污染抗磨损并且刚度很大,液压伺服系统优缺点总结如表1-1。
表1-1 液压伺服控制的优缺点
优点 | 缺点 |
1)液压元件的功率—重量比和力矩—惯量比大 | 1)泄露是液压系统的一个弱点,它不仅容易引起火灾,并且污染环境 |
2)液压动力元件快速性好,系统响应快 | 2)液压控制系统的结构较为复杂、加工精度高、成本高 |
3)液压控制系统抗负载的刚度大 | 3)液压信号传递慢,不宜于校正 |
4)液压控制系统体积小、重量轻、控制精度高 | 4)液压油易受到污染,并且可能造成执行机构的堵塞 |
由于液压控制系统的各种特点,使得其在国民经济各个方面都有十分广泛的应用。在军事方面,已经大幅度全面采用了液压系统,由于其特点鲜明,航空航天以及各种导弹控制方面,都大量采用了液压伺服控制系统,因为这种控制系统性能要求十分高,正好符合液压伺服系统的优点。液压控制系统还有一些其他优点:液压元件的润滑性能十分优良、使用寿命十分长、可调的范围广、稳定性能好等等。但是随着液压伺服系统的不断研究发展,也出现了一些难以攻克的难题,例如伺服系统参数变化问题等,而且在新材料新技术方面,也有待创新与突破。轻量化设计也是一个重大可突破方面。控制方法也可以有更先进的研发,因此液压伺服系统的未来还有很大发展于研究空间。
当今的液压伺服控制的研究发展主要有以下的几个方面
- 高压大功率方面研究:高压主要是为了系统的轻量化设计,高压可以有效减少系统的结构尺寸并且大幅降低整体重量。而大功率研究是为了解决高负载以及大的惯量的时候的系统拖动问题。这两方面的研究对于航空航天以及现代汽车行业甚至工业化生产方面的意义十分重大,未来定将是液压伺服控制系统的研究主要方面。
- 可靠性的改良:液压控制系统中的设备一般均是性能十分好的一些元件,他们精度都十分高,对环境污染以及温度的变化都十分的敏感,如果将这种用于航空航天事业,可靠性就显得十分重要了。提高系统的可靠性,可以选择改良机器本身,也可以研究并增加自检与自诊断技术,而目前主要是在采用重构技术以及裕度技术来提高系统稳定性。
- 理论方面解析与补偿特性研究:在现如今的液压伺服系统主要是使用电子计算机,进行模型仿真并对系统进行分析讨论计算,这当中大部分的研究内容是围绕着动态特性来进行的,因为我们研究的系统和影响因素一般是动态的。但是随着系统的应用越来越广泛,越来越多样化,控制的对象也是越来越复杂,其中不乏遇到很大惯量、参数可变以及各种非线性的系统甚至各种干扰。为了让这些情况下的系统的性能依旧具有让人满意的性能,那么研究系统的性能补偿与近代化的控制策略便是必不可少的。
- 与微机控制和数字控制的结合:液压控制是存在很多缺点的,但是如果将液压控制从模拟控制转化为以微机控制以及与数字控制为主的控制的话,将微机控制带入控制回路之中将大大提升控制性能,但是这也同时增加了许多的研究内容,其中包括计算机的速度问题以及电液伺服机构还有计算机的配置问题,以及一些离散化所带来的问题的研究。若要是直接与数字机结合,则需要在液压数字技术上面有突破创新发展,当前社会已经可以生产各种形式的数字阀、高速开关阀以及数字缸等等。若是使用计算机控制,则液压系统可以做出更为复杂的功能控制以及算法。在未来这定将是液压控制系统的研究主要方向,并且当液压伺服控制与计算机成功结合之后,可以在液压伺服控制和计算机技术之间提供精确、牢固、高性能的联系,并同时产生各种智能化的电液伺服系统。
- 批量化工业生产:当然,所有的技术发展,最终的目的都是投产与使用,要成功实现批量化的工业生产,也是当今液压伺服系统研究的重要方面。为了实现,需要降低生产成本,并且开发更为廉价的各种元器件,这定是今后研究的主要课题。
1.4 研究的主要内容与方法
基于上述队医液压系统的发展近况已经展望,不难发现当今社会液压系统已经十分普及了,但是由于技术上的不成熟和不完善,导致液压系统有十分严重的能量损耗现象,因此能源利用率十分的低下,在这种社会背景之下,液压系统节能研究已经迫在眉睫。
以上是毕业论文大纲或资料介绍,该课题完整毕业论文、开题报告、任务书、程序设计、图纸设计等资料请添加微信获取,微信号:bysjorg。
相关图片展示:









