特种设备运输半挂车后轮转向机构设计毕业论文
2020-02-17 10:57:04
摘 要
随着交通、物流业以及运输业的发展,汽车列车作为重要的交通运输工具,在各项工作中的应用越来越广泛。本文针对特种设备运输半挂车运输提出了一种后轮可转向机构,该机构可有效减小半挂列车转向半径,提高半挂车的通过性。
首先本文介绍了有关该选题的研究背景,研究目的及意义,国内外研究现状,确定了半挂车整体结构方案,选定了半挂车整车结构尺寸。
接下来对特种设备运输半挂车的后轮转向机构进行初步设计,确定其转向形式,确定转向中心,对理论转角进行推算,并简化实际转向模型。根据简化后的转向模型,推导出在该模型下各车轮实际转角的表达式。通过CAD软件初步确定后轮转向机构各杆件的长度。
最后通过ADAMS软件建立转向机构参数化模型,对其进行运动学仿真分析,对杆件长度进行优化设计,得到了较为理想的转向特性。
本文提出的特种设备运输半挂车后轮可转向机构能有效地减小半挂车转向半径,降低轮胎的磨损,提高整车的机动性、安全性与灵活性。
关键词:半挂车,后轮可转向机构,adams,仿真分析
Abstract
With the development of transportation、logistics and transportation, as an important means of transportation, automotive trains are more and more widely used in various work. In this paper, a rear wheel steerable mechanism is proposed for semi-trailer transportation with special equipment. This mechanism can effectively reduce the steering radius of semi-trailer and improve the trafficability of semi-trailer.
Firstly, this paper introduces the research background, purpose and significance of this topic, the research status at home and abroad, determines the overall structure scheme of semi-trailer, and chooses the structure size of semi-trailer.
Next, the rear wheel steering mechanism of special equipment semi-trailer is preliminarily designed, the steering form is determined, the steering center is determined, the theoretical angle is calculated, and the actual steering model is simplified. Based on the simplified steering model, the expressions of the actual turning angles of each wheel under the model are derived. The length of each member of the rear wheel steering mechanism is preliminarily determined by CAD software.
Finally, the parameterized model of steering mechanism is established by ADAMS software, and the kinematics simulation analysis is carried out to optimize the length of the rod. The ideal steering characteristics are obtained.
The rear wheel steerable mechanism proposed in this paper can effectively reduce the steering radius of semi-trailer, reduce tire wear and improve the mobility, safety and flexibility of the whole vehicle.
Key Words: semi-trailer;rear wheel steerable mechanism;adams;simulation analysis.
目录
摘要 Ⅰ
Abstract Ⅱ
第1章 绪论 1
1.1研究背景、目的及意义 1
1.2 国内外研究现状分析 1
1.2.1 国内发展状况 1
1.2.2 国外发展状况 2
1.3 课题研究内容与方案 3
1.3.1 研究内容 3
1.3.3 总体研究方案 3
1.3.2 研究目标 3
1.4 本章小结 4
第2章 特种设备运输半挂车整车结构方案 5
2.1 半挂车后轮转向能力设计要求 5
2.2 半挂车结构方案的确定 5
2.2.1 半挂车车架选型 5
2.2.2 半挂车后轴布置与车轮选定 6
2.2.3 牵引车选定 7
2.3 半挂车整车结构与尺寸的确定 7
2.4 本章小结 8
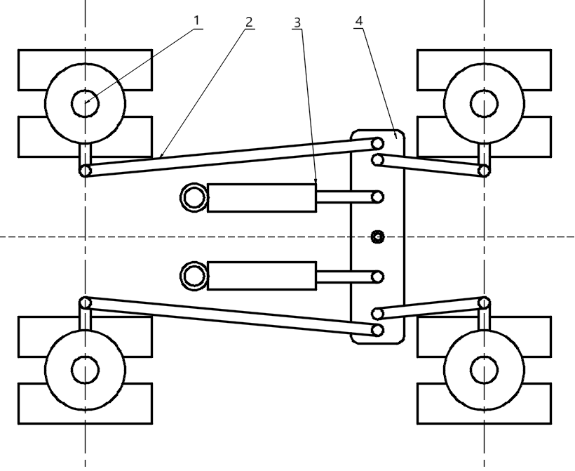
第3章 半挂车后轴可转向机构的初步设计 9
3.1 转向机构形式分析 9
3.2 转向机构的确定 10
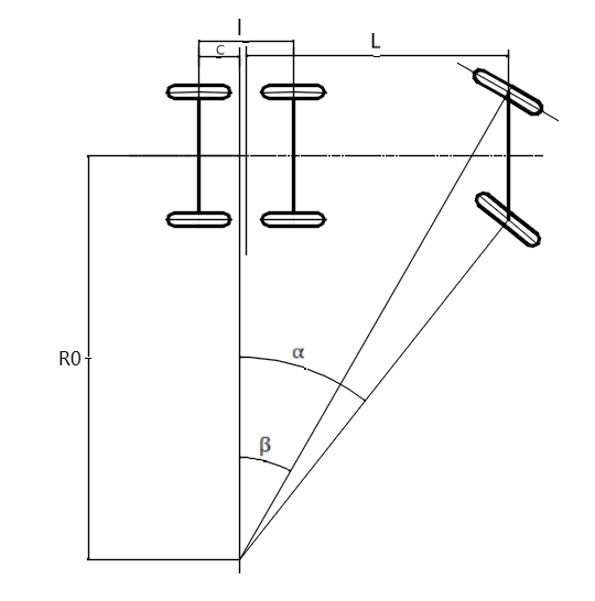
3.3 牵引车转向时转向中心的确定 10
3.4 双后轴半挂车转向时理论转角计算 11
3.5 实际转向模型的简化 13
3.6 半挂车后轮转向机构实际转向特性 13
3.7 半挂车后轮转向机构杆长初步设计 15
3.8 本章小结 16
第4章 基于ADAMS的转向机构仿真与优化设计 17
4.1 参数化模型的建立 17
4.1.1 转向机构点位分析 17
4.1.2 转向机构参数化建模 18
4.1.3 转向机构模型完善 19
4.2 仿真结果分析 21
4.2.1 理论转角与实际转角在ADAMS/VIEW中的实现 21
4.2.2 初始模型仿真结果分析 24
4.3 转向机构优化设计 25
4.3.1 优化设计数学模型 25
4.3.2 优化设计结果分析 27
4.4 本章小结 29
第5章 半挂车后轮转向机构设计 30
5.1 转向阻力计算 30
5.1.1 轴荷计算 30
5.1.2 转向阻力偶矩的计算 30
5.2 液压油缸主要尺寸计算 31
5.2.1 动力缸内径的计算 31
5.2.2 活塞行程的确定 31
5.2.3 动力缸壳体壁厚度的确定 32
5.3 转向回转盘设计计算 32
5.3.1 回转支承的选型 33
5.3.2 回转支承的参数 33
5.3.3 转向回转盘的设计 34
5.4 转向拉杆的设计 35
5.5中心转向板设计 35
5.6 车架连接设计 36
5.7 液压油缸座设计 36
5.8 本章小结 37
结论 38
参考文献 39
致谢 40
绪论
- 研究背景、目的及意义
 
现如今汽车工业发展迅速,随着交通,物流业以及运输业的发展,社会对于汽车的运输效率,经济性的要求也日益提升,而汽车专用化的趋势也越来越明显,汽车列车作为重要的交通运输工具,在社会工作中应用越来越广泛,在工业运输,农业运输,商业运输等领域扮演了重要角色,为国民经济带来了巨大的效益。其不仅可以提高汽车的运输效率,降低运输成本,而且能够减少作业损耗,汽车在运输过程中的货物损耗。对于某些特殊的货物(如水果,肉类等),若用普通载货汽车来运输,则可能发生货物的腐坏变质,一些易燃易爆易腐坏的货物都需要专门的容器和设备来运输。半挂车以其运输效率高,作业时间短,已经成为各国公路运输的主要方式,越来越受到各国的关注。近年来,我国高速公路网络快速发展,高速公路条件不断改善,为公路运输向高速化专用化发展创造了良好的条件。半挂车和牵引车使用牵引座牵引销无间隙连接形式,缩短列车总长,相对与其他专用车形式的稳定性和机动性有所增强,减小了行驶时的震动和噪声。但是半挂车又因其体积大、轴数多、车身较长,普遍存在转向半径较大、机动性差的情况,难以通过较窄、路况较复杂的路面。同时半挂车又经常在低速情况下工作,轮胎磨损严重,在高速行驶时操纵稳定性差,安全性差。为了减小半挂车转弯半径,减轻轮胎的磨损,更好地发挥汽车列车运输快捷性、灵活性、机动性的优势,提出某半挂车后轮可转向机构,该机构用于半挂车上可以有效地减小半挂车转向半径,减轻轮胎的磨损情况,提高汽车列车通过狭窄公路,建筑工地等地段的能力,提高整车的机动性、安全性与灵活性。
1.2 国内外研究现状分析
1.2.1 国内发展状况
随着专用车辆的飞速发展,传统的单轴转向技术已经不能满足实际工作生产的要求,多轴转向越来越成为主流趋势,对半挂车的后轮转向机构的研究也越来越多。目前国内对于半挂车后轮转向机构的研究主要在后轮转向机构的优化设计,多轴转向控制策略的设计以及对其的仿真分析方面,如吉林大学的王岩,以五轴车辆为例,建立整车转向机构的运动模型,将各车轮理论转角与实际转角的差值的绝对值设定为目标函数进行优化,得到最接近理论要求的转向机构布置形式和尺寸[1]。吉林大学的张维远以五轴重型汽车为研究对象通过simulink进行仿真分析,根据整车数据和系统动力学方程搭建整车模型,研究了多轴汽车转向过程中的转向阻力矩计算,瞬时转动中心的确定,并通过蛇形实验,方向盘角阶跃输入实验,在四轮转向和八轮转向两种驱动模式下对比横摆角速度和质心侧向加速度,说明增加后轴参与转向有利于减小轮胎的磨损[2]。西南交通大学的鲜前对七轴钻机底盘三桥转向机构中的梯形机构、转向摇臂机构进行理论分析并建立数学模型,运用MATLAB软件编写优化计算程序;利用ADAMS运动学仿真软件建立七轴钻机底盘三桥转向机构虚拟样机模型,并对前三桥各转向轮转角进行运动学分析,再利用ADAMS软件中的优化工具箱对转向摇臂机构关键连接点参数进行优化分析,进一步提高各转向轮转角特性[3]。武汉理工大学的朱祝英,马四伟,马力,曹为杰等人针对半挂车后轴转向系统,利用ADAMS软件建立参数化的转向机构刚体模型,保证转向机构模型不出现干涉、卡死的情况,并得到后轴内外侧车轮转角与实际转角曲线,最后对其进行优化分析,证明机构设计合理[4]。吉林大学的唐多名通过分析半挂汽车列车理论转向,分析转向偏差形成的原因,并提出利用滑动牵引座与转向梯形结合的方式提高半挂车的轨迹追踪能力,并运用Matlab/Simulink进行仿真分析,通过普通半挂车转向,轮转向半挂车转向,带滑动牵引销轮转向半挂车转向三个横向对比,最终得出结论,轮转向半挂车比普通半挂车转向需要更小的转弯通道宽度,也有更好的轨迹跟踪能力,带滑动牵引销轮转向半挂车比轮转向半挂车具有更好的轨迹跟踪能力[5]。湖南大学的李海碧选定东风柳州汽车有限公司某款商用车,针对其轮胎异常磨损,方向盘不对中以及怠速时异常抖动等问题进行分析,对转向悬架运动协调性进行研究分析并提出一种新型的商用车转向系统布置形式,该形式能有效改善轮胎磨损,方向盘抖动和不对中等问题[6]。除此之外,吉林大学,武汉理工大学,昆明理工大学等多名学者,教授和研究生也对特种车,商用车,半挂车的转向机构控制进行了研究,提出了优化方法[7~13]。
1.2.2 国外发展状况
在第二次世界大战以后,随着欧美强国的高速公路网络进一步完善,公路运输逐渐发展完善,人们也逐渐对挂车,半挂车的后轮转向技术进行了研究,发达国家的多轴转向技术较国内而言较为成熟,随着电控技术的进一步发展,半挂车进入智能化控制时代,越来越多的控制理论不断出现,有许多半挂车后轮转向控制技术已经应用到了实际中,如Erkan Kayacan,Erdal Kayacan,Herman Ramon,Wouter Saeys等人针对挂车系统的非线性建模与辨识做出了研究,在考虑横向力与侧滑角的基础上建立了挂车的非线性横摆动力学模型并对其进行优化控制[14]。L. Bortoni-AnzuresD. Gómez-MeléndezG. Herrera-Ruíz等人为了减小半挂车机动性差的问题,在考虑车辆速度,方向,铰接角度的基础上,提出了一种半挂车自动强制转向系统的转向方程和模糊逻辑控制器,以最小化转弯通道半径,增强挂车的循迹能力[15]。M Abroshan,M Taiebat ,A Goodarzi,A Khajepour等人对提高半挂车低速时的操纵稳定性做出了研究,提出了一种自动转向控制方法,在文中例举车辆总所有车轮均可转向,牵引车和挂车的转向控制器分别独立控制,并使用TruckSim软件进行优化分析并得出该方法可提高挂车循迹能力的结论[16]。除此之外,竞争力、减重、节油以及环境和制造等因素目前正引导半挂车制造商通过现代计算工具改进其新车辆设计,David Valladares,Marco Carrera,Luis Castejon,Carlos Martin等人提出了半挂车车轴支架的新概念,并将其应用于当前半挂车市场[17]。由于半挂车工作条件的不确定性,路面状况的不确定性,装载载荷分布的不确定性,后轮转向控制技术所要考虑的因素也越来越多,随着半挂车后轮转向技术的不断发展和控制理论不断地进步和更新,越来越多的后轮转向优化技术、控制技术不断地涌现出来。
1.3 课题研究内容与方案
- 研究内容
 
本选题特种设备运输半挂车后轮转向机构设计的主要研究内容包括:
- 整车结构方案设计研究
 
根据特种设备半挂车结构及特点,对半挂车进行选型,并对其转向模式与转向特点进行分析,提出总体方案,满足精密、大型、贵重的特种设备运输的需要。
- 转向机构设计
 
转向机构设计是本次设计的重点,本文需要设计安全有效的转向机构,对不同形式的转向机构进行介绍并确定转向机构的总体方案。结合车辆的布置方案确定转向机构的形式,初步确定转向机构模型参数,并合理简化模型,使其符合转向机构实际工作情况。
- 转向机构仿真与优化
 
针对建立的参数化模型,运用Adams软件进行转向过程运动学仿真,并根据仿真结果对设计出的转向机构连杆布置方案进行优化设计,获得最优的布置方案,保证后轮转向机构的转向性能。
- 研究目标
 
(1) 设计出某运输特种设备半挂车后轮转向机构,使该半挂车具有较小的转向半径。
(2)该半挂车后轮转向机构应尽可能简单可靠,符合运动学特性,不能与挂车悬架杆系发生干涉。
(3)设计出一个结构简单可靠,能产生足够大推力的液压油缸。
1.3.3 总体研究方案
本设计采用理论分析和计算机仿真分析相结合的方法,先进行理论分析确定该
半挂
车后轮转向机构中各部件的材料,长度,直径,角度等参数,再通过CATIA进行三维建模,做出所设计的半挂车后轮转向机构的三维模型,并对设计出的转向机构进行转向机构参数的计算和分析,如内外侧车轮转角计算与分析,在此基础上进行结构的优化设计,并将优化结果与原设计结果进行对比,并做出最后的评价。
以上是毕业论文大纲或资料介绍,该课题完整毕业论文、开题报告、任务书、程序设计、图纸设计等资料请添加微信获取,微信号:bysjorg。
相关图片展示:








        
            
