小型电动物流车一机多用属具设计毕业论文
2020-02-17 10:56:34
摘 要
本文在电动物流小车及伸缩臂叉装车的应用范围日益扩大的背景下,针对伸缩臂叉装车可更换属具、灵活多变的特性,进行对于伸缩臂叉装车配套属具与快换接头设计的研究思考。
本文从属具及其的实际工作条件、性能要求出发,分析传统属具连接方式以及现有快接装置结合伸缩臂叉装车臂头结构的特点,对新型快换接头进行了设计。
在CATIA软件的零件设计模块中,构建了快换接头的参数模型,根据设计的快换接头,以铲斗属具为例,阐述了配套属具的设计流程,并利用装配模块将快换接头与属具进行模拟装配,进行运动分析。
分析了铲斗工作中常见的几种阻力和工况载荷之后,选用CATIA的有限元分析模块对铲斗进行静态应力分析。设置材料性能参数,划分网格,施加载荷,经过计算和分析后,得到范式等效应力云图,找到应力最大区域,对该位置进行结构优化,以增加强度和刚度,减少集中应力,再次分析,得到优化后的结果,满足强度要求。
本文利用新旧结合、类比的思想,将传统设计的优点与新趋势结合,比照同类型的设计,采用现代化的设计方法,完成快换接头和配套属具的设计,该设计思想对于属具设计行业有一定的参考价值。
关键词:快换接头;参数化建模;有限元分析;优化设计
Abstract
Under the background of the expanding application scope of electric logistics trolley and telescopic forklift truck, this paper studies and considers the design of matching fittings and quick change joints for telescopic forklift truck, aiming at the flexible and changeable characteristics of telescopic forklift truck.
Starting from the actual working conditions and performance requirements of the fittings, this paper analyses the connection mode of the traditional fittings and the characteristics of the existing quick-connect device combined with the arm structure of the telescopic arm forklift truck, and designs the new quick-change joint.
In the part design module of CATIA software, the parameter model of quick-change joint is constructed. According to the designed quick-change joint, taking bucket fittings as an example, the design flow of matching fittings is elaborated. The quick-change joint and fittings are simulated and assembled by assembly module, and the motion analysis is carried out.
After analyzing several common resistance and working loads in bucket work, the static stress analysis of bucket is carried out by using CATIA finite element analysis module. After calculating and analyzing, the equivalent stress nephogram of the normal form is obtained, and the maximum stress area is found. The location is optimized to increase the strength and stiffness, reduce the concentrated stress, and then the optimized results are obtained to meet the strength requirements.
This paper combines the advantages of traditional design with the new trends by using the idea of combining the old and the new, using the modern design method and comparing the same type of design, completes the design of quick change joint and matching fittings. This design idea has certain reference value for the design industry.
Key Words:Stucchi Quick Couping;Parametric Modeling;FEA;Optimal Design
目录
摘要 I
Abstract II
第1章 绪论 1
1.1 研究背景及意义 1
1.2 国内外研究现状 1
1.2.1 小型伸缩臂工程车辆国内外研究现状 1
1.2.2 工程属具国内外研究现状 3
1.2.3 快换接头国内外研究现状 4
1.3 主要研究设计内容 4
第2章 快换接头设计 5
2.1 传统连接方式分析 5
2.2 快换接头设计 7
第3章 属具设计分析 9
3.1 铲斗结构 9
3.2 铲斗分析 9
3.2.1 铲斗分类 9
3.2.2 斗体形状 10
3.2.3 切削刃形状 11
3.2.4 斗齿 11
3.2.5 铲斗侧刃 11
3.2.6 斗底 11
第4章 铲斗结构尺寸设计 13
4.1 设计要求 13
4.2 铲斗设计 14
4.2.1 铲斗的结构形式选取 14
4.2.2 铲斗尺寸基本参数 15
4.2.3铲斗尺寸参数设计及计算 16
4.2.4 铲斗的容积计算与校核 18
4.2.5 铲斗各部件模型设计 20
第5章 工况分析与强度校核 24
5.1 铲斗典型作业工况分析 24
5.2 主要载荷与各工况受力 25
5.3强度校核与设计改进 26
5.3.1 强度校核模型的材料设置 26
5.3.2 强度校核分析 26
5.3.3 设计改进 28
第6章 装配与应用模拟 30
6.1装配模拟 30
6.2 转角模拟 30
6.3 其他属具装配模拟 31
第7章 结论 32
参考文献 34
致谢 35
第1章 绪论
1.1 研究背景及意义
由于现代生产与物流的,要求相应的物料搬运技术与设备的发展,工程车辆是主要的物料搬运设备,而叉车是工程车辆中使用率最高的类型,但由于叉车本身的一些功能缺陷,比如叉车必须靠近物资对象进行装卸作业,在遇有障碍或其他情况不能接近货物时,无法完成作业任务。而伸缩臂很好地解决了这一问题,使得伸缩臂叉装车有着较为宽泛的适用范围,弥补了叉车的功能缺陷。因此近年来,在全球经济危机的影响下一直处于低迷状态的工程机械行业中,伸缩臂叉装车产量没有受到影响反而保持了一定的增量。
在伸缩臂叉装车的发展过程中,新型属具的开发与应用赋予了伸缩臂叉装车更多的角色,例如伸缩臂装载机、伸缩臂吊装车、移动高空作业平台等。随着欧盟各种指令的不断颁布实施,应用场景的多样化发展,以及人们环保意识的日益增强,人们对于物流车包括伸缩臂叉装车电动化和一机多用的需求日益增强。而伸缩臂叉装车的多功能主要是靠可更换属具实现的,反过来刺激了属具行业的发展,因此属具的研究和设计对于扩充伸缩臂叉装车的功能,提高工作效率,满足日益增加的生产物流需求有着至关重要的实际意义。研究设计用于小型电动物流车的可替换多功能属具有着深远的社会意义和经济价值。
属具,是工程机械工作装置的简称,其应用可以实现工程机械的 “一机多用,一机多功能”。它极大地扩展了主机的应用领域,并以单一功能和高价格取代了各种特殊机器。属具设备的推广与应用将工程建设推向节能、环保、高效、方便、低成本的发展道路,满足了未来的多样化建设需要。
在属具的发展进程,快换接头的发展是必不可少的一部分,设计优良的快换接头能够极大地提高属具更换效率,从而提升主机工作效率,大大强化伸缩臂叉装车地“一机多用”性,因此将快换接头的设计与伸缩臂叉装车的属具设计结合是未来发展的必然方向。
1.2 国内外研究现状
1.2.1 小型伸缩臂工程车辆国内外研究现状
20世纪70年代,欧美畜牧业和对接航运业迅速发展,现有的机械设备难以满足使用的需要。传统装载机无法很好地完成抓住堆积饲料,运输和堆放捆包的工作。而传统的叉车很难在工厂和码头进行远距离装卸。许多类似的要求使得伸缩臂叉装车应运而生。
伸缩臂式叉装车综合了叉车,高空作业平台和具有多种功能的装载机的优点。 它具有广泛的用途,因此自20世纪70年代出现在欧洲和美国以来,受到市场的广泛欢迎。伸缩叉车的巨大商业市场价值促使一些世界领先的工程机械公司,如意大利的Merlo叉车集团,法国曼尼通(MANNITOU)公司等公司集团研发生产自己的伸缩臂叉装车产品。如图1.3为法国曼尼通公司生产的产品。

图1.3 法国曼尼通伸缩臂叉装车
经过欧美发达国家经过几十年的应用与发展,伸缩臂式叉装车产品技术趋于成熟、配套的生产体系逐步完善,并且在发展过程中拥有了成熟的客户群体和稳定的市场环境。伸缩臂叉装的发展受到基础零部件水平的限制,发动机、变速器、液压元件等都是采购产品。因此,伸缩叉车产品的性能、质量和价格不仅取决于主机制造商的设计水平,还取决于基础产业和配套零部件的水平。而欧洲和美国的基础工业水平很高,为发展可伸缩臂和叉的装载技术提供了广阔的空间。由于这些国家农业和畜牧业的发展,对伸缩叉车的需求也随之增加,需求集团的自然存在促进了生产过程。产品的多产业、多领域使用,进一步扩大了产品的应用范围,促进了产品更高层次的发展。
与欧美国家相比,近年来,我国工程机械行业发展迅猛,特别是叉车等产品的生产和需求水平不断上升。然而作为一种小型新型工程车辆,中国伸缩臂叉装车的发展相对缓慢。
我国市场对伸缩臂式叉装车的需求量是决定该行业发展速度的关键因素。在中国和甚至整个亚洲,对伸缩臂式叉装车的认识仍处于起步成长阶段。造成这种情况的主要原因是,对伸缩臂式叉装车的需求没有一个明确的定位,还需要不断地摸索和发掘潜在的市场需求。虽然一些企业对中国伸缩式叉车市场持乐观态度,但他们并不想在需求不稳、市场不明朗的情况下投入太大的资本对伸缩臂叉装车进行研发生产,导致中国伸缩式叉车市场明显弱于欧美。
1.2.2 工程属具国内外研究现状
随着工程机械行业的不断发展,工程机械属具越来越受到人们的重视,成为行业中一个新兴的发展领域。
在国外,许多工程机械制造商正在积极探索、开发和应用各种辅助工程工具,以扩大主机的适应性,提高灵活性和通用性。许多专业配件制造商应运而生,并不断开发出各种专业、高效的设备产品,以满足大型机厂家的需求。同时,各种配件的开发不断促使主机厂改进其设计和配置,以适应配件的安装。主机和属具配件的相互促进共同了工业的技术进步。
在国外,挖掘机属具发展最快,功能类型最广、最强。技术含量也很高,挖掘机已由配备单一挖斗的“挖土机”发展成为具有机械手作用的多功能施工机械,不仅有众多的作业装置可以与挖掘机配套使用,而且研发了诸如快换联结器、液压钢腕等配套机具,相当于给挖掘机装上了一只手腕,可以快速、灵活、全方位地操作工作装置,从而使挖掘机功能大大拓宽。
叉车属具也多达近百种,主要安装在以货又为基型的叉车上,它是提高叉车工作效率和安全性能、减少损坏的重要保证。与传统的叉车托盘相比,采用专用设备可以大大提高叉车的使用效率,降低操作成本。
工程机械属具的发展在我国起步较晚。在过去的十几年里,随着工程机械产业的快速发展,属具也开始进入一个良好的发展时期。据不完全统计,我国各类工程机械属具年销售额超 30 亿元,涉及的生产企业既有大中型主机厂,也有中小型属具厂。虽然属具已经成为主机不可或缺的部分,但在行业中依然没有得到真正的重视,无论是主机厂的属具生产车间还是专业的属具生产厂,始终处于从属地位。
国内属具行业仍处于引进期和上升期。在主机的设计中,缺乏与附件匹配的设计接口和参数以及特殊工作装置的安装,这使得下游配件市场难以开发,新产品开发周期长,应用范围狭窄,增加了产品的研发成本。国内大多数生产企业是中小型企业,生产规模小,产量低,行业混杂,缺乏强大的龙头企业。
对于现存的属具市场发展问题,国家在工程机械“十二五”规划中明确提出了属具行业的发展目标:“要重点支持研发生产的新产品,加快工程机械各类配附件、专用属具的研发制造,培育属具制造基地”。从“十二五”至今,国内企业在属具研发上取得了长足的进步,一批高素质的企业在多年的发展中也应运而生。
1.2.3 快换接头国内外研究现状
自1989年世界上第1台无需人工拆卸销轴的快换连接器出现以来,世界各国相继研究开发出各种各样的快换连接装置,同时也发展了许多知名的快换连接器专业生产厂,如瑞典OilQuick、英国Miller、德国Lenehoff等。作为功能属具中的一类产品,快换连接器在欧美发达国家已普遍运用,极大提高了工程车辆的作业效率,也促进了快接类产品和技术的不断发展,新产品、新技术层出不穷。
万向快接在中国市场的应用尚属空白,处于市场开发期和培育期。目前只有安徽惊天公司自主研制了GTR系列4个规格万向快接,并开发了控制系统的软硬件,达到国外同类产品的技术水平并通过科技成果鉴定。随着液压、控制和电子等技术的不断发展,快换连接器呈现出新的特征和趋势。采用新工艺、新结构,注重提高可靠性,延长使用寿命,同时也加快标准化、系列化、通用化发展速度。
1.3 主要研究设计内容
本文的研究设计内容主要有两大部分组成:
(1)通过分析研究伸缩臂物流车属具传统的连接方式、属具的运动特征来设计快换接头,以达到一机多用的功能目的,同时提高更换属具的效率。
(2)结合所设计的快换接头,进行相应的属具设计。总结出与快换接头配套的属具设计流程。
选取曼尼通公司的MT-X 1030 ST型伸缩臂物流车参数为基本设计参数,以装载机铲斗的设计为配套属具设计的范例,从传统装载机铲斗分析、新型伸缩臂叉装车铲斗分析、合理斗形设计、有限元强度分析、优化设计等方面,综合阐述了配套属具的设计要求、设计方法。对新型快换接头伸缩臂物流车属具未来的设计与应用有一定的参考意义。
第2章 快换接头设计
2.1 传统连接方式分析
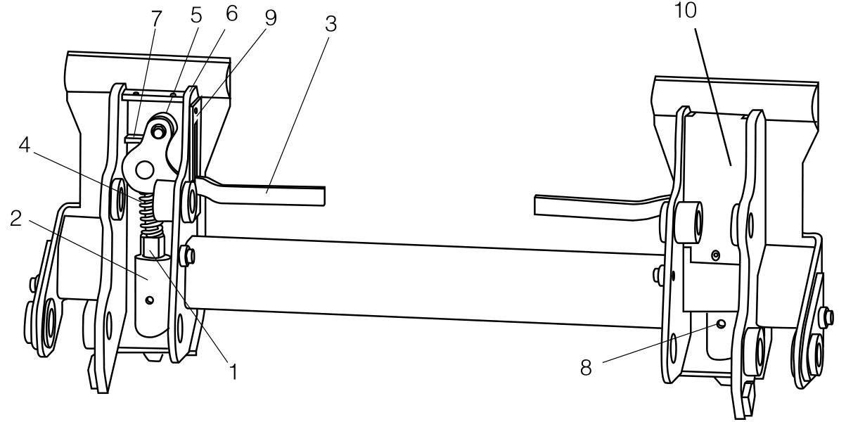
小型伸缩臂叉装车的伸缩臂机构由1节基本臂、1~2节次级臂和“鹅头式”臂头组成。不同公司生产的伸缩臂叉装车臂头布置结构可能有所区别,但是组成和工作原理是一样的。臂头一般由属具机架和翻转油缸组成,如图2.1所示,属具机架起连接属具并受力的功能,翻转油缸通过伸缩来实现属具的翻转运动。

图2.1 伸缩臂臂头结构示意图
传统臂头安装属具的方式主要有销钉铰连接、卡槽快换连接等。
销钉铰连接是将在属具后部上下分别设计一个或多个铰点耳,将属具上铰点耳通过销钉连接在臂头的机架上,将下铰点耳固定在翻转油缸活塞杆上。是最为传统也是更换效率最低的连接方式,唯一的优点就是稳定可靠。
以上是毕业论文大纲或资料介绍,该课题完整毕业论文、开题报告、任务书、程序设计、图纸设计等资料请添加微信获取,微信号:bysjorg。
相关图片展示:








        
            
