乘用车膜片弹簧离合器设计与强度计算毕业论文
2020-04-15 16:54:16
摘 要
汽车离合器位于发动机和变速箱之间的飞轮壳内,用螺钉将离合器总成固定在飞轮的后平面上,在汽车行驶的过程中,驾驶员可以根据需要踩下或松开离合器踏板,以切断或传递发动机向变速器输入的动力[1],其功用为:(1)使汽车平稳起步;(2)中断给传动系的动力;(3)防止传动系过载。
通过分析国内外离合器的发展与研究状况基础上,根据离合器结构和工作原理,并接合膜片弹簧的工作特性,建立了相关的数学模型[1]。在基于离合器的车辆起步过程扭矩传递控制参数优化方法的分析,使用该优化方法能够有效降低冲击度及提高车辆的起步平稳性,并且用 MATLAB 建立膜片弹簧的数学模型并进行相关的强度、弹性特性曲线等计算,为提高离合器性能提供了一定的理论与实际意义[1]。
论文主要针对东风风神 S30,进行了以下的工作事项:
- 对膜片弹簧离合器进行三维建模,CAD图纸量不少于3张A1图;
 - 选择相关设计参数并进行了各主从动部分的设计,主要包括:摩擦片的设计、从动盘的设计、膜片弹簧的设计、操纵机构的设计等。
 - 用 MATLAB 建立膜片弹簧的数学模型并进行相关的强度、弹性特性曲线等计算。
 
关键词: 离合器 膜片弹簧 压盘 从动盘 摩擦片
Design and strength calculation of diaphragm spring clutch for passenger vehicle
Abstract
The clutch is located between the engine and the transmission in the automobile transmission system. In the course of vehicle driving, people step on and release the clutch pedal to control the separation and combination of the clutch, thereby controlling the transmission and cutting off of the power.
According to the way of transmitting power, the clutch is divided into two types: friction type and hydraulic type. At present, friction type is widely used. Friction type clutches can be divided into three types: single-piece, double-piece and multi-piece according to the number of driven plates; according to the pressing method, they can be divided into two types: the normal joint type and the very joint type; There are also single-acting and double-acting points.
With the clutch, it is possible to eliminate this danger by relying on a possible relative movement between the active and driven portions of the clutch. Therefore, we need a clutch to limit the maximum torque the drive train is subjected to to ensure safety.
This article mainly aimed at Dongfeng wind S30, did the following work: 1) to the diaphragm spring clutch for three-dimensional modeling.
- Select the relevant design parameters and carry out the design of the master and slave parts,
 
mainly including: the design of the friction plate, the design of the disk, the design of the diaphragm spring, the design of the control mechanism.
- The mathematical model of diaphragm spring is established by MATLAB and the relative strength and elasticity characteristic curve are calculated.
 
Keywords: clutch,diaphragm,Spring,pressure plate,clutch driven plate ,friction plate
目 录
摘 要 Ⅰ
Abstract Ⅱ
第一章 绪论 1
- 课题背景及意义 1
 - 国内外研究现状	2
- 国外研究现状 2
 - 国内研究现状 3
 
 - 本文主要研究的内容 4
 
第二章 离合器概述 5
2.1 离合器的工作原理 5
- 摩擦式离合器 6
 - 液力耦合器 7
 - 电磁离合器 7
 - 干式离合器 7
 - 湿式离合器 8
 
- 离合器的功用 8
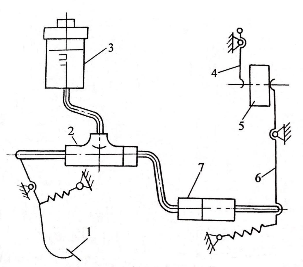
 - 膜片弹簧离合器的结构 8
 - 膜片弹簧离合器的优点 11
 - 本章小结 11
 
第三章 离合器的设计计算及说明 13
- 摩擦片的设计	13
- 摩擦片主要参数的选择 13
 
 - 从动盘的设计	15
- 从动片的设计 16
 - 从动盘毂的设计 16
 
 - 扭转减振器的设计	17
- 扭转减振器的功能 17
 - 扭转减振器的结构类型选择 17
 
 - 压盘的设计	17
- 压盘传力方式的选择 17
 - 压盘的几何尺寸的确定 18
 
 - 操纵机构的设计 18
 - 膜片弹簧的设计	20
- 膜片弹簧主要参数的选择 20
 
 - 本章小结 22
 
- 摩擦片的设计	13
 
第四章 膜片弹簧离合器的三维建模 24
- 离合器盖的装配 24
 - 从动盘的装配 25
 - 离合器模型的总装配 27
 - 本章小结 28
 
第五章 膜片弹簧的优化设计 29
- 膜片弹簧的弹性特性 29
 - 膜片弹簧的优化设计 34
 - 经济性分析 38
 - 本章小结 38
 
第六章 总结与展望 39
6.1. 总结 39
6.2. 工作展望 39
参考文献 41
致谢 43
附录A 44
第一章 绪论
课题目的及意义
在汽车传输动力的过程中能够和发动机紧密联系的一个重要机构,其中就包括膜片弹簧离合器,它不仅能够保证汽车在启动的时候平稳起步,并且还能阻止离合器发生过载的现象,它能够保证在变换挡位的过程中顺利进行,因此我们要对膜片弹簧离合器成立设计方案并进行论证。 
    针对过往的的膜片弹簧离合器,它最关键的是通过人们的生活经验做成试样去分析运行,接下来就是对数据进行一系列的修订,然后就继续尝试着运行,如此的反反复复循环下去直到找到满足设计的要求为止就可以结束,当下存在一个事实:目前的汽车工业之间的相互竞争是愈演愈烈,所以对离合器提出了更高的要求,不同的客户也有着不同的需求。
    它能够保证摩擦片压盘所受到的压紧力基本不发生变化,这样就能够让离合器的各方面的特性变得更加优越;膜片弹簧的结构是相对比较简单的,比如分离杠杆装置就是相对比较少的以及其他各部件也是比较少的,当今这个世界我们的加工水平都比较发达,各国之间联系还是比较密切的,膜片弹簧的应用也变得相当普遍。
    研究这个课题是具有很大的意义的,因为采用的是比较先进的技术,并且对膜片弹簧离合器做了不断的优化,这也是一个核心的步骤,所以该论文在内容上对未来的膜片弹簧具有一定的作用。

以上是毕业论文大纲或资料介绍,该课题完整毕业论文、开题报告、任务书、程序设计、图纸设计等资料请添加微信获取,微信号:bysjorg。
相关图片展示:








        
            
