高级轿车悬架设计毕业论文
2020-04-10 16:40:29
Double wishbone independent suspension design
Abstract
The suspension is one of the modern automobile assembly, frame and the axle flexible connection up. Its primary function is to pass the role of force and torque between the wheels and the frame to ease the load of the road to pass the impact of the frame, the attenuation caused by the vibration of the bearing system ensure riding comfort.
Based on the population parameters of the intermediate car, I designed front suspension system. The design uses a double wishbone suspension, and tests four years of college learning outcomes. Specification includes double wishbone suspension introduced, the main parameters determining the damper selection and calculation of the elastic element in the form of selection and calculation guide mechanism design, design calculations stabilizer bar, and use MATLAB to major parts calculation checked.
CATIA modeling of computer-aided design (parts and assembly drawings), computer-aided design CAD drawing (drawing) equivalent to 2.5 A0 drawings, translate foreign data copy editing a manual included in the design.
Key words: double wishbone suspension,guide mechanism,absorber,absorber springs,stabilizer bar
Abstract 1
1. Introduction 1
1.1. Background and Research Significance 1
1.2. Research purpose and main content 2
1.3. Double wishbone independent suspension 2
1.3.1. Features of double wishbone independent suspension 2
1.3.2.Applicable models 3
2. Determination of the overall layout of the suspension and the main parameters 4
2.1. Overall layout of the suspension 4
2.2. Suspension main parameters 4
2.2.1. Suspension Static Deflection 4
2.2.2. Suspension stiffness 5
2.2.3. Suspension Dynamic Deflection 5
3. Design of suspension guide mechanism 6
3.1. Design requirements for guides 6
3.2. Arrangement parameters of the guide mechanism 6
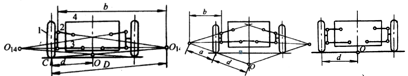
3.2.1. Roll Center 6
3.2.2. The trim center 8
3.2.4. Arrangement of Upper and Lower Cross-arms in the Longitudinal Plane 8
3.2.5. Arrangement of upper and lower cross-arms in the transverse plane 10
3.2.6. Plan for arranging the swing axes of the upper and lower horizontal arms in the horizontal plane. 10
3.2.7. Determination of upper and lower cross arm lengths 12
3.2.8. Preliminary Selection of Front Wheel Positioning Parameters 13
4. Calculation of elastic elements 14
4.1. Selection of Helical Spring Materials 14
4.2. Stiffness of Helical Spring 14
4.3. Calculate the diameter of the spring 15
4.4. Spring Check 16
5. Selection of structural types and main parameters of shock absorbers 18
5.1. Classification of shock absorbers 18
5.2. Working principle of double-tube hydraulic shock absorber 19
5.3. Design and Calculation of Shock Absorber Parameters 22
5.3.1. Relative Damping Factor Design 22
5.3.2. Selection of shock absorber damping coefficient 23
5.3.3. Determination of the maximum unloading force of the shock absorber 23
5.3.4. Diameter Design of Shock Absorber Working Cylinder 24
6. Lateral stabilizer bar design calculation 27
6.1. The role of the stabilizer bar 27
7. Simulation design of guide mechanism 30
7.1. Simulation Design and Analysis 30
7.1.1. Toe Angle 31
7.1.2. Camber Angle 31
7.13.Kingpin Inclination Angle 32
7.1.4. Caster Angle 32
8. Suspension 3D model design 33
in conclusion 35
acknwledgementn 36
1. Introduction
1.1. Background and Research Significance
Suspension is one of the most important assemblies on modern cars. It elastically connects the frame (or body) with the wheels. Suspension needs to transfer all forces and moments acting between the wheel and the body, mitigate the impact load transmitted to the body by the road surface, attenuate the vibration of the bearing system caused thereby, and enable the car to obtain high-speed driving ability and ideal sports characteristics. Suspension is of great significance to the vehicle.
Since the invention of the car, engineers have been studying how to design the car's suspension system better. The original car suspension system was the use of a wagon's elastic steel plate, and the effect was certainly not good. In 1908, coil springs began to be used in cars. At that time, there were two very different opinions. In the 1930s and 1940s, the independent suspension began to appear and was greatly developed. Shock absorbers have also evolved from early friction to hydraulic. These improvements have undoubtedly improved the performance of the suspension, but no matter how improved, the suspension at this time still belongs to the passive suspension, which still has a lot of limitations in many aspects. Because the passive suspension has fixed suspension stiffness and damping coefficient, it can only meet the contradiction between smoothness and handling stability in the structural design, and cannot achieve the ideal state of suspension control.
Since the 50s and 60s, the concept of active suspension has been produced. It can use electronically controlled hydraulic components to actively control the vibration of the vehicle based on the acceleration of the suspension mass. In this research, major auto manufacturing companies have spared no effort. A typical example was the early development of a hydraulic-air suspension system by Citroën in 1955, which allowed the car to have better driving performance and comfort, but its manufacturing process was too complex and ultimately difficult to popularize. By the 1990s, Nissan applied a new active suspension on the Infiniti Q45 sedan, further enhancing the car's ability to adapt to rough terrain.
The semi-active suspension is similar to the active suspension in that the semi-active suspension uses an adjustable stiffness elastic element or an adjustable damping shock absorber instead of the active suspension force generator. The semi-active suspension has the advantages of simple structure, low cost, no need of energy consumption, and the effect of vibration control can reach the active suspension to a certain extent, far better than the passive suspension, and thus is increasingly affected by The attention of the industry has been rapid development.
1.2. Research purpose and main content
This design redesigns the front independent suspension according to the requirements of the overall scheme for a medium-sized sedan. The double wishbone independent suspension is used. In this design, the design calculation and verification of the key components in the suspension, the selection of the shock absorber, and the simulation of the guide mechanism are required. In addition, the design also includes the drawing of two-dimensional part drawings, assembly drawings, and three-dimensional assembly drawings of parts of the suspension system. This design comes from the actual production. Therefore, the design method and results have a certain guiding role in the actual production.
1.3. Double wishbone independent suspension
Double-wishbone suspension and double-wishbone suspension have many common features, but the structure is simpler than the double-wishbone type. It can also be called a simplified version of double-wishbone suspension. Double wishbone suspension is also called double A arm independent suspension. The double wishbone suspension has upper and lower two fork arms. Lateral force is absorbed by two fork arms at the same time. The pillar only carries body weight, so the lateral rigidity is large. The two upper and lower A-shaped fork arms of the double wishbone suspension can accurately locate various parameters of the front wheel. When the front wheel turns, the upper and lower two fork arms can absorb the transverse force applied to the tire at the same time, and the two forks are added. The lateral stiffness of the arm is larger, so the roll of the turn is smaller. Double-wishbone type suspension usually adopts upper and lower unequal fork arms (short upper and lower length), which can automatically change the camber angle when the wheel moves up and down, reduce the track change, reduce the tire wear, and can adapt the road surface. The grounding area of the tire is large and it is well grounded. Double-wishbone suspension sports excellent performance for Ferrari, Maserati and other super sports cars.
1.3.1. Features of double wishbone independent suspension
Advantages: Large lateral rigidity, excellent anti-rolling performance, good grip performance, and clear road feel.
First of all, for the precise control of the positioning parameters, the wheel can be closely attached to the ground, and the strong lateral rigidity provides good lateral support. The superiority of this structure is obvious for the handling performance of the vehicle. It is not only the top choice for Ferraris, Lamborghini and Maserati, but even the hanging structure used in today’s F1 cars can still see the shadow of a double wishbone. The two triangular-shaped rocker arms also have excellent torsional strength and lateral rigidity. Therefore, double-wishbone suspension structures are often used on hard-core SUVs or pickup trucks, and the structure of the front double-wishbone rear-end bridge is also hard-core off-road. The classic structure of the SUV. Like the Grand Cherokee, Toyota Prado and Volkswagen Touareg, etc., the front suspension has used double-arm suspension structure.
以上是毕业论文大纲或资料介绍,该课题完整毕业论文、开题报告、任务书、程序设计、图纸设计等资料请添加微信获取,微信号:bysjorg。
相关图片展示:








        
            
