哈弗H6型SUV变速器设计毕业论文
2020-04-09 14:02:51
摘 要
该设计专为哈弗H6乘用车而设计,考虑乘用车舒适性,操作简便性,动力性能和燃油经济性。在这里的研究中,采用六速机械两轴动力传递方案。作为扭矩传导和车速更替的重要装置,对变速器的设计的门槛越来越高。目前,四档,特别是五档变速器的应用率正在增加,也有很多车采用六档变速器装车。由于传动线路布置限制,前置后驱车传动结构使用两轴式。本次论文使用锁环同步换档设备档位变换更快速、精准。其中利用惯性原理设计的同步器装车最为普遍。依据设计方式的不同 ,其种类分为锁销式,滑块式,锁环式,多件式和多锥式。本次设计使用锁环同步器。设计过程包括各零件的参数设计,转动路径的布置,变速器各部件类型选择以及其强度验证。在结构设计中,利用SolidWorks软件执行三维建模和结构分析。
关键词:哈弗H6;两轴六档机械变速器;设计与校核
Abstract
This design aimed at harvard H6 passenger car, the comprehensive consideration of passenger car on ride comfort, ease operation, power performance and fuel economy requirements, in sixth gear mechanical transmission design. As an important device for transmitting power and changing speed, the transmission speed of transmission is higher and higher in foreign countries. Now especially for 4 5 gear transmission has a growing trend of application of at the same time, 6 block transmission of the loading rate is rising with two shaft type transmission structure, adopts the lock ring synchronizer shifting mechanism at the same time, makes the shifting more timely, more accurate, more stable. There are many kinds of synchronizers, which are generally divided into normal pressure, inertia and inertia force. Among them, inertial synchronizer is the most widely used. According to the structural difference inertia type synchronizer is divided into the lock pin type, the sliding block type, the lock ring type, the multichip type and the multi-cone type several. The lock ring synchronizer is adopted in this design. The design process includes dynamic parameter analysis, transmission ratio distribution, transmission structure design and the check of each component strength. In the structure design, SolidWorks software is used to conduct 3d modeling and structural analysis, and finally the drawing of engineering drawings is completed according to the parameters determined.
Key words:Harvard H6;6 block transmission;design and check
目 录
第1章 绪论 1
1.1 课题研究的背景 1
1.2 世界范围内变速器的发展情况 1
第2章 变速器类型与主要参数的选择 3
2.1设计初始数据 3
2.2 哈弗H6变速器各级传动比的设计 3
2.2.1 主减速比的确定 3
2.2.2 确定一档传动比 4
2.2.3 设计其余各档传动比 5
2.3 初步确定输入轴与输出轴间距大小 6
2.4 确定齿轮的模数,压力角,螺旋角,齿宽,齿顶高系数等参数 7
2.4.1 确定齿轮的模数 7
2.4.2 确定齿轮的压力角 7
2.4.3 确定齿轮的螺旋角β 8
2.4.4 确定齿轮的齿宽b 8
2.4.5 确定齿轮的齿顶高系数 8
2.5 本章小结 8
第3章 各档位齿轮的各参数准确计算及其强度校核 10
3.1 确定一档倒挡直齿轮齿数和其余档位斜齿轮齿数的准确值 10
3.2 齿轮材料的选择原则 17
3.3 输入输出轴的各档位轴段的扭矩设计 18
3.4 齿轮弯曲强度和接触应力的校核 18
3.4.1 弯曲强度的校核 18
3.4.2 轮齿接触应力σj 25
3.5 本章小结 26
第4章 轴的设计与计算及轴承的选择与校核 27
4.1 轴的设计计算 27
4.1.1 两根轴加工工艺的区别 27
4.1.2 大概确定两根轴的直径 27
4.1.3 三根轴的强度计算 27
4.2 轴承的选择及校核 31
4.2.1 输入轴的轴承选取与研究 31
4.2.2 输出轴的轴承选择与校核 33
4.3 本章小结 34
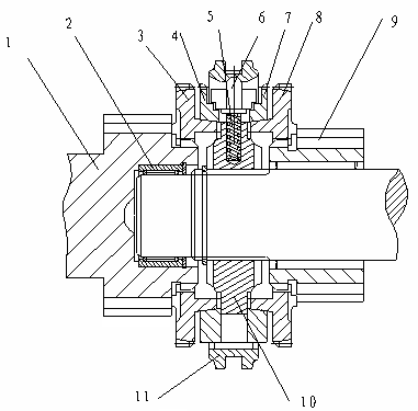
第5章 同步器设计 35
5.1 锁环式同步器结构及其工作原理 35
5.2 主要建模元件--同步环的参数确定 36
第6章 结论 37
参考文献 39
致 谢 40
第1章 绪论
1.1 课题研究的背景
随着中国科技实力和经济实力的不断发展,汽车工业也不断发展。在以中国为首的发展中国家,购买交通工具支出比例正在飞速上涨。轿车不在是高不可及的消费品,越来越快的进入到千家万户。中国汽车工业起步晚,所以我们必须赶上时代发展的步伐,要花大力气去研究它,设计它,使变速器的工作性能可靠,成本降低,使用方便。这就是我们这次研究和设计的主要意义[1]。
1.2 世界范围内变速器的发展情况
随着载具进步,对变速器的设计的门槛越来越高。目前,四档,尤其是五档的应用逐渐增多。本次设计中所采用的六档式变速器在现在的市场上也屡见不鲜。
中国汽车传动市场正处于高速发展时期。零九年,在我国销售出一千三百余万辆汽车,比前一年增长近一半。在汽车领域这片市场上,蛋糕被做的越来越大,中国传动行业也随之如鱼得水。2009年,中国汽车变速箱市场规模达520亿元,年增长率超过20%。在较为基础的手动档方面,国内品牌凭借其与生俱来的优势独占鳌头。但是,生产设计难度较大的自动变速器市场大门依旧主要向外国高技术国家开放。国内汽车企业在未来面临更大的挑战[2]。
虽然传统的手动变速箱(MT)仍占据着霸主地位,但其领先优势已经受到很大打击。眼下的情况是,MT在面临来自于自动变速器等新型变速器的冲击下,其性能,成本和技术进步都受到了从未有过的困难。
变速器的主要作用就是将发动机的转矩等动力,可操控的转移到汽车的运动件中。随着科技水平的不断提高,车主对汽车的性能要求也有所提高,导致自动变速器的需求不同以往,在不断的飙升。销售额约占总销售额的35%[3]。但由于国内还没有完全掌握自动变速器复杂的结构设计,也没能解决高额的成本和困难的零件加工问题,研发技术和生产资源被外国公司垄断。故而,此类产品在国内市场的产出可能性不大,主要由外资企业和合资企业生产,其余依靠进口[4]。
从消费市场的观点来看,由于
油耗低,制造维修价格便宜,设计理念完善,始终占据重要地位。随着经济的发展,新增汽车数量大幅增长,但交通条件落后,行车状况变差。这些致使用户倾向的改变,更多的购买者更倾向自动档。随着节能意识的加强,环保、能耗低变速器已被越来越多的生产商和用户所接受[5]。同时为高级MT和新型的自动变速器提供了机遇[5]。此外,后续的购车者将逐渐拥有更多的私人驾驶体验。消费者关切的变化导致了各种类型的传输模式的发展,以细分市场和多元化市场[6]。
综上所述,手动变速器市场的发展趋势是:股价下跌已成为必然,但由于其成本,燃料消耗以及高端细分市场的增长,年产量绝对值仍将小幅增加,绝对数量仍将保持巨幅[7]。此外,由于国家调控的指导和用户人群的改变,手动变速器将依托新型技术的研究实现更稳定、更节能发展[8]。
从技术角度来看,手动变速器的发展方向大致是:
档位不断增多;整体效率提高;档位更换更流畅、平滑;优良的NVH性能;手动变速器和电子控制系统集成[9]。
手动变速器在我国和其他主要汽车市场的占比减少基本已成定居,然而其依然具有一定的发展前景与空间。手动变速器行业只能说是技术落后,生产过程落后,是日落行业,将被先进的手动变速器和自动变速器取代[10]。
哈弗H6,是一款紧凑型SUV,属于长城汽车公司旗下的一款在售车型。整车车长4600mm,宽1860mm,高1720mm.轴距为2680mm,是一款5门5坐的CUV,供油方式采用直喷式。
全车具有很多黑科技!其前后制动器类型均为通风盘式。前后轮规格为225/65R17。主副驾驶座均也有安全气囊。但没有装配膝部气囊。轮胎设有胎压检测装置。但是不能零胎压继续行驶,这一点就很不人性化了。高配车型配有ABS防抱死系统,制动力分配系统,刹车辅助系统,牵引力控制系统,车身稳定系统,并线辅助。本车还配有非常实用的发动机起停技术,上坡辅助系统,自助泊车系统,陡坡缓降系统,功能可谓是应有尽有。
外观方面,本车采用了非常流行的电动全景天窗,这一点为整车的外观加了不少分!本车还配备了车顶行李架,这对于一款SUV来说非常重要,无论是外出旅行,还是翻山越岭,有了这个行李架之后可以拿更多的东西。因此,要设计一款符合这款车设计理念的变速器。
第2章 变速器类型与主要参数的选择
该设计专为哈弗H6乘用车而设计,考虑乘用车舒适性,操作简便性,动力性能和燃油经济性。在这里的研究中,采用六速机械两轴动力传递方案。作为扭矩传导和车速更替的重要装置,对变速器的设计的门槛越来越高。目前,四档,特别是五档变速器的应用率正在增加,也有很多车采用六档变速器装车。由于传动线路布置限制,前置后驱车传动结构采用两轴式。本次论文使用锁环同步换档设备档位变换更快速、精准。有多种类型的同步器,一般分为常压型,惯性型和惯性力型。其中利用惯性原理设计的同步器装车最为普遍。依据设计方式的不同 ,其种类分为锁销式,滑块式,锁环式,多件式和多锥式。本次设计采用锁环同步器。
2.1设计初始数据

2.2 哈弗H6变速器各级传动比的设计
2.2.1 主减速比的确定
主减速比i0的大小对最终传动的类型,尺寸和质量有很大的影响。在选择主减速比 i0的时候,即在载具的整体设计中,除了传动系统的总传动比(包括变速器,传动单元和助力器以及传动轴等的传动比)之外,一半可以由汽车发动机所能提供的动力参数的计算来确定。正如传动系统的总传动比及其变化范围是设计传动系统部件的重要依据,驱动桥的主减速比i0就是最终传动系统的设计基础。这是设计主减速器时的原始数据。
动力传动系的总传动比(包括主减速比i0)对交通工具的驾驶者的乘车体验和燃油消耗率有着极其重要的意义。内燃机的使用状况也与载具动力传动系的传动比(包括主减速比)有联系。
对于轿车,长途汽车,大型动力储备的长途客车,尤其是赛车,由于发动机功率很大,选择i0的值应确保这些车具有最高可能的最高速度。故,i0值可由这个公式来设计:
                       (2.1)
各参数含义:

由于本次设计的车型为中低端消费水平人群设计,又由于选取发动机功率是要考虑到经济因素,因此通过稍微降低最高速度获得足够的动力储备,一般选择主减速比应比公式(2.1)提升25个百分点。取值范围就变成了以下式子:
             
              (2.2)
其中各参数含义:

将在上文中提到的初始数据代入(2.2)中计算:

求得结果与其他SUV的设计参数对比,再综合各个因素确定齿轮时齿轮能选择的最小齿数为13,综合以上所有条件,最后初选
=6。
2.2.2 确定一档传动比
车辆的一档传动比,为本次设计的最大传动比。
最大传动比的设计主要应该考虑到两个部分的校核
车辆应该满足一定程度的爬坡能力
车辆满足在大多数路面条件下的附着条件
车辆应该满足一定程度的爬坡能力:

               (2.3)
各参数含义:

2.车辆满足在大多数路面条件下的附着条件
                            (2.4)

同种类载具一般使用
。
进行主减速器的传动比校核,哈弗H6发动机的最低稳定转速
则最低稳定车速:

根据汽车理论中参数查找,最低稳定车速应小于许用速度。

所以满足校核要求,设计合理。
2.2.3 设计其余各档传动比
目前,四档,特别是五档变速器的应用率正在增加,也有很多车采用六档变速器装车。本车设计要求与双离合器配合,因此选择偶数作为档位数,四档变速器各档位公比较大,因此初选六挡变速器。根据查阅同类型轿车的最高档传动比,并初算各档传动比,保证不存在直接档的情况,最后初选:

各档位的传动比应满足类似于等比数列,根据上一小节,确定设计为六挡变速器,因此设计应满足以下公式:
                      (2.5)
q的含义:相邻两档位,低档传动比与高档传动比的比值:

其中,一档传动比为3,六档传动比为0.77
所以二,三,四,五挡传动比应为:
,
,
,
其中,汽车采用一档起步后迅速进入二档,因此相邻两档位比可以较大,而在市区中车速较慢,三档更为常用,因此将三档附近公比尽量接近于1,保证传动比变化更小以适用于更多路况。
2.3 初步确定输入轴与输出轴间距大小
输入轴与输出轴间距大小又称中心距,中心局的确定为后续齿轮参数的计算提供原始数据。由于哈弗H6为前置前驱型乘用车,中心距不宜选择过大,否则会影响车子的轴距,进而影响车子的动态特性,也不宜选择过小,因为中心距等于两齿轮是齿数之和与模数的乘积,根据齿轮设计规则,要保证齿轮齿数不小于13:可以求出最小中心距。查阅期刊资料,发动机前置前驱的乘用车其变速器中心距可根据经验公式初步计算得出。
计算公式:
                             (2.6)
    
以上是毕业论文大纲或资料介绍,该课题完整毕业论文、开题报告、任务书、程序设计、图纸设计等资料请添加微信获取,微信号:bysjorg。
相关图片展示:







        
            
