乘用车麦弗逊悬架系统设计及其运动特性分析软件开发毕业论文
2021-11-28 21:25:49
论文总字数:46845字
摘 要
为了研究麦弗逊悬架的设计方法及其运动学特性,本文以奥迪A3 2019款1.4T进取型这款车为研究对象,开展对其麦弗逊前悬架系统的设计与运动学仿真研究工作。根据车轮定位参数的要求以及悬架的总体布置,对悬架的主要结构部件如转向节、减振器、螺旋弹簧、下控制臂和横向稳定杆等零部件进行了布置、设计计算和强度校核工作。使用CATIA三维建模软件对麦弗逊悬架进行了建模,并用ADAMS/Car对悬架的运动学特性进行了仿真,针对车轮定位参数的变化特性做出了解释,并对变化异常的前束角使用ADAMS/Insight进行了优化试验,找到了影响前束角变化的关键部件:转向横拉杆,从几何角度分析得出:转向横拉杆的外点可以影响前束角的变化,但转向横拉杆的长度才是真正影响前束角变化的关键因素。本文使用python中的tkinter模块建立了具有良好人机交互界面的麦弗逊悬架设计软件,联合ADAMS/Car仿真可以降低麦弗逊悬架的开发周期和成本。
关键词:麦弗逊悬架;运动学仿真;车轮定位参数;硬点优化;悬架开发软件设计
Abstract
For the purpose of studying the design methods and kinematic characteristics of Macpherson suspension, the study takes Audi A3 2019 1.4T as the research object to carry out the design and kinematics simulation of its front Macpherson suspension. According to the requirements of wheel positioning parameters and overall arrangement of the suspension, the main structural components of the suspension such as steering knuckle, damper, spiral spring, lower control arm and transverse stability rod, are arranged, designed, and calculated, the strength check is carried out as well. CATIA is used to model the Macpherson suspension, and the kinematic characteristics of the suspension are simulated and analyzed by ADAMS/Car. This paper explains the change of wheel positioning parameters, and also it takes optimization experiments by ADAMS/Insight to solve the unnormal change of the toe angle, the key component that affects the change of the toe angle is found: the steering bar. From the geometric point of view, the outer point of the steering bar can influence the change of toe angle, but the length of the steering bar is the key factor that affects the change of toe angle. This paper uses the tkinter module in the python to establish a Macpherson suspension design software with a good human-computer interaction interface, and combined with ADAMS/Car simulation can reduce the development cycle and cost of Macpherson suspension.
Key Words:Macpherson suspension;kinematic simulation;wheel positioning parameters;
hard point optimization;computer aided suspension design software
目录
第1章 绪论 1
1.1 研究背景、目的、及意义 1
1.2 国内外研究现状 2
1.3 研究内容 3
1.4 研究目标 3
第2章 悬架类型的选取 4
2.1 选型考虑 4
2.2 对悬架类型的要求 4
2.3 适用于前悬的悬架类型 4
2.4 综合考虑确定悬架选型 6
第3章 麦弗逊式悬架系统设计 7
3.1 悬架设计的一般流程 7
3.2 设计对象及基础参数选取 8
3.2.1 设计对象 8
3.2.2 基础参数选取 8
3.3 悬架构件的布局 9
3.3.1 悬架构件布局考虑 9
3.3.2 车轮定位参数对悬架性能的影响 9
3.4 悬架弹性构件的设计计算 10
3.4.1 悬架弹性元件选型 10
3.4.2 单刚度法估算悬架刚度 11
3.4.3 弹簧结构参数选取与设计 11
3.5 麦弗逊悬架的侧倾特性 14
3.5.1 悬架的侧倾中心 14
3.5.2 虚位移原理确定麦弗逊式独立悬架的侧倾角刚度 14
3.5.3 侧倾角刚度分配及侧倾角大小 15
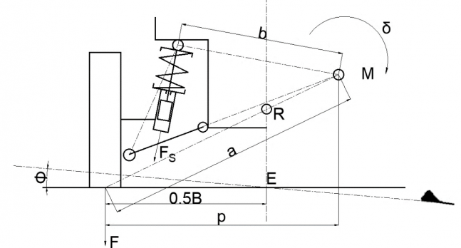
3.5.4 横向稳定杆设计 16
3.6 减振器主要性能参数的选择 17
3.6.1 相对阻尼系数的选择 17
3.6.2 虚位移原理确定减振器阻尼系数 17
3.6.3 最大卸荷力F0的确定 18
3.6.4 减振器主要结构尺寸参数选取 19
3.7 其他悬架构件的设计计算 19
3.7.1 球头销 19
3.7.2 减振器支座 19
3.7.3 悬架隔振元件 20
3.7.4 转向节 20
3.7.5 下横臂的设计计算 20
3.8 悬架受力分析及强度校核 21
3.8.1 受力分析 21
3.8.2 强度校核 21
第4章 ADAMS悬架运动学仿真 23
4.1 运动学仿真模型的建立 23
4.1.1 建模的一般步骤 23
4.1.2 悬架运动学特性仿真设置 24
4.2 运动学仿真曲线分析 24
4.2.1 车轮外倾角 24
4.2.2 主销后倾角 25
4.2.3 主销内倾角 25
4.2.4 前束角 26
4.3 结构参数优化分析 26
第5章 麦弗逊悬架设计软件 30
5.1 软件设计的基本要求 30
5.2 悬架系统设计功能的实现 30
5.2.1 选取计算机语言 30
5.2.2 实现步骤 30
第6章 总结与展望 32
6.1 结论 32
6.2 展望 32
参考文献 34
附录A 35
致谢 48
第1章 绪论
1.1 研究背景、目的、及意义
进入21世纪,中国的汽车工业搭上了经济全球化的高速列车,呈现迅猛发展的态势,中国自然是各大汽车厂商不愿意放弃的市场,一时间大量合资品牌和自主品牌开始涌向中国市场,国内汽车市场机遇与风险并存。
悬架系统是汽车不可或缺的系统之一,主要承担着连接车身(或车架)与车轮(或车桥),并且传递两者之间一切作用力和力矩的重要功能[1]。匹配良好的悬架系统不仅能够缓冲来自路面的不平激励从而保证驾驶的舒适性操稳性,还能减弱这种冲击振动从而不会影响到货物(如易碎品和精密仪器)的安全运输,此外,合适的悬架系统还会给车主带来车辆品质优异的主观感受,这对于汽车品牌文化和品牌口碑的提升都有积极的影响,可以提高相关车型细分市场的吸引力和竞争力[2]。
麦弗逊悬架以其紧凑简单的结构、更加轻巧的质量、较低的成本和较高的技术成熟度,使得各大厂商更倾向于给汽车配备麦弗逊悬架,从六七万的本田飞度小车到几百万的保时捷超级轿跑,都有麦弗逊悬架的身影。虽在侧倾刚度上稍显不足,但可通过设置横向稳定杆来解决。结合三维建模软件CATIA和运动学特性仿真分析软件ADAMS,可以在悬架开发项目初期,就可以对悬架的运动特性进行仿真,对不合理的参数进行修改,联合设计不仅可以缩短项目的开发周期,而且,根据项目进展与改动成本之间的关系,项目进度越往后,改动成本和改动难度越大,联合仿真可以在项目的开发初期就可以找到存在的问题并加以解决,能够为企业节省一大笔用于试制、试验、再试制再试验的开支,这对于国内日益激烈、更新换代快的汽车市场尤为重要。
传统的机械设计过程是设计、校核、对不合理的地方进行再设计、再校核,设计研发工作极其繁复,而且某个参数数据一旦更改,就会导致与之相关联的数据发生更改,零部件之间的干涉、强度校核、优化设计等部分都需要从头再来一遍,这就导致了传统设计方法的低效率。如果能够将传统的设计流程用程序化的语言固化下来编成一个软件,那么当需要进行参数修改时,就可以直接输入修改的值,软件对其他数据进行联动的修改,就避免了巨大的设计计算工作量,而且在进行迭代设计时也能更为快捷地找到参数优化的方向。当前,民众的改装需求日益上升,改装必然会带来整车技术参数的改变,如果软件内置了原车厂悬架系统的标准化设计流程,就能够让车主和改装车享受到原厂设计师的卓越设计品质,而这一服务依靠设计良好的悬架设计软件就可以实现。
1.2 国内外研究现状
从2003年至今,悬架系统经历了由被动悬架研究转向半主动、主动悬架研究。2003年毛金明就明确指出了传统设计方法耗财耗力耗时的缺点,再加上目前汽车市场的激烈竞争情况,为我此次采用计算机辅助设计提供了强有力的支撑[3];毛金明、玄圣夷、邵昭晖和徐成荫等人对麦弗逊悬架系统的设计流程给出了详细的参考意见[3-6],为此次麦弗逊悬架系统的参数设计工作提供了设计思路;汪文龙、于海峰、王卡和雷刚等人,从操纵稳定性的角度对麦弗逊悬架系统进行了设计,对车轮定位参数、质心高度和前后位置、前悬刚度、整车载荷、前后轮侧偏刚度等影响操控稳定性的参数进行了仿真优化[7-10],给本次悬架系统设计工作提供了从操控稳定性方面对悬架设计进行优化设计的参考;梁建伟就国内生搬硬套别人的悬架系统造成轮胎异常磨损的现象进行了抨击[11],这也为本次悬架设计工作敲响了警钟,不能生搬硬套别人的模板或者参考书籍上的设计流程,否则设计的悬架可能会导致零件的寿命降低;此外,汪文龙还就麦弗逊式前悬架的运动学仿真给出了可参考的仿真分析模板和参考流程以及可用于悬架系统运动学仿真的软件ADAMS[7],大大减少了此次设计中对仿真分析软件进行摸索的时间;玄圣夷提出的专家系统是本次麦弗逊悬架开发软件的进阶,专家系统能够按照设计专家的思考方式对悬架设计过程中存在的问题进行处理修正[4],而此次设计的悬架开发软件也仅仅是停留在将传统的设计流程程序化,只能为悬架设计开发提供参考,不能解决实际设计过程中存在的问题,这篇文章虽对本次的悬架软件开发提供的参考意义不大,但这为以后更加深入的研究悬架系统开发软件指明了一个方向。
2014年过后,半主动悬架和主动悬架的研究渐多。柯欢欢基于主动悬架对车辆的姿态控制进行了研究,从单轮控制到半车控制最后到整车的姿态控制[12],给本设计提供了由易到难的研究思路。柯欢欢、刘畅、陈月霞等人多将控制策略作为研究的重点[12-14],这为以后开发麦弗逊式主动悬架提供了依据。
请支付后下载全文,论文总字数:46845字
相关图片展示:







