大型客车多刚体模型建模及行驶平顺性虚拟分析毕业论文
2020-05-28 06:58:44
摘 要
汽车的平顺性是一辆汽车性能优秀与否的重要指标,故而在车辆的设计过程中,相关平顺性的数据设计也显得尤为重要。但是脱离了实际实验的设计效果不佳,大量的反复实验又耗费颇巨,若使用电子计算机技术进行仿真模拟来推进设计流程无疑是非常优秀的方法。本文在符合多体系统动力学的前提下,使用了pro-e软件对大型客车进行了三维几何建模,其中包括了车体、车轴和车轮等部分。同时,根据所需要模拟的路面,依据刚体与变形路面的相关理论,建立了符合要求路面激励输入机制。最后,使用了WK(WORKINGMODEL)软件结合了二者,进行了仿真分析。根据所得到的数据,发现针对我们所测试的模型来说,高行驶速度及路面的不平度都会直接使汽车的平顺性恶化,而悬架刚度需要依据具体参考的情况进行选择。并且,虚拟仿真发挥了良好的作用。
关键词:三维建模;平顺性;整车仿真;WK;多体系统动力学
Abstract
The ride comfort is an important indicator to judge a car’s quality. Therefore, when we design a car, the data about ride comfort will be important. But without real test, our design would be meaningless, and if we test too much, it will spend a lot of money. So, it is great for us to use computer to simulate the car’s operational state .This paper based on Multi-body Dynamics to do 3D modeling for bus with Pro/E. It includes Body, axles and wheels. At the same time, according to the rode condition we need to simulate and refer to the mechanics theory to set the system. Finally, we use WORKINGMODEL to combine them and do the vehicle simulation. Under the data we get,we can find in our model, high speed and a rough road would make the ride comfort worse. But we should be cautious of suspension stiffness and we choose it depends on specific situation. At last, vehicle simulation shows its great in my research.
Key Words: 3D modeling; ride comfort; vehicle simulation; WORKINGMODEL; Multi-body Dynamics
目录
摘 要 I
Abstract II
第一章 引言 1
1.1车辆多刚体模型建模及动态仿真技术国内外现状 1
1.2 车辆多刚体模型建模及动态仿真技术的目的和意义 2
1.3 研究思路和技术方法 2
第二章 车辆多刚体模型建模及动态仿真技术概述 3
2.1 车辆多刚体模型建模及动态仿真理论基础 3
2.1.1 建立动力学方程 3
2.1.2 非完整系统动力学 4
2.1.3 多体系统动力学方法 4
2.2基于计算机的车辆动力学仿真研究 5
2.2.1车辆动力学仿真研究软件 5
2.2.2 WM (MORKINGMODEL)动力学仿真软件 6
2.3几何模型建摸 10
2.3.1刚体几何模型建摸 10
2.3.1可变形物体几何模型建摸 11
2.4动力学模型建摸 12
2.4.1刚体动力学模型 12
2.4.2拉压变形物体动力学模型建摸 12
2.4.3弯扭变形物体动力学模型建摸 14
第三章 车辆多刚体模型建模 16
3.1车辆性能结构描述 16
3.1.1 车辆性能描述 16
3.1.2车辆结构描述 17
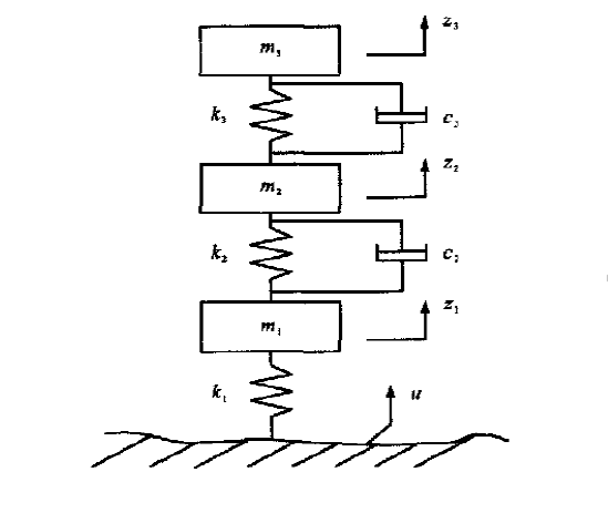
3.1.3车辆多刚体模型描述 18
3.2车体几何模型建模 20
3.3车轴几何模型建模 20
3.4车轮多刚体模型建模 21
3.4.1车轮几何模型建模 21
3.4.2车轮动力学模型建模 22
3.4.3车轮动力学模型参数确定 25
3.5 车辆多刚体动力学模型建模 27
3.5.1车辆多刚体动力学模型 28
3.5.2 车辆多刚体动力学模型参数确定 30
第四章 路面模型建模 33
4.1 刚体路面模型 33
4.2 变形路面模型 34
第五章 车辆平顺性虚拟分析 36
5.1 车辆行驶平顺性 36
5.2 车辆平顺性理论、试验分折研究 37
5.3 车辆平顺性虚拟分析 38
5.3.1工况Ⅰ时车辆平顺性仿真模拟 39
5.3.2 工况Ⅱ时车辆平顺性仿真模拟 40
5.3.3 工况Ⅲ时车辆平顺性仿真模拟 42
5.3.4 工况Ⅳ车辆平顺性仿真模拟 44
5.3.5 工况Ⅴ车辆平顺性仿真模拟 45
5.3.6 工况Ⅵ车辆平顺性仿真模拟 47
5.4 模拟结果分析 48
第六章 结语 49
参考文献 50
致谢 52
第一章 引言
随着计算机技术的高速发展,借助计算机来处理一些复杂机械系统的动力学问题己日益成为可能。特别是今天人们在计算机软、硬件技术所取得的成就, 不仅使之成为可能, 且变得易于操作。复杂机械系统的动力学问题解决不再是完全依赖专家、教授, 普通工程技术人员经过培训也能很好地应对。
作为三大典型复杂机械系统之一的车辆系统, 正是得益于此实现了"开得更快,行得更稳"。
1.1车辆多刚体模型建模及动态仿真技术国内外现状
早在上个世纪,以德国,美国为首的国家就已经开始了汽车仿真模拟技术的研究。
奔驰、福特及国外各大高校的研究者所使用的研究方法主要有集中质量法、有限元法以及模态分析法。集中质量法指的是将车体分割成多个刚体进行研究,模型简单所以模拟速度快,耗费少,应用广泛。有限元法为将车分割为有限个单元,由于分割的单元数量多,会更贴近汽车的真实情况,但是模型相对来说复杂,计算耗时长。模态分析法则是对实车进行动态测试,获得全面的系统的特性和模块化的数学模型,这种方法主要用于产品的改进,但是不可能在产品设计阶段运用。1989年至1990年,来自于德国斯图加特大学的Schiechlen教授主持编纂了《多体系统手册》,改书籍囊括了当时世界上十七个顶级研究团队的工作成果,其中应用的软件包括:MEDYNA、DISCOS、ADAMS等等。
我国对于相关技术的研究起步较晚,但出于对汽车性能越来越高的需求,大量研究所、高校的研究人员投入了大量精力研究相关课题,取得了不少研究成果。不少成果已经应用到产品的开发生产当中去,对我国的汽车生产品质改进起到了重要的作用。
相关图片展示:









