11.4 15.825 13.4m钢筋混凝土连续人行天桥施工图设计毕业论文
2020-02-17 00:44:55
摘 要
随着改革开放的发展和我国经济水平的快速提高,我国城市的车流量与人流量迅猛增长,结果导致城市中许多交通繁重路段易发生拥堵,作为目前能够有效解决道路拥堵问题的人行天桥也是应运而生。人行天桥不仅能够实现交通繁忙路段人车分离,方便且保护行人,还能够一定程度上减少因时间等待造成环境污染以及其他方面附带的经济成本,提高了人们出行效率,缓解了交通压力。因此人行天桥的建造在城市中是必要的也是必须的。本次设计以大冶市中心市场人行天桥为工程背景,进行桥跨为11.4 15.825 13.4m三跨钢筋混凝土连续梁桥的施工图设计,同时对人行天桥主梁、梯道梁、墩柱、桩基等各结构进行拟定,设计和计算,最后利用Midas有限元分析软件建立简化模型对结构的内力,强度等进行验算。
关键词:人行天桥;连续梁桥;钢筋混凝土结构
Abstract
With the development of reform and opening up and the rapid improvement of China's economic level, China's urban traffic flow and the rapid growth of human flow, resulting in a lot of heavy traffic sections in the city prone to congestion, as an effective solution to the problem of road congestion pedestrian bridge also came into being. Footbridge can not only realize the separation of people and vehicles on busy roads, which is convenient and can protect pedestrians, but also reduce the environmental pollution caused by waiting time and other economic costs to some extent, improve people's travel efficiency and alleviate traffic pressure. Therefore, the construction of footbridge is necessary and necessary in the city. This design in daye county center pedestrian bridge as the engineering background, the market for bridge span 11.4 15.825 13.4 m three span reinforced concrete continuous girder bridge construction drawing design, at the same time of pedestrian bridge girders, ladder beam, pier column, pile foundation and so on various structure were proposed, design and calculation, finally the simplified model was established based on finite element analysis software Midas internal force of structure, strength and checking.
Key Words:Pedestrian overpass; Continuous girder bridge; Reinforced concrete structure
目 录
第1章 绪论 1
1.1 人行天桥的研究状况 1
1.2 选题设计思想及意义 1
第2章 设计基础资料 2
2.1设计背景 2
2.2气象条件 2
2.3地质条件 2
第3章 桥型方案比选 3
3.1 比选原则 3
3.2 设计方案 3
3.3 方案比选 3
3.4方案选定 4
第4章 桥跨结构布置 7
4.1方案拟定 7
4.2 技术标准与设计规范 7
4.3 技术指标 7
4.4 主要材料 7
4.4.1 混凝土 7
4.4.2钢材 7
4.4.3其他材料 8
4.5 结构尺寸 8
4.5.1 本次人行天桥设计跨径的布置 8
4.5.2 梁高的尺寸确定 8
4.5.3 截面类型的选择和确定 8
4.5.4 梁截面细部尺寸的选择 8
4.5.5梁截面 9
4.5.6 施工方法 9
第5章 Midas civil建模过程 11
5.1建模过程 11
5.1.1定义截面 11
5.1.2定义材料 16
5.1.3建立结构三维模型 17
5.1.4定义时间依存材料 18
5.1.5添加静力荷载 20
5.1.6添加移动荷载 23
5.1.7定义边界条件 25
5.1.8定义组 26
5.1.9 定义施工阶段 31
5.2 定义并运行RC设计 34
5.2.1定义设计参数、材料 34
5.2.2定义设计截面钢筋 36
5.2.3定义设计截面位置 38
5.2.4定义RC设计计算书输出内容 38
5.2.5运行RC设计梁设计 40
5.3 建模过程遇到的问题 40
第六章 结构内力计算 41
6.1 一期自重作用下的内力计算 41
6.2 二期恒载作用下的内力计算 43
6.3 移动荷载作用下的内力计算 46
6.3 支座位移作用下的内力计算 51
6.4 温度梯度作用下的内力计算 54
第七章 截面验算 57
7.1 内力组合 57
7.1.1 正常使用极限状态短期效应组合 57
7.1.2 正常使用极限状态长期效应组合 57
7.1.3 承载力极限状态基本组合 58
7.2 施工阶段钢筋混凝土混凝土构件应力验算 58
7.3持久状况钢筋混凝土构件承载能力验算 60
7.3.1正截面抗弯验算 60
7.3.2斜截面抗剪验算 60
7.3.3抗扭验算 61
7.4 挠度验算 62
第8章 梯道梁计算 63
8.1设计荷载 63
8.2 荷载组合 63
8.3 荷载作用下内力计算 63
8.3.1 人行梯道模型图 63
8.3.2人行梯道应力 64
第9章 下部结构验算 68
9.1 下部结构概述 68
9.2 主墩截面验算 68
9.2.1承载能力极限状态验算 68
9.2.2正常使用极限状态验算 69
9.2.3墩身抗压承载能力验算 69
9.3 桩基础验算 70
参考文献 73
致谢 74
第1章 绪论
1.1 人行天桥的研究状况
人行天桥(又名过街天桥,人行立交桥)是目前城市基础交通设施建设中的重要组成部分,多建于一些车流量大,行人稠密的地方,亦或是建在交叉口、铁路及广场上面。不仅可以满足人车分流、避免车流与人流平面相交时的冲突,供路人安全通过街道,保障行人这一交通参与者中的最弱者的安全,还能方便建筑物之间的联系,从而起到减慢车速,减少交通事故发生和缓解城市交通压力的作用。
在我国,城市人行天桥始于二十世纪八十年代初,起步较西方国家晚,另外因为各地城市的发展状况不一样,人行天桥的发展状况也会有所不同,部分小城市由于交通量不大现在也并无人行天桥。刚开始时其多为钢筋混凝土梁柱结构以满足行人过街的需求。在80年代后期, 国内曾经展开过关于天桥与地道建设优缺点比较的大讨论。由于当时的人行天桥大多讲求实用性, 忽略美观性, 普遍存在影响市容等原因, 天桥建设一度销声匿迹, 取而代之的是大量人行地道的实施。实践经验表明, 人行地道本身受地下管线、地下水位的影响,有些地方并不适合。后来,随着我国基础设施的不断完善以及交通事业的发展,各式各样的人行天桥也随之出现。时至今日,人行天桥的作用不之于其原始的功能即联系以及跨越,人行天桥的设计逐渐与城市自然与历史条件的相结合,相协调,为设计出更具有内涵和特色的人行天桥。
1.2 选题设计思想及意义
以四年的专业知识的学习与实践为基础,进一步对所学的专业知识与技能深化认知,巩固和应用性训练,以提高解决实际工程问题的能力。同时进一步深入学习桥梁的相关设计规范,熟悉桥梁设计的主要内容和基本步骤。本次对一座三跨钢筋混凝土连续梁人行天桥进行结构设计,对主梁、梯道梁、墩柱、桩基等主要上下部结构进行设计、计算及验算,具备必要的结构手算能力,同时掌握结构电算设计技能。本次设计使用Midas软件建立简化的计算模型,掌握设计基本步骤,根据桥梁的实际施工过程和施工方案划分施工阶段,按照相应规范对荷载效应进行组合,对其结构强度、裂缝、应力进行分析,按规范中所规定的各项容许指标,验算上、下部结构的强度与稳定性,验算基础的承载力。能对电算的结果的正确与否做出判断,学会电算与手算相结合,对电算结果进行必要的复核,优化。同时掌握施工图纸的绘制标准和施工图设计的深度要求,完成桥梁结构和钢筋的构造图。
第2章 设计基础资料
2.1设计背景
大冶市随着经济的快速发展,汽车数量急剧增长,导致交通拥堵问题极易发生,为了解决这一系列的问题,政府拟在此地建设一座人行天桥以缓和交通压力,减少车流和人流的互相干扰,改善路口的交通拥堵情况,保障行人安全的穿越以及减少交通事故的发生,该人行天桥设置与设计的正确或否将直接影响到整个城市交通的安全性和畅通性。
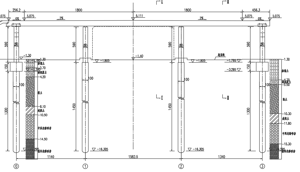
本次设计为大冶市中某钢筋混凝土结构人行天桥,拟采用11.4 15.625 13.4m=40.625m三跨结构,为等高度钢筋混凝土箱型截面连续梁桥,梁高0.9m,梁宽4.0m,主梁及梯道梁均采用满堂支架法进行施工。
对钢筋混凝土结构人行天桥主梁、梯道梁、墩柱、桩基等各结构进行设计计算,并利用Midas建立简化有限元模型进行验算。
2.2气象条件
大冶市地处中纬度,太阳辐射季节性差别大,远离海洋,陆面多为矿山群,春夏季下垫面粗糙且增湿快,对流强,加之受东亚季风环流影响,其气候特征冬冷夏热、四季分明,光照充足,热能丰富,雨量充沛,为典型的亚热带东亚大陆性气候。大冶年平均气温17℃,最热月(7月)平均29.2℃,最冷月(1月)平均3.9℃。无霜期年平均264天,年平均降水量1382.6毫米,年平均降雨日132天左右,全年日照1666.4-2280.9小时,占全年月日可照射时数的31℅-63℅。境内多东南风,年平均风速为每秒2.17米。全境气候温和、湿润,冬寒期短,水热条件优越。
2.3地质条件
根据勘测资料,场地内有杂填土,淤泥质土、粘土、残积土,中风化粉砂岩及弱风粉砂岩等地质层。其中,粘土层可作扩大基础持力层。弱风化灰岩承载力1500KPa,可作桩基的持力层。
第3章 桥型方案比选
3.1 比选原则
比选原则包括以下四点:安全性、功能性、经济性、美观性。其中安全性和经济性最为重要,美观性应结合当地的环境与地形条件决定。
1.安全性
桥梁设计时充分考虑将天桥的竖向以及横向振幅要在一定范围内,从而保证行人行走时尽量平稳舒适,同时需要保证桥梁的构造材料在整个包括制作,安装,使用,维护过程中的耐用性,还要保证桥梁结构在整个过程中具有足够的强度,刚度及稳定性。
2.功能性
桥下空间应保证由足够的净高使得车辆安全通过,同时桥身应保证足够的使用年限。
3.经济性
在经济能力有所要求的情况下,尽量选择性价比最高的方案,保证经济性在比选原则中居于首位。
4.美观性
桥梁外形的设计要求满足造型简洁,线条简单,具有优美的轮廓和合理的布局,保证桥梁与周围景观相协调。
3.2 设计方案
方案一:11.4m 15.825m 13.4m全长40.625m三跨钢筋混凝土连续梁桥
方案二:11.4m 15.825m 13.4m全长40.625m三跨连续刚构桥
方案三:全长40.625m连续钢桁梁桥
3.3 方案比选
表3.1 方案比选表
桥型方案 | 方案一:钢筋混凝土连续梁桥 | 方案二:连续钢构桥 | 方案三:钢桁梁桥 |
跨径 | 11.4m 15.825m 13.4m | 11.4m 15.825m 13.4m | 40.625m |
适用性能 | 可以降低梁高,减少工程数量,可以争取桥下净空,易保养维护 | 桥面没有较多的伸缩缝桥下由较大净空,后期维修费用低 | 制造运输及拼装方便 |
受力性能 | 内力分布较为合理,对活载产生的动力影响较小。 | 主墩无支座,静定结构基本不产生次内力 | 传力路径简单明确 |
经济性 | 取材较为方便,较为经济 | 节省材料,较经济 | 节省材料,较经济 |
美观性 | 构造简单,造型轻巧、平整、线路流畅 | 构造简单,主要由直线形态构成,线形简洁流畅,梁墩一体化,具有现代感 | 骨架清晰,层次分明,造型较为平整 |
安全性 | 结构整体性强,抗弯、抗扭刚度大,适应性强,具有较强的强度,抗裂稳定性 | 纵向具有较大的抗弯刚度,横向具有较大的抗扭刚度,墩的抗击能力较为差劲 | 刚度大,通透性好 |
方案一:三跨钢筋混凝土连续梁桥
钢筋混凝土连续梁桥是人行天桥最早出现的桥型,有着整体性强,抗弯、抗扭刚度大等优点,内力分布较为合理,应力受多种因素影响,有较强的强度,刚度,取材也较为方便,较为经济。
方案二:连续刚构桥
刚构桥是将梁与桥墩刚结成整体而构成的桥型,随着技术的不断发展,现在刚构技术的施工方法愈加成熟,由于是刚构成的整体,所以其整体性较好。然而其整体的施工难度较连续梁桥小。
方案三:钢桁梁桥
钢桁梁桥的主梁是由位于多个平面内的钢桁架连接形成的整体空间结构,来承受荷载作用的空腹式受弯结构。同实腹式梁相比,当跨径较大时,桁架主梁具有刚度大、通透性好、用钢量省、制造运输及拼装方便等有优点。
3.4方案选定
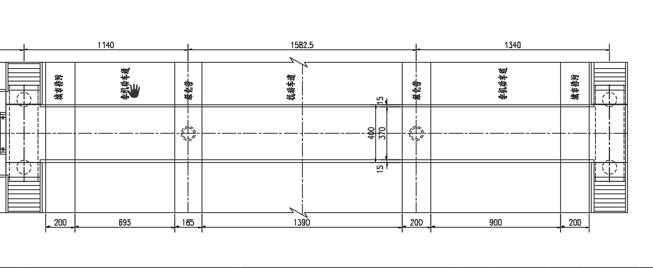
综合对比以上三种方案,选定方案一。桥型布置图见下:

图3.1 桥型布置图

图3.2 主桥立面布置图

图3.3 主桥横断面布置图
第4章 桥跨结构布置
4.1方案拟定
主桥采用三跨钢筋混凝土连续梁,跨径布置为11.4m 15.825m 13.4m,主桥总长40.625m。
4.2 技术标准与设计规范
(1)《公路桥涵设计通用规范》(JTG D60—2015)
(2)《公路钢筋混凝土及预应力混凝土桥涵设计规范》(JTG D62—2012)
(3)《公路桥涵地基与基础设计规范》(JTJ024—85)
(4)《混凝土结构设计规范》(GB50010-2010)
(5)《城市人行天桥与人行地道技术规范》(CJJ69-95)
(6)《公路工程抗震设计规范》(JT004-89)
4.3 技术指标
(1)设计荷载:
人群荷载——5KN/m2。
(2)地震设防烈度7度,地震动峰加速度0.10g。
(3)净空:桥下为机动车道时,最小净高为5m;桥下为非机动车道时,最小净高为3.5m。
(4)坡度:缓梯道坡度1/4。
(5)桥梁纵坡:双向1%。
(6)桥面横坡:双向1%
4.4 主要材料
4.4.1 混凝土
(1)混凝土主梁采用C40混凝土;
(2)桥墩及梯道梁采用C30号混凝土;
以上是毕业论文大纲或资料介绍,该课题完整毕业论文、开题报告、任务书、程序设计、图纸设计等资料请添加微信获取,微信号:bysjorg。
相关图片展示:









