高邮市某科技园职工宿舍楼设计毕业论文
2020-04-17 15:10:43
摘 要
本工程为实际应用课题,地点在江苏高邮市,为高邮市某科技园职工宿舍楼设计。结构为5层钢筋混凝土框架,层高均为3.3 m,建筑面积为3230m2。本工程采用框架结构,此工程框架是不等跨的。
此宿舍楼结构设计分为三个阶段:首先是建筑结构方案阶段、二是结构计算阶段,最后是施工图设计阶段。此次手算部分中的计算书主要内容有工程概况、宿舍构件梁柱板尺寸初步确定、框架的计算简图、荷载计算、框架横向侧移计算、框架风载、竖向荷载作用下的截面设计、内力计算分析和计算、内力组合、楼梯设计及基础设计等。在梁柱截面设计时要采用“强柱弱梁”原则。此次设计中在结构计算时会利用相关软件,如pkpm、结构力学求解器等软件,画图过程主要依靠autocad来完成在设计过程中采用了手算和电算两种方式,对计算结果进行校核,及时发现设计中的错误以及与电算不同的部分。
关键词:毕业设计;宿舍设计;框架结构;内力组合
Design of staff dormitory in a science and technology park in Gaoyou City
Abstract
This project is a practical application topic. It is located in Gaoyou City, Jiangsu Province, and is designed for the staff dormitory of a science and technology park in Gaoyou City. The structure is a 5-layer reinforced concrete frame with a height of 3.3 m and a building area of 3,230 m2. This project adopts a framework structure, and this engineering framework is not equal.
The structural design is mainly divided into three stages: the structural plan stage, the structural calculation stage and the construction drawing design stage. The main contents of the hand calculation part are the engineering overview, the preliminary determination of the component size, the calculation sketch of the frame, the load calculation, the lateral lateral displacement calculation of the frame, the internal force calculation analysis and calculation of the frame under the horizontal wind load and vertical load. , internal force combination, section design, stair design and basic design. The limit state design method is adopted when calculating the horizontal seismic force. The principle of‘strong column weak beam’ should be adopted in the design of beam and column sections.In the structural calculation, relevant software, such as pkpm, structural mechanics solver, etc., will be used. The drawing process mainly relies on autocad to complete the two methods of hand calculation and computer calculation in the design process, check the calculation results and discover in time.
Keywords: graduation design, dormitory design, frame structure, internal force combination
目录
摘 要 I
Abstract II
第一章 工程概况 1
1.1结构选型 1
1.2结构布置 1
1.3毕业设计已知条件 2
1.3.1气象资料 2
1.3.2水文地质资料 2
第二章 计算简图与荷载计算 5
2.1 确定计算简图 5
2.2 梁、柱截面尺寸 5
2.2.1梁 5
2.2.2柱 6
2.2.3板 6
2.3 材料强度等级 6
2.4 荷载计算 7
2.4.1屋面横梁竖向线荷载标准值 7
2.4.2楼面横梁竖向线荷载标准值 8
2.4.2屋面框架节点集中荷载标准值(图2-3) 9
2.4.3楼面框架节点集中荷载标准值(图2-4) 10
2.4.4风荷载 13
2.4.5地震作用 13
第三章 框架内力计算 18
3.1 恒载作用下的框架内力 18
3.1.1弯矩分配系数 18
3.1.2杆件固端弯矩 21
3.1.3节点不平衡弯矩 22
3.1.4内力计算 24
3.2活载作用下的框架内力 28
3.2.1杆件固端弯矩 28
3.2.2节点不平衡弯矩 29
3.2.3内力计算 29
3.3风荷载作用下的内力计算 34
3.4地震作用下横向框架内力计算 39
3.4.1 0.5(雪 活)重力作用下横向框架的内力计算 39
3.4.2地震作用下横向框架内力计算 44
第四章 框架内力组合 48
第五章 框架梁柱截面设计 63
第六章 楼梯结构设计 72
6.1梯段板计算 72
6.1.1荷载计算 72
6.1.2内力计算 72
6.1.3配筋计算 72
6.2休息平台板计算 73
6.2.1荷载计算 73
6.2.2内力计算 73
6.2.3配筋计算 73
6.3梯段梁TL1计算 73
6.3.1荷载计算 73
6.3.2内力计算 74
6.3.3配筋计算 74
6.4梯段梁TL2计算 74
6.4.1荷载计算 74
6.4.2内力计算 74
6.4.3配筋计算 75
第七章 现浇楼面板设计 76
7.1跨中最大弯矩 76
7.2求支座中点最大弯矩 77
7.3 A区格 77
7.3.1求跨内最大弯矩
,
77
7.3.2求支座中点固端弯矩
78
7.4 B区格 78
7.4.1求跨内最大弯矩
,
78
7.4.2求支座中点固端弯矩
79
7.5 C区格 79
7.5.1求跨内最大弯矩
,
79
7.5.2求支座中点固端弯矩
80
7.5 D区格 80
7.5.1求跨内最大弯矩
,
80
7.5.2求支座中点固端弯矩
81
7.6E区格 81
7.6.1求跨内最大弯矩
,
81
7.6.2求支座中点固端弯矩
82
7.7 F区格 82
7.7.1求跨内最大弯矩
,
82
7.7.2求支座中点固端弯矩
83
第八章 基础设计 85
8.1设计资料 85
8.1.1地形 85
8.1.2工程地质条件 85
8.1.3岩土设计技术参数 85
8.1.4水文地质条件 85
8.1.5上部结构资料 85
8.2 荷载计算 88
8.3 桩基设计 88
8.3.1按经验参数法确定单桩竖向承载力极限承载力标准值: 88
8.3.2确定桩数和承台尺寸 88
8.3.3基桩承载力验算,承台计算,桩身计算 89
8.3.4 A轴计算 90
8.3.5桩身结构强度计算及配筋 93
8.3.6桩的主筋计算 93
8.3.7桩的箍筋计算 94
8.3.8 C轴计算 94
8.3.9桩的主筋计算 96
8.3.10桩的箍筋计算 97
第九章 软件分析结果与手算结果比较 98
9.1楼(屋)面恒载 98
9.1.1机算恒载图及内力图 98
9.1.2软件分析结果与手算结果比较 100
9.2活荷载 102
9.2.1机算活载图及内力图 102
9.2.2软件分析结果与手算结果比较 104
9.3地震荷载 107
9.3.1机算地震载图及内力图 107
9.3.2软件分析结果与手算结果比较 108
第一章 工程概况
1.1结构选型
本宿舍楼工程选用混凝土框架结构。
宿舍框架结构是有梁、柱构件通过节点连接而形成的骨架结构,框架结构的特点是由梁、柱承受荷载,墙体一般是起维护的作用,其整体性和抗震性均效果显著,且平面布置灵活,可提供较大的使用空间,也可构成宿舍楼建筑丰富多变的立面设计要求,但随着层数和高度的增加构件的截面面积和钢筋用量也会增多,侧向刚度越来越难以满足设计要求,因此一般不宜用于过高的建筑。
实际工程中,多层与小高层常采用框架结构体系。在我国,由于经济水平及其他条件的限制,混凝土框架结构比钢框架结构应用要广。
本工程为实际应用课题,地点在江苏高邮市,为高邮市某科技园职工宿舍楼设计。结构为5层钢筋混凝土框架,层高均为3.3 m,建筑面积为3230m2。
现浇钢筋混凝土房屋适用的最大高度(m)表1-1
表格 1-1 抗震设防烈度表
结构类型 | 抗震设防烈度 | ||||
6 | 7 | 8(0.2g) | 8(0.3g) | 9 | |
框架 | 60 | 50 | 40 | 35 | 24 |
1.2结构布置
进行宿舍楼混凝土框架结构布置的主要工作是合理地确定此宿舍楼的梁、柱的位置及跨度。其基本原则是:
宿舍楼的结构平面形状和立面体宜简单、规则,使刚度均匀对称,以减小偏心和扭转。
控制结构高宽比,以减少水平荷载作用下的侧移,钢筋混凝土框架结构高宽比限值:6、7度抗震设防为4。
此工程尽量统一柱网及宿舍楼层层层高,这样便于减少构件种类规格,简化梁柱设计和后期的施工。
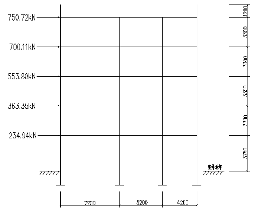
根据毕业设计的任务书,宿舍楼工程标准层柱网布置图为“凹”形。房屋高度为室外地面到主要面板板顶的高度(不包括局部突出屋顶部分)。取室内外高差0.45m,则房屋高度为16.95m,房屋宽度为16.6m,抗震设防烈度7度。柱网尺寸,即平面框架结构的柱距(开间、进深)和层高。柱网布置方式为不等跨式,如图1-1所示。其次是满足建筑平面功能的要求,本设计工程为职工宿舍,将走道放到外侧。这样的设计,使得平面简单规则、受力合理,各构件跨度、内力分布均衡。工程实践中常用的梁、板跨度:主梁(与框架柱相连且承担楼面板主要荷载的梁)跨度5~8m,次梁跨度4~6m;双向板4m左右。本次宿舍楼的结构布置设计中主梁跨度为7.8m、7.2m、5.2m和4.2m,次梁的跨度为7.8m、7.2m,板的跨度3.9m、2.8m和2.4m,层高均为3.3m。房屋总长度为46.8m。

以上是毕业论文大纲或资料介绍,该课题完整毕业论文、开题报告、任务书、程序设计、图纸设计等资料请添加微信获取,微信号:bysjorg。
相关图片展示:









