山东聊城第八中学教学楼设计毕业论文
2020-04-12 09:01:30
摘 要
Abstract 2
绪论 3
1.框架计算 4
1.1工程概况 4
1.2 确定计算模型 5
1.2.1 预设截面尺寸 5
1.2.2 计算模型 6
1.3荷载统计 7
1.3.1恒荷载标准值统计 7
1.3.2活荷载标准值统计 9
1.4 确定竖向受荷情况 10
1.4.1 A-B,C-D轴线间框架梁 11
1.4.2 B-C轴线间框架梁 12
1.4.3 A,D轴柱纵向集中荷载计算 13
1.4.4 B,C轴柱纵向集中荷载计算 14
1.5 风荷载计算 15
1.5.1 风荷载标准值计算 15
1.5.2 风荷载作用下的位移计算 16
1.6 地震荷载计算 18
1.6.1 各层重力荷载代表值计算 18
1.6.2 地震力计算 20
1.6.3 地震作用下结构侧移验算 22
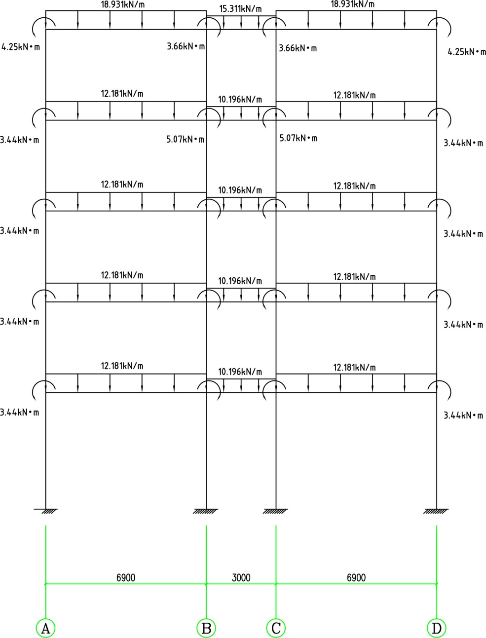
1.7 内力计算 23
1.7.1 恒荷载标准值作用下的内力 23
1.7.2 活荷载标准值作用下的内力 29
1.7.3 风荷载标准值作用下的内力 36
1.7.4 地震荷载标准值作用下的内力 41
1.8 内力组合 45
1.8.1 组合方法 45
1.8.2 梁内力组合 46
1.8.3 柱内力组合 50
1.9 配筋计算 53
1.9.1 材料选择 53
1.9.2 梁配筋计算(包括内力调整) 53
1.9.3 柱配筋计算(包括内力调整) 57
2.基础设计 61
2.1设计资料 61
2.2 A,D轴柱下独立基础设计 61
2.2.1 材料选择 61
2.2.2 荷载设计值 61
2.2.3 初步确定基底尺寸 62
2.2.4 基础抗冲切承载力计算 64
2.2.5 配筋计算 65
2.3 B,C轴柱下独立基础设计 67
2.3.1 材料选择 67
2.3.2 确定基础尺寸 67
2.3.3 梁的弯矩和剪力计算(采用倒梁法) 68
2.3.4 基础配筋计算 69
3.整体式双向板肋梁屋盖设计 71
3.1设计资料 71
3.2荷载计算 71
3.2.1 屋面均布恒荷载计算 71
3.2.2 屋面均布活荷载计算 71
3.2.3 荷载合计 71
3.3内力计算 72
3.4配筋计算 74
4.整体式双向板肋梁楼盖设计 75
4.1设计资料 75
4.2荷载计算 75
4.2.1 楼面均布恒荷载计算 75
4.2.2 楼面均布活荷载计算 75
4.2.3 荷载合计 75
4.3内力计算 76
4.4配筋计算 78
5.楼梯设计 79
5.1设计资料 79
5.2楼梯板设计 80
5.2.1 荷载计算 80
5.2.2 截面设计 80
5.3平台板设计 81
5.3.1 荷载计算 81
5.3.2 截面设计 81
5.4平台梁设计 82
5.4.1 荷载计算 82
5.4.2 截面设计 82
结论 84
致谢 85
参考文献 86
摘要
本次设计内容为山东聊城第八中学教学楼设计。本建筑为五层,底层层高3.9m,其余各层层高为3.9m。现浇钢筋混凝土框架结构和基础场地类型均为Ⅱ类,建筑结构抗震设计按七度进行。
这座建筑采用板式楼梯。根据双向板的弹性理论计算屋顶板和楼板。采用二次分配法计算框架在竖向荷载作用下的内力,计算活荷载的内力,不考虑最不利的布置。风、地震的水平荷载内力计算用D值法。在A、D轴柱下分别采用独立基础,B、C轴柱下采用组合基础。最后根据计算的结果做出本建筑的结构施工图。
关键词:框架、二次分配法、D值法、内力组合、截面设计
Abstract
The design content is the teaching building of No.8 Middle School in Liaocheng, Shandong Province. The building has five floors, the bottom floor is 3.9 meters high, and the remaining floors are 3.9 meters high. With the use of a fully cast-in-place reinforced concrete frame structure, the foundation site category is Class II, and the structural anti-seismic design of the building is carried out according to the seven-degree fortification.
The building uses a plate staircase. Roof panels and floor panels are calculated according to the elastic theory of the overall two-way slab. The internal force of the frame under vertical load is calculated using the Second Distribution Methodn, in which the internal force of the live load is calculated to be full, regardless of its most unfavorable layout. The internal forces of wind and earthquake horizontal loads are calculated using the D-value method. An independent foundation is used under the A and D axis columns, and a joint foundation under the B and C axis columns. Finally, according to the results of the calculations, the structural construction drawings of the building are made.
Key words:The frame, the Second Distribution Methodn,the D value law, the endogenic force combination, the Cross section design
绪论
在本次设计中,我选定的目标是为山东省聊城市的第八中学进行教学楼设计。作为中学的教学设施,教学楼一般必须具备功能齐全、布局合理、设施实用等要素,还须具备教育场所的安全性和亲切性等特点,为成长中的孩子们构建一个安全和谐的学习环境。我们知道,要做到设计形态和相关功能的完美融合,就一定要选取合理的建筑结构。当前流行的框架结构,其最大优势是坚固耐用,可以承受高负荷,且承载和支护两种构件泾渭分明,内外墙灵活设置,可为建筑内部提供更多样化的空间设置。按照上述设计思想,我们计划该教学楼选取钢筋混凝土框架设计模式。
框架结构主要选用钢筋、混凝土等建材,以钢筋和混凝土浇筑成梁柱框架,然后再用空心砖、楼板等物进行填充,从而构成教学楼主体。在各个空间内,以楼板与横梁紧密衔接,构成坚固的空间部分。各个横梁和固定间距的立柱通过节点连构成承载结构,从而将负荷有效引入底座。传力线更加明确清晰,受力更为合理。对于整栋建筑来说,框架之间的距离可以灵活掌握,可采用等跨度模式,也可以采用不等跨度模式,但作为教学用建筑,一般各层的高度是应该相同的。有时,由于教学需要及空间布局的要求,在适当的空间必须避免柱或横架构,以免影响使用效果,在墙体方面我们采用填充墙模式,设置了围墙、分隔墙两种模式。钢混框架加上填充墙,可以最大限度降低建筑物的自重,达到抗震、节能及节约建材的目的。此外,这种红建筑模式还拥有布局灵活的优点,在后期可以结合需要设置LA结构。为了节约建筑耗时,框架中的梁和柱等主要构件还可以进行标准化生产,提前做好运抵建筑地点,避免了现浇的耗时。此外,我们采用混凝土框架还有一个原因,那就是这种结构的整体刚度好,安全系数较高。
在我国建筑史上,钢混框架结构的出现进一步打破了传统砖木结构的统治地位,框架结构采用梁柱支承体系,内部空间布局更灵活,此外,梁柱所处的位置和构造也可灵活选择,立面变化较大,通过合理的设计,其拥有很好的抗震性能,并能承受一定的侧向变形弯曲等等。
在国际上,按照框架结构特点建筑设计中推行“三统一”原则,主要内容是统一了立柱、高度及荷载等。统一内容一般情况下是按照建筑功能及其细节需要来设定,这在教学楼的设计中相对宽松一些。教学用楼一般不能被建筑规则限制,楼层高度统一可突出建筑物良好的采光效果,让楼层空气顺畅流通,对楼层内进行合理布局,在实现其功能的基础上做到顺畅交通。同时,同层之间互相呼应,负荷统一,有效破除了教室、办公室间的限制。
在设计中,我会导师的悉心指导下,认真查阅相关案例、资料信息,全面总结其中的可循成功经验,不断研究化解设计过程中遇到的各类问题。从而达到设计的合理与完整。
1框架计算
1.1工程概况
一.建设地点
山东聊城第八中学教学楼,占地规则43.2m×18.3m。
二、 内容:
1. 五层框架结构。
2. 建筑功能具体要求见详细规定:
教学楼:
公共部分包括:卫生间、楼梯(电梯)
五层设:图书室、文印室、档案室、办公室、监控室、配电室
二至四层设:教室、教室办公室
一层设:大厅、会议室、德育展览室、保健室、门卫室、值班室、总务办公室、维修工作间
三、 气象资料:
1.最热月平均温度 26.8℃ 极端最高温度 41.8℃ ;最冷月平均温度 -1.8℃ 极端最低温度 -22.3℃。
2.年平均降雨量:540.4mm,雨量集中期在 7 月中旬至 8 月中旬。
3.全年主导风向:南风、偏南风。
四、 工程地质资料
以上是毕业论文大纲或资料介绍,该课题完整毕业论文、开题报告、任务书、程序设计、图纸设计等资料请添加微信获取,微信号:bysjorg。
相关图片展示:









