G348沙洋汉江公路二桥55 95 55m连续梁桥上部结构设计毕业论文
2020-04-12 08:42:39
摘 要
本次毕业设计是对G348沙洋汉江公路二桥上部结构进行设计,G348沙洋汉江公路二桥为55m 95m 55m大跨度连续梁,采用挂篮悬臂施工。
预应力混凝土连续梁桥可以有效避免混凝土开裂,充分发挥高强材料的性能,跨越能力大,变形缓和,伸缩缝少,行车平缓,养护简单,在近代桥梁建筑中得到越来越多的应用。
在本次桥梁设计中,主要通过MIDAS软件模拟G348沙洋汉江公路二桥上部结构施工、运行的全过程。完成其内部结构分析,计算恒载内力,活载内力、收缩徐变引起的二次内力以及预应力损失引起的二次内力、进行荷载组合、对构件承载力极限状态以及正常使用极限状态进行验算。
关键词:连续梁桥;MIDAS建模;内力计算;截面验算
Abstract
This graduation design is the design of the structure of G348 Shayang Hanjiang two highway bridge.G348Shayang Hanjiang high-ways Bridge is 55 95 55m large span continuous beam with the cantilever construction method.
The prestressed concrete continuous girder bridge can effectively avoid cracking of concrete and give full play to the performance of high-strength materials, which also have large spanning capacity, moderate deformation, few expansion joints, smooth driving and simple conservation, The prestressed concrete continuous girder bridge are increasingly used in modern bridge construction.
The design of the bridge superstructure use MIDAS software to simulate the whole process of construction and operation of G348 Shayang Hanjiang highway bridge and finish the analysis of internal structure, the calculation of internal force of dead load, live load, creep and shrinkage caused by the two internal force and priestess loss. Load combinations and checking on bearing capacity and limit state .
Key words: continuous girder bridge; MIDAS modeling ; Internal force calculation ; section checking
目录
第一章绪论 1
1.1 桥梁的类型与作用 1
1.1.1 桥梁的主要类型 1
1.2 桥梁工程基本设计要点 3
1.2.1 桥梁设计基本要求 3
1.3 本次设计的任务要求 4
1.3.1 课题来源 4
1.3.2 设计依据 5
1.3.3 设计内容 5
1.3.4 提交的成果内容 5
1.4 本次毕业设计规划 5
第二章桥梁的方案设计 6
2.1 G348沙洋汉江公路二桥设计基本资料 6
2.1.1 设计标准 6
2.1.2 主要材料及性能 6
2.2 上部结构设计 8
2.2.1 总体设计 8
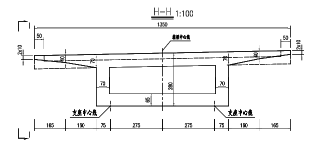
2.2.2 主梁细部尺寸 8
2.2.3 预应力布置 8
2.2.4 箱梁截面细部尺寸 9
第三章 MIDAS 建模 11
3.1 MIDAS 建模 11
3.1.1 设置操作环境 11
3.1.2 材料的定义 12
3.1.3 截面的定义 12
3.1.4 模型节点与单元的建立 14
3.1.5 变截面组定义 17
3.1.6 结构组的定义 17
3.1.7 时间依存性材料的定义 18
3.1.8 边界条件以及边界组的定义 20
3.1.9 荷载组的定义 21
3.1.10 静力荷载工况的建立 21
3.1.11 移动荷载工况的定义 22
3.1.12 预应力钢筋布置 24
3.1.13 施工阶段定义 27
3.2MIDAS 分析过程 28
3.2.1MIDAS 分析前处理 28
3.2.2 生成荷载组合 28
3.2.3 模型的结构内力图 29
3.2.4 进行 PSC 设计 30
第四章结构内力计算 31
4.1 恒载内力计算 32
4.1.1成桥阶段恒载内力计算 32
4.1.2施工阶段恒载内力计算 33
4.2 活载内力计算 36
4.2.1.荷载取值 36
4.2.2. 横向分布系数的考虑 36
4.2.3.活载内力计算 36
4.3 内力组合分析 41
4.3.1 荷载的分类 41
4.3.2 荷载分项系数 41
4.3.3 荷载组合 42
4.4 预应力筋布置 44
4.4.1预应力筋构造要求 44
4.4.2 预应力束布置原则 44
4.5 纵向预应力筋估算 45
4.5.1 纵向预应力束布置位置 45
4.5.2 纵向预应力束的估算 45
第五章收缩徐变及预应力损失 48
5.1 收缩徐变 48
5.2预应力损失及有效预应力计算 50
第六章主梁截面验算 58
6.1 施工阶段法向压应力验算 58
6.2 受拉区钢筋的拉应力验算 59
6.3 使用阶段正截面抗裂验算 61
6.4 使用阶段正截面压应力验算 62
6.5 使用阶段斜截面主压应力验算 63
6.6 使用阶段正截面抗弯验算 65
参考文献 67
毕业设计总结 68
第一章 绪论
1.1 桥梁的类型与作用
桥梁(bridge)是指在修建道路时为了跨越障碍物而修建的建筑物,一般架设在沟壑、水流上方,使
等能够跨越障碍。在经济发展过程中,公路工程发挥着越来越明
,更加的被人
。但是由于我国地域辽阔,不同地区地理环境、地形地貌不同,因此在道路的施工过程中需要结合当地的地形地貌来进行合适的选择,其中桥梁是跨越沟壑、水流的最佳选择,同时可以优化交通运输的资源配置,最大化的缩短各个地区的直接距离。
1.1.1 桥梁的主要类型
桥梁一般根据受力特点进行划分,常见的受力方式有拉、压、弯三种,因此桥梁按照结构体系分为梁式桥、拱桥、刚架桥、悬索承重桥(悬索桥、斜拉桥)四种基本体系,由基本体系衍生出组合体系。桥梁一般由上部构造、下部构造、和附属构造物组成,上部构造部结构主要为桥跨结构和支座;下部结构主要为桥台、桥墩和基础附属构造物。基础附属构造物则是指桥头搭板、锥形护坡、护岸、导流工程等
1.梁式桥
梁式桥的受力特点是在竖向荷载作用下没有水平反力。主要包含简支梁桥、悬臂梁桥、连续梁桥。其中简支梁桥跨越能力最小,常用跨径在25m以下。连续梁桥跨越能力最大,在我国最大跨径在200m以下,国外已达240m。

图 1-1 梁式桥
2.拱式桥
拱式桥的受力特点是在竖向荷载作用下,
主要承重结构为拱圈或者拱肋,在水平推力的作用下,跨中弯矩大大减小,使其跨越能力增大。理论上混凝土拱的最大跨度在500m左右,钢拱的最大跨度在1200m左右。但同时由于水平推力的存在,使的拱桥修建时需要较高的地质条件来承受水平推力。

图1-2拱式桥
3.刚架桥
刚架桥的主要由梁或板和竖墙整体结合在一起的刚架结构来受力。主要包括T型刚架桥和连续刚构桥,T型刚架桥上部结构与墩固结而成T型,桥型美观 、宏伟、轻型,适用于大跨悬臂平衡施工。但桥面伸缩缝较多,不利于高速行车。连续刚构桥主梁连续无缝,上部构造具有连续梁的属性,跨越能力大,施工难度小,行车平缓,养护方便,造价较低。

图1-3刚架桥
4.缆索承重桥
缆索承重桥主要是斜拉桥和悬索桥,是修建大跨度桥梁的最佳选择。桥面通过钢缆吊在半空,缆索悬挂在桥塔之间。

图1-4缆索承重桥
1.2 桥梁工程基本设计要点
1.2.1 桥梁设计基本要求
,必须考虑下述各项要求。
1.使用要求
(1)桥梁净空要满足
要求;
(2)保证车辆和行人的
(3)
也要兼顾文化和环境等其它方面的要求;
(4)
要满足城镇和其他基础设施有关方面的要求,综合利用;
(5)桥梁的检查与维护应尽可能简便,
,要保证其完整性。
2.经济要求
桥梁设计应体现经济上的合理性。
(1)通过详细的经济技术对比,选取桥梁设计方案的总造价和材料消耗最小的;
(2)桥梁的造价还包括其运营阶段的检查和维修费用,因此桥梁应该
,养护
,以降低其费用;
(3)
可以降低施工费用,尽早通车能够更早的获得的
。因此桥梁设计还应满足
的要求。
以上是毕业论文大纲或资料介绍,该课题完整毕业论文、开题报告、任务书、程序设计、图纸设计等资料请添加微信获取,微信号:bysjorg。
相关图片展示:









