6.0 MW永磁直驱海上风电机组控制及安全保护系统设计毕业论文
2020-07-16 20:21:55
摘 要
控制系统是风力发电机组中的重要部分。本文从风力发电机组控制系统的基本原理入手,对其控制思想和控制要求进行了研究和分析,以此为基础,以6MW风力发电机为研究对象,基于PLC完成系统整体设计,包括变桨控制,偏航控制,温度控制,制动系统控制,安全系统控制功能,以及各系统的系统设计和系统图绘制, 以及流程图设计和梯形图设计。 为保证风机正常运行,应选择适当的控制方式,使系统运行稳定,对提高风电利用率有很大帮助.
关键词:风电机组控制 PLC 变桨控制系统 偏航控制系统 安全系统
Design of 6.0MW permanent-magnet direct-drive offshore wind turbine control and safety protection system
Abstract
The control system is an important part of the wind turbine. This paper starts with the basic principle of wind turbine control system, studies and analyzes its control concept and control requirements. Based on this, taking 6MW wind turbine as the research object, the overall design of the system is completed based on PLC, including the change of slurry. Distance control, yaw control, temperature control, braking system control, safety system control functions, and system design and system diagram drawing for each system, and flowchart design and ladder diagram design. In order to ensure the normal operation of the wind turbines, proper control methods should be selected to enable the system to operate stably, which will be very helpful for improving the utilization of wind power.
Key Words: Wind turbine control; PLC; Pitch control system ; Yaw control system; Safety system
目 录
摘要 I
Abstract II
第一章 绪论 1
1.1海上风力发电 1
1.1.1国内风力发电现状 1
1.1.2国外风力发电现状 2
1.2研究课题的内容与意义 2
第二章 风力发电系统的基本原理 3
2.1风力发电机组的控制要求 3
2.1.1控制思想 3
2.1.2自动运动的控制要求 3
2.2风力发电机组的控制系统结构 4
2.1.1控制系统 4
2.1.2永磁直驱式风力发电机系统 4
2.1.3风力发电机的运行控制过程 5
2.3风力机控制的空气动力学原理 6
2.4风力发电机的执行机构 7
2.4.1变桨距执行系统 7
2.4.2偏航系统 9
第三章 变桨控制系统设计 10
3.1变桨距系统功能 10
3.2变桨系统信号检测系统 10
3.3变桨系统的功率控制系统 11
3.3.1变桨控制器 11
3.3.2速度控制器 13
3.3.3功率控制器 14
3.4变桨系统的电路设计 15
第四章 偏航控制系统设计 16
4.1偏航系统功能 16
4.1.1偏航系统检测机构 17
4.1.2偏航控制平台 19
4.2偏航控制系统软件设计 21
4.2.1自动润滑 22
4.2.2自动偏航 22
4.2.3人工偏航 24
4.2.3自动解缆 24
第五章 温度控制系统 29
5.1温度系统功能 29
5.2温控控制系统设计 29
5.3温度控制系统程序 31
第六章 主控系统 35
6.1主控系统功能 35
6.2 PLC选型 36
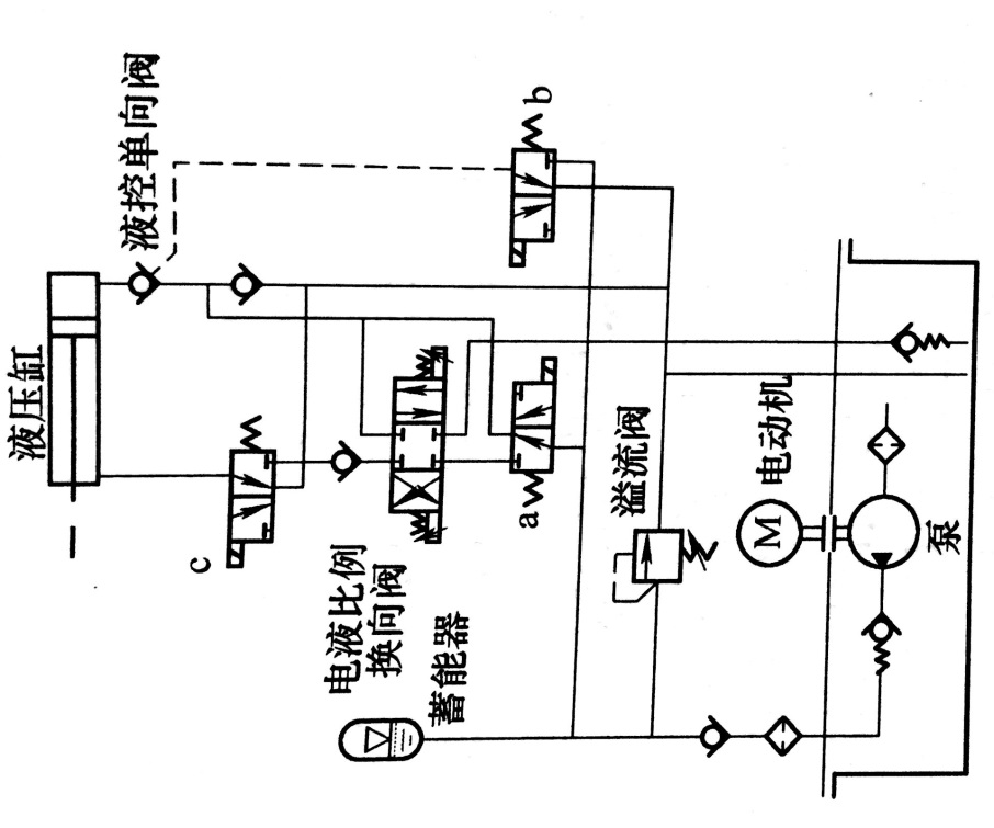
第七章 制动系统 40
第八章 安全系统 42
第九章 总结与展望 46
参考文献 47
致谢 49
第一章 绪论
1.1海上风力发电
绿色能源中世界上增长最快的是风力发电技术。 同时,在陆地上风能利用受到一定限制和问题。 由于风能资源丰富,在当今科学技术可行,海洋风电市场将会快速发展。
1.1.1国内风力发电现状
2010年被广泛认为是中国海上风电开发的第一年。海上风电项目的招标始于5月份。到2012年上半年的时候完成招标了,到目前为止总建设规模为3000MW。
截止到2018年,国家已经陆续在一些城市建设了大型兆瓦级风电基地,并且在城市周边海域建设上十万千瓦级的海上风电场。
我国风能资源丰富的地区主要分布在:
(1)三北地区的风能资源占全国陆上风能资源总量的79%[1],风电密度为200-300以上[2],有的可达500以上[3]。这个丰富的风能带的形成主要是由于北半球三个地区在中高纬度地区,特别是内蒙古和甘肃北部的高纬度西风常年控制的位置[4]。 三北地区风能的分布比较广泛。
(2) 在中国的东南沿海及其附近的海岛地区,这些地区普遍海岸线长,形成丰富的沿海风能带。形成风能带的这些地区冬季比那些大陆温度要高一点,夏季的时候又比大陆地区温度低一点。沿海附近大概方圆十几千米的地带,年风功率密度几乎都在200米以上,对于风力发电来说属于不错的地区。沿海地区风能资源的特点是南大北小,台风的影响地区也呈现由南向北递减的趋势。
中国拥有约18,000公里的海岸线和7,000多个岛屿。这些地区不仅仅是经济发达地区,也是电力负荷中心,这些地区都有较强的高压输电网。
但在我国内陆多为丘陵地区,气流受到地形阻碍的影响,风能功率密度非常低,这些地区的风能几乎不能利用。
(3)青藏高原北部也是属于风能资源丰富的地区,但是有一个缺点,海拔高且空气密度低,有效风能密度为150〜200,可以说是比较低的了。
目前我国气象资料对风电资源做出的评估偏于宏观,且误差较大,在特定风力发电场的建设中,有必要重新测量风力进行微观选址。
1.1.2国外风力发电现状
欧洲某个风能组织签署了一个有关于风力发电的报告,当时签署这份蓝图之前,也就是在2002年时,世界风电装机容量仅仅只有3千万千瓦,这一份蓝图也被称为“风力12%”的蓝图。
相关图片展示:









