对冲火焰碳烟和燃烧中间产物实验测量平台设计毕业论文
2020-04-13 11:07:44
摘 要
碳氢燃料的燃烧为交通领域提供了重要的能量来源。但是,燃料的不完全燃烧也造成了环境污染。碳烟颗粒物是主要的排放污染物之一。为了实现清洁燃烧,减小碳烟颗粒物生成,需要从基础燃烧化学角度分析碳烟生成特性。
本文搭建了基于对冲火焰的碳烟测量的光学诊断平台。该平台可以进行激光诱导炽光法(Laser Induced Incandescence, LII),激光消光法和散射法等定量测量碳烟的光学诊断方法。同时也搭建了基于GC-MS的在线燃烧中间产物的测量装置。本文以激光诱导炽光法为例,详细说明了对冲火焰燃烧器、燃料供给系统、光学系统(包括激光器和ICCD相机)等实验平台。借助三维计算建模软件进行辅助设计建模。该平台可用来深入分析不同燃料、不同火焰工况下碳烟的生成规律,可以促进对碳烟生成的本质理解,对减小碳氢燃料燃烧的碳烟颗粒物排放具有重要意义。
关键词:对冲火焰;实验测量平台;碳烟测量;激光诱导炽光法
Abstract
The combustion of hydrocarbon fuels provides an important source of energy for the transportation sector. However, the incomplete combustion of fuel also causes environmental pollution. Soot particles are one of the major pollutants emitted. In order to achieve clean combustion and reduce the generation of soot particles, it is necessary to analyze soot formation characteristics from the basic combustion chemistry.
This paper builds an optical diagnostic platform based on soot flame measurement. The platform can perform optical diagnostic methods such as Laser Induced Incandescence (LII), laser extinction and scattering methods to quantitatively measure soot. At the same time, a measurement device for on-line combustion intermediate products based on GC-MS was also built. In this paper, laser-induced incandescent light is taken as an example to explain in detail the experimental platforms such as the hedge flame burner, fuel supply system, and optical system (including laser and ICCD camera). Aided design modeling with 3D calculation modeling software. The platform can be used to analyze in depth the production of soot under different fuels and different flame conditions. It can promote the understanding of the nature of soot generation and is of great significance in reducing the emission of soot particles from hydrocarbon fuel combustion.
Key Words: Counterflow flames; Experimental measuring platform; Sooting measurement; LII
目 录
摘 要 I
Abstract II
第1章 绪论 1
1.1背景、目的和意义 1
1.2 国内外研究现状 1
1.3 研究内容及方法 2
第2章 光学诊断技术的分析与选择 3
2.1 碳烟光学诊断技术 3
2.1.1 消光法 3
2.1.2 散射法 5
2.1.3 激光诱导炽光法 6
2.2 选择方法 8
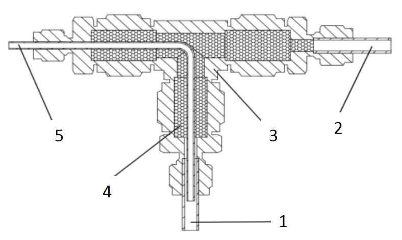
第3章 对冲火焰测试平台的搭建 9
3.1 实验测试平台 9
3.2 燃烧器 9
3.3 光学组件 13
3.4 燃料供给系统 16
3.5 GC-MS在线取样分析系统 18
第4章 总结及展望 20
4.1 全文总结 20
4.2 展望 20
参考文献 21
致 谢 24
第1章 绪论
1.1背景、目的和意义
人类的日常生活中,离不开碳氢燃料的使用。不管是烧菜用的天然气,还是车辆消耗的汽油,主要成分都是碳氢化合物,碳烟是碳氢化合物在高温缺氧条件下热解产生的颗粒物质,它的生成机理非常复杂,其结构属于无定形碳,粒径也分布较宽,从不足1μm到100μm。碳烟对人类健康和环境有着很大的不利影响,10μm以下的微粒会悬浮在大气中,而且停留时间很长[1],特别是纳米级的碳烟颗粒非常危险。因为它们能够穿透人体的肺组织进入血液循环系统,造成严重的健康问题。碳烟还是一种吸光性物质,可强烈吸收太阳短波辐射,同时释放红外辐射,加热周边大气,它在大气中留存时间为数日至几周,因而可产生区域增温效应。因此,对实际燃烧装置的烟尘排放的基本认识和控制至关重要。最近的一项研究表明,化石燃料燃烧产生的碳烟与严重的颗粒物(PM2.5)污染有关,这引发了广泛的社会关注[2]。在这种背景下,燃烧科学家和工程师们在实际燃烧装置中开发控制碳烟排放的新技术变得极为重要。为了实现这一目标,需要充分了解各种碳氢化合物形成碳烟的途径,从而引起对碳烟的基本燃烧研究。如何有效的对燃料燃烧中的碳烟倾向进行测量成为了减少碳烟排放的首要任务。
碳烟的理论研究和生成倾向优化设计需要大量燃烧实验的作为依托,为了满足大量碳烟实验,则必须建立相应的碳烟生成倾向测试平台。由于在内燃机中研究碳烟的生成较为困难,无法避免许多影响因素,难以控制实验量、难以测量结果,且由于气流的存在,极大的影响生成的碳烟的测量准确度,所以人们选择在实验室建立测试平台来模拟实际情况,研究的燃料的碳烟生成倾向。光学诊断技术作为一种非接触式的测量手段,可以提供碳烟浓度和粒径方面的信息,而且不会对燃烧过程产生干扰。在经过20多年的发展,光学诊断技术已经成为检测内燃机各项参数的综合测量诊断技术[3],因此国内外实验室中都将这种测量技术用以深入了解碳烟生成机理以及降低碳烟排放等方面,并且具有十分重要的研究前景。
1.2 国内外研究现状
在测试方法的选择上,国外较多学者选择LII测试技术进行研究。1984年Melton[4]发表了第一篇关于激光加热的碳烟诊断技术的文章;Will等人[5]则第一次将LII技术应用在碳烟颗粒粒径测量的实验中;而Pastor等人[6,7]则同时开展双色法和二维消光法的测试研究。并且国外对氧燃料/富氧燃烧、低温燃烧、温和燃烧和烟道气体再循环的关注度也含高。
而国内在碳烟研究方法的选择上各有不同。曹嘉伟等人[8]主要使用二维消光法对柴油燃烧火焰中碳烟的生成特性进行试验;高永利等人[9]则把关注点聚焦在激光能量密度对激光诱导炽光法的影响;马凤斌等人[10]则使用消光法对烟尘的浓度和颗粒进行测量与探究;王子豪等人[11]则使用一种新型在线激光诊断方法——激光诱导击穿光谱方法(PS-LIBS),主要运用在对冲滞止面内纳米颗粒运输的在线诊断与计算的相选择性上。
1.3 研究内容及方法
本文通过查阅文献资料,选择目前常用的几种光学诊断方法,对它们的原理进行简单的探究,并对他们的优劣进行分析;从上述光学诊断方法选一种作为例子来搭建实验测量平台,并对测试平台中各个部件进行分析选取;对所搭建的试验测试平台可能产生的误差进行分析;使用建模软件进行三维建模;最后对整个过程进行总结并对未来发展进行展望。具体流程如图1.1所示。
对碳烟的研究提出问题
分析光学诊断方法的原理
搭建实验平台
对研究进行展望
对各个系统进行分析选取
图1.1:工作流程图
第2章 光学诊断技术的分析与选择
2.1 碳烟光学诊断技术
上一章我们已经提到过,选择光学诊断技术来研究碳烟的产生倾向。目前常见的碳烟光学诊断技术包括:消光法(LEM)、散射法(LS)和激光诱导炽光法(LII)。
2.1.1 消光法
消光法是一种较为成熟的测量碳烟体积分数的方法[12,13,14],获取的实验数据通常为光程上的平均值,不具有时间、空间分辨率。但由于消光法的简易性及准确性,在碳烟测量实验研究中,通常会使用消光法的结果作为参数来验证其他光学实验的精确性。
消光法的原理如下:由于吸收和散射,光束经过一束带烟的火焰后,其强度会减弱。这种衰减可以通过确定初始光强度(I0)和通过火焰后的光强度(I)的比值来量化,并将其定义为透光率(τ=I/I0)。
根据Lamber-Beer定律,一个样本的吸光度与它的光程长度和衰减物种的浓度成正比,可以表示为:
(2.1)
式中L为光路长度,Kext为局部消光系数。
对于一个均匀的系统,Kext是一个沿着光路的常数,那么公式2.1可以简化成一个更简单的形式:
以上是毕业论文大纲或资料介绍,该课题完整毕业论文、开题报告、任务书、程序设计、图纸设计等资料请添加微信获取,微信号:bysjorg。
相关图片展示:









