定容燃烧弹内甲醇燃料的点火及火焰传播特性模拟毕业论文
2020-04-05 10:57:40
摘 要
醇类燃料作为发动机的代用燃料有很大的优越性,而甲醇是醇类燃料中应用最广的一种。本文模拟研究了定容燃烧弹内,在不同初始温度、初始压力和燃空当量比的条件下甲醇燃料预混层流燃烧的点火及火焰传播特性。以开源代码OpenFOAM为数值求解工具,对定容燃烧弹腔体几何区域进行网格划分,建立燃烧数学模型,燃烧数据后处理等。结果表明:当甲醇预混气的初始压力和当量比一定时,火焰传播速度随初始温度的升高而增加,燃烧稳定性随初始温度的升高而降低;当甲醇预混气的初始温度和当量比一定时,火焰传播速度随初始压力的升高而降低,燃烧稳定性受初始压力影响不大;当甲醇预混气的初始温度和初始压力一定时,火焰传播速度的最大值出现在当量比1.1附近。
关键词:甲醇;定容燃烧弹;点火;火焰传播;OpenFOAM
Abstract
Alcohol fuels have great advantages as alternative fuels for engines, and methanol is the most widely used type of alcohol fuel.In this thesis, the ignition and flame propagation characteristics of premixed laminar combustion of methanol fuel in a constant volume bomb, under different initial temperatures, initial pressures, and equivalence ratios of fuels were numerically studied. The open-source code OpenFOAM was used for mesh discretization, PDE (partial differential equation)-solving, as well as data post-processing. The results show that when the initial pressure and equivalence ratio of the premixed methanol/air gas are constant, the flame propagation speed increases with the increase of the initial temperature, and the combustion stability decreases with the increase of the initial temperature; when the initial temperature and equivalence ratio are constant, the flame propagation speed decreases with the increase of the initial pressure, while the combustion stability is not affected by the initial pressure. When the initial temperature and initial pressure are constant, the maximum flame propagation speed occurs near the equivalence ratio of 1.1.
Key words: Methanol;Constant Volume Combustion Bomb;Flame Ignition;Flame Propagation; OpenFOAM
目 录
第一章 绪论 1
1.1研究背景及目的 1
1.2研究现状 1
1.3研究方法 1
第二章 燃烧特性研究 3
2.1层流预混火焰的结构 3
2.2 层流燃烧速度 4
2.3层流反应流动方程组 4
第三章 甲醇反应机理 5
4.1甲醇简介 5
4.2 甲醇反应机理 5
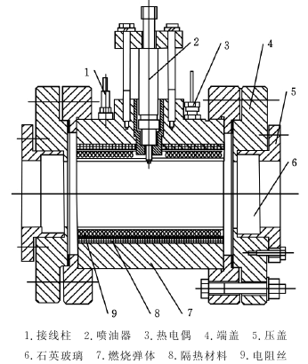
第四章 定容燃烧弹系统 7
4.1定容燃烧弹系统优势 7
4.2仿真模型的建立 7
第五章 数值求解工具 10
5.1 OpenFOAM介绍 10
5.1.1 OpenFOAM结构 10
5.2燃烧求解器 12
5.2.1 化学反应的流动方程 12
5.2.2连续性和动量方程 13
5.2.3 物质运输方程 13
5.2.4能量传输方程 14
5.2.5 点火燃烧程序 15
5.3后处理 15
第六章 实验数据结果与分析 17
6.1初始温度 17
6.1.1初始温度对火焰传播速度的影响 19
6.1.2初始温度对燃烧稳定性的影响 21
6.2 初始压力 21
6.2.1初始压力对火焰传播速度的影响 23
6.2.2初始压力对燃烧稳定性的影响 24
6.3燃空当量比 25
6.3.1 当量比对火焰传播速度的影响 26
6.3.2 当量比对燃烧稳定性的影响 28
第七章 结论 30
参考文献 31
致 谢 32
第一章 绪论
1.1研究背景及目的
随着世界工业的发展,石油消耗量逐年增长,世界能源形势变得日趋严峻[1]。自上世纪的能源危机以来,人们越来越意识到能源并非无穷无尽,关于燃料的开发使用逐渐成为各国的研究热点。由于目前能源消费的主体仍是石油一类的矿物燃料,这不可避免地会产生大量的污染排放物。内燃机在未来五十年内仍将是最经济,最主要的动力,这是国内外学者的一致共识。而内燃机排放出的有害气体不仅破坏人类赖以生存的环境还会加剧温室效应,因此,在不降低内燃机工作性能要求的基础上,寻找可以达到节能减排效果的可用替代燃料就成为了迫在眉睫的任务。近年来,各国研究人员为完成这一任务,对包括醇醚燃料在内的各类替代燃料进行了广泛研究。甲醇作为醇醚燃料中最简单常见的一种, 具有来源广泛,生产成本低廉,低污染低排放的优点。
1.2研究现状
目前,研究人员在内燃机甲醇气化方面进行了大量的工作,也取得了一定的成绩,如甲醇/柴油燃料混合燃烧(甲醇应用于压燃式发动机时,可在现有发动机上配备供醇系统和喷醇系统来实现甲醇/柴油的混合气燃烧)和双燃料喷射系统(发动机有两套独立的燃油喷射泵和喷油器系统,两套系统分别独立的用于喷射甲醇和柴油来实现甲醇/柴油的混合气燃烧)。但是,目前对甲醇的研究,在点火和燃烧特性等方面仍不够广泛和深入。为了找到甲醇预混气在发动机内的火焰传播规律以便更好的研究开发新型甲醇燃料发动机,不同初始压力、初始温度和燃空当量比等参数对甲醇一空气预混燃烧的点火及火焰传播特性影响的研究是必不可少的。
1.3研究方法
在本次模拟研究中我们首先通过查阅相关文献资料了解定容燃烧弹的实际结构和工作原理,确定本次模拟中所需的定容燃烧弹的实际尺寸。以此为基础在OpenFOAM中根据一定的比例尺寸建立定容燃烧弹的几何模型,最后通过BlockMesh网格生成程序划分网格。由于OpenFOAM软件自带各种求解器,其中就包括燃烧求解器“reactingFOAM”,该求解器可用于本次的甲醇预混燃烧研究,尽管求解器中的部分程序与本次研究不符合,但我们可以进行适当的修改以达到求解目的。由于求解器“reactingFOAM”原程序为燃料自燃,而本次模拟研究的甲醇预混燃烧应为火花塞点火,故需要在求解器的原程序中添加点火燃烧程序,该程序将在第五章详细叙述。之后,在OpenFOAM中添加点火直径、点火能量、点火持续期、时间步长等点火参数[2],初始压力、初始温度和燃烧空燃比等燃烧参数以及甲醇反应机理等的读取程序。最后利用paraFoam来对实验所得的燃烧特性参数进行后处理,得到更为直观明了的参数云图。
本文的目的是模拟研究甲醇在定容燃烧弹内的点火及燃烧特性,首先介绍了预混层流燃烧的特性以及相关的反应方程式,第三章给出了甲醇的26步反应机理,第四章则简介了反应容器定容燃烧弹的结构及建模过程,紧接着第五章概述了研究工具OpenFoam软件的结构及操作方法,第六章详细叙述了研究结果的数据分析,最后第七章为全文的模拟研究下结论。
第二章 燃烧特性研究
2.1层流预混火焰的结构
燃烧过程有很多种,例如气体燃料燃烧,液体燃料燃烧,喷雾燃烧等。气体燃料燃烧涉及均处于气相的燃料和氧化剂之间的化学反应。进一步基于所考虑的气体燃料的组成,存在两类气体燃烧过程:预混燃烧和非预混燃烧。在预混合燃烧中,燃料在燃烧之前与空气混合,并且当混合物被点燃时燃烧在燃烧室中发生。 例如,火花点火内燃机(汽油发动机)中的燃烧。如果流体层平滑地移动,使得它们保持有序并且不在垂直于流动方向的平面中混合,则流动被定义为层流。流量是否为层流取决于用于定义雷诺数的惯性力和粘性力的比率
(2.1)
其中lc是特征长度,v是流速,ρ是质量密度,μ是动态粘度。如果达到临界值Re,则层流开始变得不稳定并变成湍流。 例如在内部通道流中,这发生在Re≈2000。
层流预混火焰向燃料和空气的预混合物传播。它们出现在燃气灶,加热装置和某些燃烧器中。对层流预混火焰的理解是研究湍流预混火焰的先决条件。由于其简单的结构,层流预混平火焰已成为数值燃烧科学中的重要对象。因此存在许多专门的数字代码,如CHEMKIN / PREMIX 和Cantera 。
为了区分燃料和氧化剂的不同混合物,空气数量被定义为
(2.2)
其中Xair(Xfuel)是混合物中空气(燃料)的摩尔分数,Xair,stoich. (Xfuel,stoich.)是化学计量混合物中空气(燃料)的摩尔分数。根据λair的值,预混燃烧可以分为不同的类别:λairlt;1的富燃烧,λair= 1的化学计量燃烧和λairgt; 1的稀燃烧。

图2.1 层流火焰图[2]
图2.1显示了预混合的层流火焰图,它由三个主要部分组成。在化学惰性预热区,反应释放的热量通过传导传输。反应层通常很薄,称为燃料消耗层或厚度δ和温度T0的内层。该层负责保持反应过程的活力。在这一反应层,燃料被消耗并且自由基通过断链反应被耗尽。内层温度T0对应于链支化和链断裂反应之间的交叉温度。在氧化层中,完成对产物的最终氧化并且温度达到其最大值。反应区的厚度δ可由下式计算,
(2.3)
2.2 层流燃烧速度
在球形扩散火焰中,拉伸火焰传播速度由时间和相应火焰半径所决定
(2.4)
式中ru火焰的半径,t为时间。
对于静止流场,火焰上任意一点的火焰拉伸率α定义为
(2.5)
对于球形层流火焰,拉伸率为
(2.6)
由马克斯坦理论可知,当层流火焰的传播方式为球形时,无拉伸火焰传播速度Sl与拉伸火焰传播速度Sn两者有以下的线性关系
(2.7)
在式(2.7)中将Sn外推至α=0处,可以得到无拉伸层流火焰传播速度Sl。将拉伸层流火焰速度与拉伸率拟合成一条直线,该直线的斜率Lb即为已燃气体马克斯坦长度的负值,在该直线与纵坐标轴的交点即α=0处,拉伸火焰传播速度Sn与无拉伸火焰传播速度Sl相等[3]。马克斯坦长度与火焰稳定性成正相关关系,即马克斯坦长度值越大,层流火焰越稳定,火焰前锋面越不可能出现褶皱。
层流燃烧速度与燃料类型,空气数量,压力,未燃烧流动温度等有关,并且是燃烧的一个非常重要的特征。
2.3层流反应流动方程组
燃烧是一个复杂的课题,除了理解流动和层流物理外,还需要在热力学,化学平衡和化学动力学等领域有相当多的知识和经验,才有足够的能力可以求解这些恒温条件下不可压缩流体的未知压力和速度场。然而,反应流动更加复杂,因为包括能量传输和涉及化学物质的附加方程。反应混合物的局部密度不是恒定的,取决于压力,种类浓度和混合物温度。此外,由于流体的性质是温度的函数,连续性和动量方程与能量方程耦合,因此不能独立求解。
这些同时存在的非线性偏微分方程可以在一个细网格上用数值方法求解,以模拟层流反应流。层流反应流控制方程在第五章中将详细介绍。
第三章 甲醇反应机理
4.1甲醇简介
甲醇(CH3OH)是一种汽车燃料,但与高级醇相比,人们对甲醇的应用兴趣不大[4]。甲醇与其他醇类化合物的燃烧具有许多相同的化学动力学特性。因此,对甲醇燃烧化学的研究有助于揭示醇类的燃烧化学特性,形成一类生物燃料,这些生物燃料正在考虑作为汽油替代物或作为汽油添加剂,例如加利福尼亚立法。此外,对甲醇本身燃烧的理解有助于今后对燃烧过程的描述,例如对国际空间站目前正在进行的甲醇液滴燃烧实验结果的解释。本章介绍了在甲醇燃烧的基础上增加的步骤,因此可以在各种燃烧研究领域中发挥作用。
文献中的甲醇燃烧机理虽然各不相同,但在许多最重要的元素中有相同的成分。目前的研究主要基于圣迭戈机制,针对这些机制,各种甲醇步骤的速率参数已经根据最新的信息进行了更新,并已在网络上发布。由于机制通常包括数百个可逆的基本步骤,常常造成计算量巨大的问题,因此人们通常推导出系统的简化机制,这些简化机制可以应用于特定类型的需要具有一定精确度的燃烧问题。
4.2 甲醇反应机理
本次模拟研究中,我们采取的是甲醇的26步反应机制,不同于8步反应机制的简单不精确,也不至于像81步反应机制的过分复杂导致反应时间过长。甲醇的26步机制的基本反应和相关速率参数如表4.1所示,其中特定的反应速率常数k=ATne-E/(RT)。
表4.1 甲醇26步反应机理[4]
化学反应式 A(mol/cm3) n(K) E(kJ/mol)
1 CH3OH O2 → CH2OH HO2 2.000×1013 0.00 188
2 CH3OH HO2 → CH2OH H2O2 8.000×1013 0.00 81.1
3 CH3OH H → CH2OH H2 1.354×1003 3.20 14.6
4 CH3OH OH → CH3O H2O 4.400×1006 2.00 6.3
5 CH3OH OH → CH2OH H2O 1.440×1006 2.00 —3.51
6 CH3O M1 → CH2OH M1 1.000×1014 0.00 80
7 CH2OH O2→ CH2O HO2 5.000×1012 0.00 0
8 CH3O M1 → CH2O H M1 7.780×1013 0.00 56.5
9 CH3O O2 → CH2O HO2 4.280×10—13 7.60 —14.8
10 CH2O HO2 → HCO H2O2 4.110×1004 2.50 42.7
以上是毕业论文大纲或资料介绍,该课题完整毕业论文、开题报告、任务书、程序设计、图纸设计等资料请添加微信获取,微信号:bysjorg。
相关图片展示:









