襄阳石灰石矿露天三维爆破方案设计毕业论文
2020-02-18 00:13:15
摘 要
依据《采矿手册》和《爆破工程》等参考书,针对年产量400万吨的露天石灰石矿进行三维爆破设计。主爆区采用深孔台阶爆破。台阶高度12m,台阶坡面角70°,主炮孔直径200mm,底盘抵抗线7m,孔距也是7m,排距4.5m。对永久边坡采用预裂爆破和光面爆破,预裂孔和光面孔直径100mm。根据孔网参数在三维软件DIMINE中进行爆破数值模拟,并对爆破参数的合理性进行分析总结,最后根据生成报告对孔网参数进一步优化。在爆破过程中要实行安全管理,防止爆破事故发生。要对爆破公害进行安全防护。
深孔台阶爆破选用KQ-200型潜孔钻机,预裂爆破和光面爆破选用KQ-100型潜孔钻机。
关键词:深孔台阶爆破;预裂爆破;光面爆破;设备选型;三维建模;爆破模拟
Abstract
According to the "Mining Handbook" and "Blasting Engineering" and other reference books, the three-dimensional blasting design for the open-air limestone mine with an annual output of 4 million tons. The main explosion zone uses deep hole step blasting. The step height is 12m, the step slope angle is 70°, the main blast hole diameter is 200mm, the chassis resistance line is 7m, the hole spacing is also 7m, and the row spacing is 4.5m. Pre-splitting blasting and smooth blasting are applied to the permanent slope, and the pre-cracked hole and the light face are 100 mm in diameter. According to the parameters of the hole network, the blasting numerical simulation is carried out in the three-dimensional software DIMINE, and the rationality of the blasting parameters is analyzed and summarized. Finally, the parameters of the hole network are further optimized according to the generated report. Safety management should be implemented during the blasting process to prevent blasting accidents. It is necessary to carry out safety protection against blasting public hazards.
KQ-200 type down-the-hole drilling rig is used for deep hole step blasting,and KQ-100 type down-the-hole drilling rig is used for pre-splitting blasting and smooth blasting.
Key Words:deep hole step blasting;presplit blasting;smooth blasting;equipment selection;3D modeling;blasting simulation
目 录
摘 要 I
Abstract II
第一章 绪论 1
1.1工程概述 1
1.1.1矿区位置和交通 1
1.1.2采矿规模与设计条件 1
1.1.3设计任务 1
1.2技术条件 2
1.2.1矿区开采技术条件 2
1.1.2矿体地质条件 3
1.3三维设计软件 3
1.3.1DIMINE软件介绍 3
1.3.2 3DMine软件介绍 3
第二章 深孔台阶爆破设计 4
2.1台阶爆破简述 4
2.2装药、充填施暴注意事项 4
2.3炸药选择 4
2.4深孔方式选择 5
2.5爆破参数设定 5
2.5.1台阶要素 5
2.5.2孔网参数 6
2.6布孔形式、装药结构、起爆网路敷设及起爆方法 8
2.6.1布孔形式 8
2.6.2装药结构 9
2.6.3起爆网路敷设 9
2.6.4起爆方法选择 10
2.7施工流程 11
2.8钻孔设备选型 11
第三章 紧邻永久边坡的预裂爆破和光面爆破设计 13
3.1 预裂爆破简述 13
3.1.1预裂爆破定义 13
3.1.2预裂缝成缝机理 13
3.1.3技术要求 13
3.2预裂爆破的爆破参数和钻孔设备选型 13
3.2.1确定爆破参数 13
3.2.2确定预裂孔深度 14
3.2.3钻孔设备选型 15
3.3预裂爆破施工 15
3.3.1预裂孔排列 15
3.3.2装药结构 15
3.3.3堵塞 15
3.3.4爆破网路 16
3.4缓冲孔参数设计 17
3.5光面爆破设计 17
3.5.1光面爆破定义 17
3.5.2作用原理 17
3.5.3与预裂爆破的关系 18
第四章 三维爆破建模 19
4.1实体建模 19
4.1.1导入勘探线矿体剖面 19
4.1.2创建三维实体 19
4.1.3有效性检测 20
4.2三维爆破建模 21
4.2.1露天台阶模型 21
4.2.2设置主爆孔相关参数 21
4.2.3设置预裂孔相关参数 21
4.2.4主炮孔设计装药 22
4.2.5主炮孔起爆网路连线 23
4.2.6生成爆破报告书 23
第五章 矿山爆破安全 29
5.1爆破公害效应及部分控制技术 29
5.1.1爆破公害 29
5.1.2部分爆破公害控制技术 29
5.2爆破安全管理的原理和原则 31
5.2.1爆破安全管理的原理 31
5.2.2爆破安全管理的原则 31
5.3安全防护措施 32
5.3.1降低爆破振动的有效措施 32
5.3.2控制爆破飞石的措施 32
5.3.3施工安全保障措施 32
结语 33
参考文献 34
致谢 35
第一章 绪论
1.1工程概述
1.1.1矿区位置和交通
黄家垭矿区地理位置在南漳县以南6千米的地方,市区有部分公路可以直达矿区周围,交通较为便捷。具体交通位置图如图1-1。
图1-1 交通位置图
1.1.2采矿规模与设计条件
襄阳石灰石矿露天开采年开采矿量400万吨,台阶坡面角70°。年工作时间340天,7天爆破一次,一次爆破82353吨矿石,石灰石的密度ρ石=2.6t/m3,所以一次爆破体积31674m3。
1.1.3设计任务
根据矿山生产规模完成石灰石矿露天开采爆破设计、永久边坡的预裂爆破设计、永久边坡的光面爆破设计以及钻孔设备选型设计。除此之外,还要将台阶爆破设计在三维软件DIMINE中模拟建模。最后将爆破设计中所用到的图纸在CAD中画出来,不少于5张,并且至少有一张手绘的图纸。
1.2技术条件
1.2.1矿区开采技术条件
为了知道矿石的抗压强度,对部分代表性矿体进行儋州抗压强度测试,结果见表1-1。
从表1-1结果看,岩(矿)石抗压强度在110MPa-120MPa之间,属于坚硬岩石。
表1-1 抗 压 强 度 试 验 结 果 表
试样编号  | 层位  | 受力方向  | 岩石名称  | 抗压强度(MPa)  | 备注  | |
|---|---|---|---|---|---|---|
单值  | 平均值  | |||||
KY1-1  | T1d1  | 平行层理  | 石灰岩  | 132.28  | 117.26  | |
KY1-2  | 118.67  | |||||
KY1-3  | 100.84  | |||||
KY1-4  | 垂直层理  | 石灰岩  | 124.70  | 112.77  | ||
KY1-5  | 101.78  | |||||
KY1-6  | 111.83  | |||||
KY2-1  | T1d2-2  | 平行层理  | 石灰岩  | 95.82  | 109.62  | |
KY2-2  | 116.64  | |||||
KY2-3  | 116.41  | |||||
KY2-4  | 垂直层理  | 石灰岩  | 119.55  | 132.06  | ||
KY2-5  | 139.92  | |||||
KY2-6  | 136.70  | |||||
KY3-1  | T1d2-3  | 平行层理  | 石灰岩  | 121.54  | 114.07  | |
KY3-2  | 104.81  | |||||
KY3-3  | 115.86  | |||||
KY3-4  | 垂直层理  | 石灰岩  | 133.60  | 118.32  | ||
KY3-5  | 92.65  | |||||
KY3-6  | 128.70  | |||||
1.1.2矿体地质条件
矿体沿倾向和走向较为平整,无大面积断层且数量较少,断层规模对矿体的连续性基本没有影响。矿体主要分布在矿区中部,中部多有山脊、山坡,出露标高在300m-550m。
1.3三维设计软件
1.3.1DIMINE软件介绍
DIMINE 数字矿山软件系统主要适用于矿山企业的地质测量人员、采矿专业的技术人员及相关技术管理人员。全面实现了矿山开采过程中的矿床三维地质建模、储量计算与动态管理、测量验收及数据的快速成图,以及地下矿开采系统设计与开采单体设计、回采爆破设计、生产计划编制、矿井通风系统网络解算与优化,和露天矿开采境界优化、露天采场设计、露天开采爆破设计、钻孔设计、采剥顺序优化与计划编制到各种工程图表的快速生成等工作的可视化、数字化与智能化。DIMINE是各矿山企业进行数字化矿山建设最佳的软件平台。
1.3.2 3DMine软件介绍
3DMine 是一个比较综合的矿山三维建模编辑软件,里面有露天开采设计、地下开采设计、矿体建模、储量估算、炮孔数据库等功能。而且在3Dmine中可以三维和二维变换,且二维情况下其操作风格和CAD类似,更加方便初学者的学习使用。
第二章 深孔台阶爆破设计
2.1台阶爆破简述
台阶爆破是工作面以台阶形式推进的爆破方法。按孔径、孔深的不同,分为深孔台阶爆破和浅孔(眼)台阶爆破。通常,将孔径大于50mm,孔深大于5m的钻孔称为深孔。反之,则称为浅孔。
深孔爆破大多数使用柱状药包,炸药均匀地分布在岩体中,可以降低炸药单耗,减少炸药使用量,提高延米爆破量,降低工程成本。深孔爆破的优点主要表现在两个方面。一是机械化工方面:深孔爆破本身机械化程度高,克服了其他方法依靠较多人力或机械化程度不高的缺陷,还能提供适于机械挖运的爆堆大小,满足装运进度要求的爆破方量。二是安全方面:露天深孔爆破的装药位置与爆破岩体的位置关系较清晰,很容易获得爆破数据;施工条件也优于其他爆破技术,施工发生的事故较少。缺点主要是深孔钻机,不管压轮钻机还是潜孔钻机,深孔钻孔消耗能量较大;而且钻孔的利用率不高,排出岩渣比较困难;机械比较笨重,在有坡度时移动困难,效率不高。
2.2装药、充填施暴注意事项
1)爆破器材的存储、质量检测和领取使用应严格按照爆破安全规定进行安全检查与监督。
2)装要前认真进行炮孔验收、装药连线制度和规范,要与工程技术人员进行技术交底。
3)保证起爆药包质量和孔口位置,禁止拨、拉起爆药包管线、药包堵塞。
4)装药现场禁止明火照明,注意杂散电流和其他电效应的影响。
5)保证堵塞长度和堵塞质量,达到爆破安全的要求,禁止无堵塞起爆。
6)爆破网路连接必须在装药填塞工作完全完成后,并且在无关人员全部撤出爆区抵达安全地点后,由经验人员和爆破员规范标准操作,严格按照设计施工。
2.3炸药选择
常用的炸药有铵油炸药、乳化炸药和铵锑炸药。
铵锑炸药主要由硝酸铵、梯恩梯、木粉组成。硝酸铵起氧化剂作用,梯恩梯为敏化剂兼还原剂作用,木粉主要作为可燃剂起松散和防结块作用。性质稳定,易吸湿,失水后容易结块,降低爆破质量。对冲击、摩擦与火花的感度不高。抗水性差。
铵油炸药是一种无锑炸药,主要由粒状硝酸铵组成,伴有少量的轻柴油混合物。成分简单,原材料来源广泛,成本较低,使用安全。感度低,起爆困难。容易吸湿、结块,导致炸药性能恶化。一般铵油炸药都是在现场配制使用。
乳化炸药是一种含水工业炸药,通过乳化剂作用将硝酸铵类氧化剂水溶液均匀地分散在含有空气或其他成分的连续介质中形成的一种油包型的乳胶混合炸药。乳化炸药的抗水性强,威力大,可以用于水下爆破。感度低于其他类型的炸药。成分不含有毒物质,可安全使用。原料来源广泛,生产成本低。
相比于其他炸药来说,乳化炸药的爆破效果好,而且不污染环境,使用安全,有合适的爆炸感度。所以选择2#岩石乳化炸药。
2.4深孔方式选择
露天深孔爆破的钻孔形式一般有垂直深孔和倾斜深孔。垂直深孔和倾斜深孔的有确定对比见表2-1。
表2-1 垂直深孔和倾斜深孔比较
深孔布孔形式  | 使用情况  | 优点  | 缺点  | 
垂直深孔  | 大量使用,尤其在大型矿山  | 适用各种地质条件的深孔爆破; 技术操作简单; 速度快。  | 大块较多且常有根底; 坡顶经常产生裂缝,坡面稳定性差。  | 
倾斜深孔  | 中小型矿山、石材开采、水电水利、道路开挖工程  | 抵抗线均匀,不容易产生大块和根底; 梯段较稳固,坡面容易保持; 爆堆岩块的形状好,但爆破质量不会降低。  | 技术操作复杂,容易发生钻凿事故; 速度较慢。  | 
根据表2-1中所述优缺点,本次设计选用垂直深孔的炮孔形式。
2.5爆破参数设定
2.5.1台阶要素
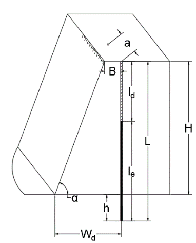
图2-1中H为台阶高度;Wd为前排钻孔的底盘抵抗线,是自炮孔中心至台阶坡底线的最短距离;ld为堵塞长度; le为装药长度;L为钻孔深度;a为孔距;α为台阶坡面角;h为超深;B为在台阶面上从钻孔中心至坡顶线的安全距离。为了达到良好的爆破效果,必须正确确定上述各项台阶要素。
2.5.2孔网参数
图2-1 台阶要素图
以上是毕业论文大纲或资料介绍,该课题完整毕业论文、开题报告、任务书、程序设计、图纸设计等资料请添加微信获取,微信号:bysjorg。
相关图片展示:








        
            
