某一门式钢架的结构设计及Ansys受力分析毕业论文
2020-02-17 19:59:30
摘 要
门式钢架是一种传统的建筑框架结构,包括刚性梁,钢架柱,支撑杆,檩条,山墙构架等。门式钢架设计主要包括: 整体布局,需要确定钢架平面布局网络、整体尺寸、相关载荷,对构件截面及尺寸初选,然后对构件截面进行校核,节点设计校核,以保证构件满足设计要求。完成此过程后,建立简化模型对门式钢架结构ANSYS受力分析,根据所计算确定载荷进行静力学分析,得出总体变形图和位移云图,以确定设计的合理性;通过模态分析得出各阶固有频率和振型图,利用此结果可以避免结构的振动和噪音。利用这些数据建立门式钢架的三维模型,制作工程图。门式刚架轻型钢结构,主要业务范围包括单层工业厂房、民建超市、展览、仓库储存和各类工业与民用建筑,这是一个强有力的竞争,并且有着广阔的市场前景。
关键词:门式钢架;结构设计;受力分析。
Abstract
Portal steel frame is a kind of traditional building frame structure, including rigid beam, steel frame column, support rod, purlin, gable frame, etc. The design of portal steel frame mainly includes: overall layout, need to determine the planar layout network, overall size, related loads of the steel frame, the primary selection of component section and size, and then check the component section, joint design and check to ensure that the component meets the design requirements. After completing this process, a simplified model is established to analyze the forces acting on the portal steel frame structure ANSYS. Static analysis is carried out according to the calculated loads, and the overall deformation and displacement nephograms are obtained to determine the rationality of the design. The natural frequencies and mode shapes of each order are obtained through modal analysis, using this result, the vibration and noise of the structure can be avoided. Using these data, the three-dimensional model of portal steel frame is established and the engineering drawings are made. Portal frame light steel structure, whose main business scope includes single-storey industrial plant, civil supermarket, exhibition, warehouse storage and all kinds of industrial and civil buildings, is a strong competition and has broad market prospects.
Key Words: portal steel frame; structural design; force analysis.
目录
第1章 绪论 1
1.1门式钢架结构研究的目的及意义 1
1.2门式钢架的国内发展现状 1
1.3门式钢架的研究方法 1
第2章 钢架结构平面布置及载荷计算 2
2.1钢架结构 2
2.2载荷确定及取值 3
2.2.1 永久载荷 3
2.2.2 可变载荷 3
2.2.3 载荷组合 3
2.3 钢架的构件截面形式及尺寸初选 4
第3章 门式钢架的构件截面校核 5
3.1 钢架构件截面校核 5
3.1.1 钢架柱截面校核 5
3.1.2 梁截面计算校核 6
3.2 连接节点设计 8
3.2.1 梁与柱的节点 8
3.2.2 梁与梁连接节点设计 11
3.2.3 柱脚形式设计 12
第4章 钢架的其他构件设计 13
4.1 支撑构件设计 13
4.2 檩条设计 15
4.3 墙梁设计 19
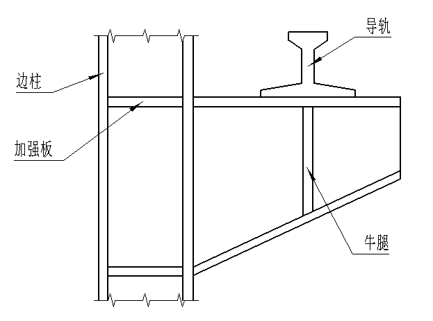
4.4 牛腿设计 20
第5章门式钢架结构ANSYS受力分析 24
5.1钢架ANSYS建模 24
5.2钢架的静力学分析 24
5.3钢架的模态分析 28
第6章 总结 33
参考文献 34
致谢 35
第1章 绪论
1.1门式钢架结构研究的目的及意义
此次毕业设计对机械设计等相关知识进行了极大的运用,同时也拓展学习了一些建筑方面的知识。作为一个即将步入社会的大学本科生,毕业设计对我来说是一个巨大的挑战,需要进行各种各样的资料以及文献收集工作,同时也需要投入精力,吸取各种各样的经验,保证自己通过设计可以学习到很多的知识,在此次毕业设计中大大提高自己的综合素质以及机械设计能力,同时也能更好的巩固自己大学四年所学的专业相关知识,也努力进一步对机械设计这一行业进行了解,对自己以后的认识规划有很大的指导意义,还需要对Ansys软件进行学习,用其对所设计结构进行受力分析。正是学习此软件,使我掌握了一个新的技能,知道了分析的新方法,在以后的工作学习中就能有更多解决问题的方法。收集数据和了解材料能力使我们可以获得基本训练,但在学习过程中我们只是分散,零星地,有目的地学习每个学科的基本知识点。在社会上,面对真正的问题,对我们的完整性和一体化的许多要求,因此,在我们毕业之前,我们必须需要机会和机遇。大学毕业设计为我们提供了一个绝佳的机会,让我们综合四年的经验,把分散的知识纳入,一起进行运用。将使我们能够通过整合和获取相关信息,全面补充和调整我们的专业知识,提高我们的专业水平,并使我们的专业知识适应不断变化的世界,保证我们工作的质量和精力。
1.2门式钢架的国内发展现状
门式钢架在我国早些年间因为技术以及材料等方面的影响,起步发展时期较晚,该方面技术大多都是通过国外引入国内,在此基础上开始研究,并且起步时期由于从经济性以及材料的节约方面考虑,对于钢架结构的运用进行了一定程度的限制,所以我国在钢架结构设计方面始终发展趋势平缓,直到近些年,我国的钢材生产量大大提高,政策方面也放宽了,钢架结构设计才得到了迅猛发展,并且钢架结构也得到了较为广泛的运用。另外在生产方面,钢架结构的生产流水线上,现如今设计一般是运用程序进行设计,一开始设计钢架结构的软件是采用国外制作的,随着我国技术的发展,设计软件大多由国内自行设计。
1.3门式钢架的研究方法
对门式钢架结构进行设计,主要包括横梁和柱和一些支撑系统,以及主要连接节点的设计;使用CAD或Sliodworks进行三维建模,运用Ansys软件对三维模型进行受力分析,包括静力分析,模态分析和瞬间动力学分析等。
第2章 钢架结构平面布置及载荷计算
2.1钢架结构
此次设计钢架结构为单垮双坡形式。钢架的跨度为20m,纵向长度为90m,屋面坡度为1:10;门式钢架结构大多存在刚性问题,由于其构件强度一般比较低,其所能承受弯矩的能力不高,出于安全性考虑要在此方面保证结构满足设计所需要求;另外在设计时还要出于经济性考虑,以节省钢材的用量,对于钢架结构,钢材大多用于结构跨度的搭建,支撑构件的钢材用量远不及此方面,所以柱间距越大钢材用量越少,造价越低,但也要满足结构强度,综合各方面情况考虑并且确定柱间距为7.5m。钢架布局如下图

图2.1 钢架平面布局网络

图2.2钢架侧面布局网络
2.2载荷确定及取值
2.2.1 永久载荷
钢架的永久载荷是指钢架自身所有构件的重力以及外部永久性对其施加的力,两者综合作用下产生的载荷。如檩条自重,地面对钢架的支撑等。
2.2.2 可变载荷
可变载荷主要是外部对钢架作用的在变化的载荷,如灰尘积累,下雪时堆积的影响,风力的作用,自身结构强度变化的影响等。
雪载荷指屋面可能出现雪压的最大值,雪载荷标准值
可以按一下公式计算:
其中:
为积雪分布系数;
为屋面基本雪压,按载荷规范给出的50年一遇雪压采用。
风力产生的载荷指钢架结构受到垂直于其表面的所有压力综合考虑所产生的载荷,在有吸力和压力时要注意同时考虑。位于建筑表面的风载荷可按照以下公式计算:
其中:
为基本风压,但须按照现行国家标准《载荷规范》的规定值乘以系数1.05采用;
为体型系数,《规程》中给出了不同构件计算风载荷标准值时的体型系数
2.2.3 载荷组合
对于门式钢架的载荷的组合需要永久载荷以及可变载荷同时考虑,主要是可变载荷的取舍,以保证载荷作用比较完善,此次设计需要考虑的载荷效应有:
(1)永久载荷 (积灰载荷 max{屋面均布活载荷,雪载荷}) (风载荷 吊车竖向及水平载荷)
其中有利作用的载荷不加,但是所有载荷都有可能存在。
(2)永久载荷 风载荷
此组合用于锚栓抗拉计算校核。
依据不同载荷效应组合下的进行钢架的内力分析,由此找出钢架构件控制截面的内力组合,控制截面主要是一些重要的构件截面位置以及连接节点位置,如斜梁的截面,这些截面的内力有一下情况
(1)截面中构件收到的最大压力
以及同时作用的弯矩M和剪力V的最大值;
(2)截面中构件所受的最大弯矩
以及同时作用的压力N和剪力V的最大值;
在构件中这两者皆有存在的可能性,有时也会同时存在,需要综合考虑,另外还要注意区分弯矩的正负值。
在考虑各种载荷组合之后,查阅载荷组合及取值资料,取最不利的内力组合轴力:N=-134.44kN,弯矩:M=184.64kN
,剪力:V=37.6kN,以此内力进行钢架柱截面设计校核;取最不利组合大头截面:轴力:N=-30.04kN,弯矩:M=78.76N
;轴力:V=4.13kN,小头截面:轴力:N=-31.344kN,弯矩:M=-51.86N
;剪力:V=-33.38kN,以此作为变截面梁设计依据。
对各个关键节点连接内力设计,分别取值如下:
梁与柱连接节点:
,
,
;
梁与梁连接节点:
,
,
;
柱与脚连接节点:
。
2.3 钢架的构件截面形式及尺寸初选
对钢架结构进行建模分析之前,先要初步确定构件的截面形式,截面的各项尺寸参数也需要初步确定。构件截面形式需要满足设计的钢架结构的搭建要求,要保证构件强度,在材料利用经济的同时,使其的安全性满足要求。
钢架的斜梁采用工字型截面,考虑材料的合理利用,选择变截面梁,初选梁截面尺寸为H(550~450)×250×6×10;
钢架柱截面采用工字钢,初选截面尺寸为H600×250×6×10;
檩条皆采用冷弯薄壁型卷边槽钢,初选截面尺寸为C180×70×2.0×2.5;
屋面水平支撑交叉杆初步采用
20圆钢;
柱间支撑与系杆初步采用
110×4钢管;
墙面架柱采用工字型截面,初选截面尺寸为H600×250×6×10.
第3章 门式钢架的构件截面校核
3.1 钢架构件截面校核
3.1.1 钢架柱截面校核
(1)截面的几何特性
钢架柱的截面采用工字形钢,其参数是H600×250×6×10。
钢架的柱截面没有开孔,所以钢架柱截面面积为8480
。
截面的惯性转矩为
,
。
截面的抵抗转矩
,
。
截面回转半径
,
。
弹性模量
。
以上是毕业论文大纲或资料介绍,该课题完整毕业论文、开题报告、任务书、程序设计、图纸设计等资料请添加微信获取,微信号:bysjorg。
相关图片展示:









