变曲线螺旋槽加工设备设计毕业论文
2020-02-14 17:21:49
摘 要
近些年来,汽车和摩托车在国内广泛普及开来。离心式摩擦离合器是目前小型汽车和摩托车结构中一个关键部件。为了减少人们的购买成本,就需要实现摩托车离合器的国产化,实现核心技术的突破,所以开展了离心式摩擦离合器生产工艺和装备设计。其中离合器皮带轮轴上的曲线槽加工是离合器生产中的关键之一,离心式摩擦离合器动皮带轮上的曲线槽的加工精度会影响摩托车的变速以及制动性能,动皮带轮轴上的曲线槽加工精度是决定生产效率、降低成本的重要环节。因此需要设计一套设备来解决曲线槽加工的难题。
由于该离合器主要适用于实际生产应用中,因此其需要具有高效,可靠使用特性。设计主要内容如下:
1.曲线槽加工设备总体方案设计;
2.曲线槽加工设备结构设计;
结构设计的主要内容是建立在总体设计的基础上,首先要拟定原理方案,然后确定并在图纸上绘出螺旋槽加工设备的结构图,以体现出加工设备的功能。
- 曲线槽加工设备零件设计
根据加工设备结构图,选择材料性能、尺寸合适的零件,确定装配顺序,为此,需要正确选用不同用途、不同强度、硬度与使用范围等特性的零件。根据加工设备的工作要求,计算作用在零件上的载荷、力矩等。根据零件可能的失效形式确定计算准则,根据计算准则进行计算,确定出零件的基本尺寸,最后需要对设计的零件进行校核,只有满足校核条件的零件设计才是合格的。
关键词:离合器;曲线槽;加工设备;装备设计;结构设计;零件设计
Abstract
In recent years, cars and motorcycles have been widely used in China. Centrifugal friction clutches are a key component in the current compact car and motorcycle construction. In order to reduce costs, it is necessary to realize the localization of key components, so the centrifugal friction clutch production process and equipment design are carried out. Among them, the curve groove machining on the clutch pulley shaft is one of the keys in the clutch production. The machining accuracy of the curved groove on the centrifugal friction clutch moving pulley will affect the shifting and braking performance of the motorcycle, and the curved groove machining on the moving pulley shaft accuracy is an important part of determining production efficiency and reducing costs. Therefore, it is necessary to design a set of equipment to solve the problem of curved groove processing.
Since the clutch is mainly suitable for practical production applications, it needs to have efficient and reliable use characteristics. The main contents of the design are as follows:
1. Overall design of the curve groove processing equipment;
2. Structural design of curved groove processing equipment;
The task of structural design is to determine and draw a specific structural diagram based on the determined principle scheme based on the overall design to reflect the function of spiral groove machining.
3. Curve groove processing equipment part design
According to the structural drawing of the processing equipment, the specific parts are embodied on the drawings. For this reason, the different functions, advantages and disadvantages, characteristics and scope of use of the various parts must be correctly selected. Calculating the load acting on the part according to the working requirements of the processing equipment. The calculation criteria are determined according to the possible failure modes of the part, and the calculation is based on the calculation criteria to determine the basic dimensions of the part.
Key Words:Clutch; curve groove; processing equipment; equipment design; structural design; part design
目录
第1章 绪论 1
1.1 目的及意义 1
1.2 离心式摩擦离合器国内外研究现状分析 1
1.2.1 概述 1
1.2.2 国内摩托车离心式摩擦离合器发展现状 1
1.2.3 国外摩托车离心式摩擦离合器发展现状 2
1.3 课题主要研究内容 2
第2章 变曲线螺旋槽加工设备总体设计 3
2.1 加工设备的组成 3
2.2 加工设备设计的规划 3
2.2.1 螺旋槽加工设备设计要求 3
2.2.2 螺旋槽加工设备设计分析 3
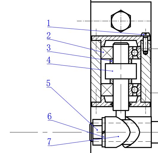
第3章 变曲线螺旋槽加工设备结构设计 5
3.1 结构及工艺分析 5
3.1.1 螺旋槽工件结构 5
3.1.2工件加工工艺 5
3.2 加工机构布局 6
3.2.1 机构工作原理 6
3.2.2加工设备基本结构 6
3.3 加工设备设计 7
3.3.1 仿形机构设计 7
3.3.2 传动部分设计 8
3.3.3 分度部分设计 9
第4章 螺旋槽加工设备零件设计 11
4.1 传动装置传动比的拟定 11
4.2 传动零件-齿轮传动设计计算 11
4.2.1 选定齿轮类型、精度等级、材料及齿数 11
4.2.2 按齿面接触疲劳强度设计 11
4.2.3 校核齿根弯曲疲劳强度 13
4.3 轴的设计计算及强度校核 13
4.3.1 轴的选材及其所用应力确定 13
4.3.2 轴的尺寸设计 14
4.3.3 轴的强度校核 17
4.4 滚动轴承寿命计算 19
4.5 键的选择和强度校核 20
4.5.1 主动轴上的键的选择 20
4.5.2 从动轴上的键的选择 20
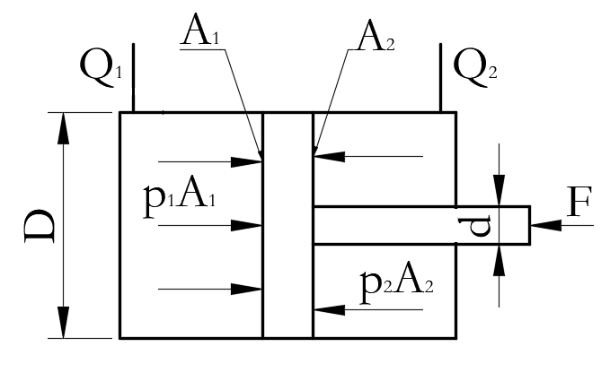
第5章 液压系统设计 22
5.1 概述 22
5.1.1 液压系统设计的组成、类型与内容 22
5.1.2 液压系统设计的要求 23
5.2 液压系统的设计 23
5.2.1 液压系统主要参数确定 23
5.2.2 齿条活塞缸排量计算 24
5.3 小结 25
第6章 设计总结 26
致谢 28
第1章 绪论
1.1 目的及意义
目前,各摩托车厂使用的离心式摩擦离合器都从日本进口,国产化要求非常紧迫.其中动皮带轮轴上的曲线槽的加工,是离合器高效率、低成本生产的关键工序之一。中国人口众多,摩托车行业具有巨大的发展潜力,为了降低离合器生产成本,同时也为了打破摩托车离合器部件核心技术国外垄断,我们需要打破国外市场,提高自己的制造能力,设计一种具有自主知识产权的变曲线螺旋槽加工设备。为了实现我国“制造2025”的工业目标,实现由制造业大国到制造业强国的转变。这将是一个里程碑式的进步。
1.2 离心式摩擦离合器国内外研究现状分析
1.2.1 概述
离心式摩擦合器通过摩擦力来传递扭矩。它的基本结构由三个元件组成:主动件、从动件和离心体部分。离心体通过滑装于主动件上,由动力机构驱动主动件圆周运动,不断加速而将其径向甩出。当主动件的速度足够大时,甩出的离心体压紧从动件内壁 [1]。从动件在摩擦力矩作用下旋转。压紧力越大,则静摩擦力也越大,所能传递转矩也越大。
1.2.2 国内摩托车离心式摩擦离合器发展现状
从20世纪80年代摩托车市场开始在中国普及,到目前为止,中国摩托车离合器也经历了近40年的发展。中国摩托车离合器企业通过自身的不断研发,积累了一定的技术实力;并通过引进国际先进的摩托车离合器技术,国内离合器研发能力也越来越强。由于离合器是摩托车、汽车上传动系统重要的组成部分,而摩托车、汽车等工具越来越多,对离合器性能的要求也愈加严格,推动了离合器的先进技术发展。
自从国外引进离合器制造技术,中国摩托车离合器制造能力虽然提高,但在实用性能和质量方面仍落后于世界领先水平。特别是在纸基摩擦材料的生产技术中,这一领域的技术往往严重依赖于国外。在离合器设计、制造领域,国内的生产商数量比较小。该行业缺乏对离合器的系统研究,这导致了与该行业顶尖企业的不小差距。这可能反映了我国庞大但不强大的制造业。为了实现“中国制造2025”的目标,科技研发能力似乎仍需加强[2]。我们应该更多地考虑细节,以使产品具有更好的性能。例如,离合器摩擦盘制造材料对离合器性能的影响,不同精度和尺寸的零件对离合器使用性能的影响,离合器组件加工制造方法对摩托车性能的影响,以及怎么样优化离合器也是其中影响因素。总之,在离合器的研究制造的过程中,需要重点研究材料性能,同时借鉴先进技术改善加工方法。
1.2.3 国外摩托车离心式摩擦离合器发展现状
在摩托车离合器研究领域,目前纸基摩擦材料的生产技术主要由国外先进的摩托车零部件制造企业掌握,有两个离合器制造公司不得不提,是F.C.C.和EXEDY公司。他们的离合器质量和性能在业内处于领先水平。离合器制造最重要的环节是摩擦材料的制造加工,而摩擦材料的核心技术掌握在外国企业手中,基本上垄断了这一技术。
就以日本F.C.C.公司为例,F.C.C.一直钻研于“离合器”这一功能性部件,拥有离合器的先进生产制造方法。优秀的技术生产力,独一无二的生产设备以及决不懈怠的质量管理。其创造能力使FCC在离合器加工制造行业独树一帜。FCC公司首先从摩擦材料开发,到离合器组装的一体化,完全掌握了离合器制造材料特性。所以他们才能生产制造质量稳定且性能优越的产品,成为了离合器研发制造领域的领头羊。
由于F.C.C.在离合器行业的先进性,在二轮车领域,日本国内主要的许多摩托车厂家以及全球有影响力的厂家大都采用了F.C.C.的离合器。不仅如此,世界上知名跑车生产公司都采用它的离合器,因为它具有卓越的换挡和启动性能。
F.C.C.的离合器一体化生产体制体现在壳体的制作上,同时也确立了各种高精度、性价比更优的生产系统,它是一种独创性生产系统。“一次性卷压”和“省时省力加工”两种工艺方法分别应用于冲压加工工序和冲压后的切削加工工序,这样不但减少了加工时间和能量损耗,而且在提高精度的同时也削减了成本。
最后对比总结一下:虽然我国离合器制造水平相比上个世纪有了很大提高,但与国外先进水平还有不小差距。差距体现在:①材料的选择:由于国外技术垄断,材料选择比较匮乏,对一些材料特性不了解,对摩擦磨损机理研究不够。②加工制造层面:生产效率低,精度较低,高进度的加工机床依赖国外,生产自动化水平不高。③离合器性能不足:变速稳定性差,使用寿命短。
1.3 课题主要研究内容
本文对离心式离合器零件进行工艺分析,离合器上的动皮带轮轴为套筒类零件,其要求是在套筒壁上加工螺旋槽。所以为了完成这一要求,需要设计一种能够加工螺旋槽的设备。主要内容:1、查阅《机械设计手册》、《组合机床设计》、《机械制造装备设计》等书籍,实现可实施方案的拟定。
2、绘制出螺旋槽加工设备结构简图。
以上是毕业论文大纲或资料介绍,该课题完整毕业论文、开题报告、任务书、程序设计、图纸设计等资料请添加微信获取,微信号:bysjorg。
相关图片展示:















