控制柜小环境热设计(主动式)毕业论文
2020-05-28 07:01:30
摘 要
随着控制柜内电气元件功耗的增加和小型化,同时控制柜所处的工作环境不尽相同,如何改善散热问题变得越来越重要,理想的热设计能够保证电气元件长期工作的稳定性和可靠性,本文介绍的是一个密闭的电气控制柜的结构设计和内部散热系统设计。
首先在结构设计这方面,控制柜采用的是铝型材结构,这种控制柜的结构简单,易于改变其形状和处理内部结构,而且还有非常好的的强度和刚度,除此之外,控制柜外形容易实现美观要求,加工过程简单,加工速度快, 具有结构新颖、美观、装配方便等特点,可以充分利用铝合金板,使用螺栓、螺钉直接组装成板型结构控制柜。最重要的一点是铝本身就是一种导热效果很好的金属材料。
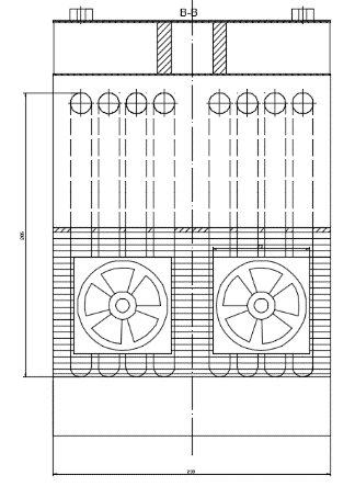
在散热设计这方面,散热器元件采用的是一种新型散热元件即热管,它具有极高的传热功率,它利用蒸发端壳体内液态工质的汽化吸收热量传递到冷凝端液化来散发热量,从而达到在一个密闭的环境里散热的目的。电子元件在密闭的环境下以热传导和辐射散热为主,布排在控制柜两侧的热管具有很高的热传导率。电气元件产生的热量通过控制柜两侧的轴流风机快速传导到热管,翅片采用的是铝材料,目的就是为增大热传导面积和热传导率,然后热量通过大面积的翅片传到热管的蒸发端上,热管迅速把热量传导到外部空间冷凝端,冷凝端的翅片通过辐射以及风扇加快空气流通把热量散发出去。
在整个设计过程中需要用到CAD对控制柜的结构建模,然后画出装配图,按照图纸装配好了之后进行实验。实验表明这套热管散热系统在密闭的环境中能起到很好的散热效果,将控制柜内的温度至少降低了10摄氏度,且确保控制柜内温度在60摄氏以下,从而保证控制柜内部电气元件长期正常工作。
关键词:控制柜 热管 散热器 电子元件
The thermal design of control cabinet microenvirnoment
ABSTRACT
With control cabinet electrical components increase in power consumption and miniaturization, while controlling the cabinet in which the working environment is different, how to improve the heat dissipation problems become more and more important, the ideal thermal design to ensure stable long-term work of electrical components and reliability, this paper is to design a closed electrical control cabinet and internal cooling system design.
First, the structural design that regard, the control cabinet is aluminum structure, this simple control cabinet structure, easy to change its shape and internal structure of the process, but also a very good strength and stiffness, in addition, control cabinet shape easy to implement aesthetic requirements, the process is simple, fast processing speed, a new structure, beautiful, easy assembly, etc., can take advantage of an aluminum plate, rivets, screws directly into the boards assembled structure control cabinet. The most important point is that the aluminum itself is a good thermal effects of a metallic material.
In this regard thermal design, the radiator element is used in a new type of heat pipe cooling components namely, it has a very high heat transfer power, which uses the end of the housing within the evaporator liquid refrigerant absorbs heat of vaporization is passed to the condensing end liquefied to dissipate the heat , so as to achieve a closed environment in the purpose of cooling. Electronic components in a confined environment for heat radiation and heat conduction mainly cloth row in the control cabinet on both sides of the heat pipe with high thermal conductivity. Heat generated by electrical components by conduction spread on both sides of the control cabinet large area substrate, the substrate material used is copper, the purpose is to increase the heat transfer area and thermal conductivity, and heat through a large area of the copper substrate reached the evaporator end of the heat pipe, heat pipe rapidly conduct heat to the outside space condensing end, the condensing end of the fins to dissipate the heat by radiation.
Throughout the design process need to use CAD modeling structure of the control cabinet, and then draw assembly drawings, assembly drawings in accordance with the experiment after better. Experiments show that this heat pipe cooling system in a closed environment can play a very good heat dissipation, electrical components inside the control cabinet to ensure long-term work.
Key words: Control cabinet ,Heat pipe ,Radiator ,Electronic components
目录
摘 要 I
ABSTRACT II
第一章 引言 1
1.1国内外控制柜小环境热设计研究状况 1
1.1.1本课题研究背景 1
1.1.2当前控制柜散热的方式及特点 1
1.1.3控制柜基本结构 6
1.1.4 控制柜热设计发展方向 7
1.1.5电气控制柜装配工艺 7
1.2控制柜散热设计的步骤 8
第二章 控制柜结构设计 10
2.1控制柜的设计准则 10
2.2控制柜的结构选择 11
2.2.1钣金结构控制柜 11
2.2.2铝合金结构控制柜 11
2.2.3铸造结构控制柜 13
2.2.4焊接结构控制柜 14
2.3控制柜的造型设计 15
2.4控制柜的尺寸设定 16
第三章 控制柜热管散热系统设计 17
3.1热管技术 17
3.2 热管的工作原理 17
3.3热管散热器性能分析 20
3.4热管散热能力计算 23
3.4.1控制柜散热设计的总体要求 23
3.4.2热管数量的初步计算 24
第四章 控制柜热管散热系统性能测试 25
4.1测试实验方法及实验步骤 25
4.2测试数据及分析 25
结语 27
参考文献 28
致谢 30
第一章 引言
1.1国内外控制柜小环境热设计研究状况
1.1.1本课题研究背景
在社会的高速地发展过程中,各类生产机械都需要电气控制来完成其生产任务,而如今工厂里用到的电气控制设备一般是由各种不同的接触器、变压器、继电器等低压电器与变频器、单片机、显示屏等高度智能化控制设备结合在一起,从而组装成电控柜,在此基础上也结合控制系统的控制、测量、保护、信号、调试等功能,安装在不同环境的生产现场或控制室内[1]。当控制柜内的温度过高必然会对内部的电器设备稳定性和寿命产生严重的干扰;如果控制柜内最高温度超过电子设备工作极限温度以及各种PCB板之间的极限熔点、冷凝物的形成和能导电的粉尘,这些干扰条件都可能导致电气控制柜内的电子元件不能正常工作甚至损坏[2],因此研究高导热功率的散热器就成了当务之急,以便排除高温、振动、潮湿、灰尘对电器元件影响,使其能稳定正常地工作,延长电器元件的使用寿命[3]。
在如今这个科技高速发展的时代,一些传统的散热方式如:简单的风机散热,已经不能满足控制柜的要求[4]。在控制柜内部空间密闭,工作环境恶劣,需抗振、耐高温、防腐蚀等许多情形下,就要求技术更先进,效率更高的散热方式,如电气柜专用空调散热、热管散热[5]。这两种散热方式散热效率都很高,同时既解决了电控柜内部对温度的要求,又隔离了外部环境中的灰尘 和腐蚀性气体等干扰因素,使控制柜内的电气元件得到更好的保护,保证了控制柜工作的稳定性和可靠性[6]。
1.1.2当前控制柜散热的方式及特点
目前国内外生产的电控柜的冷却装置主要有风扇冷却、空调冷却、热管散热三种,而这里将采用热管散热方式。下面我将分别介绍这三种散热方式的特点。
a.风扇冷却
相关图片展示:









