反应堆冷凝器设计毕业论文
2020-05-28 06:58:59
摘 要
换热器是许多工业部门的通用设备,在生产中占有重要地位,它能够将热流体的部分热量传递给冷流体,使物料能达到指定的温度以满足工艺的要求。
本设计为反应堆冷凝器结构设计,在设计过程中,根据GB150-2011《压力容器》和GB/T151-2014《热交换器》及换热器设计手册等标准进行设计和计算。并完成了换热器主要受压元件设计计算书。通过绘制换热器结构装配图、结构部件图及零件图并使用SW6-2011软件校核其主要受压元件强度,结果表明该换热器各部分元件均符合换热器相关国标中的各项要求,设计合理。
关键词 : 换热器; 强度校核; 管板
Reactor condenser design
Abstract
The energy of heat fluid can be partly transfered to cold fluid by heat exchanger,which make the supplies reach the specified temperature in order to meet the process requirements. This design for the reactor condenser structure design. According to GB150-2011 "pressure vessel" and GB/T151-2014 standards such as the heat exchanger and heat exchanger design manual to carry on the design and calculation in the design process.Structure of the assembly drawing and Structure detail drawing are designed and the stress assessment are carried out by sw6-2011 software.The results show that the design of heat exchanger is reasonable ,which meets the corresponding codes .
Keywords:heatexchanger;strengthcheck;tubesheet
目录
摘 要 I
Abstract II
第一章 绪论 1
1.1 换热器的作用 1
1.2本次设计任务 2
第二章 高效换热器传热技术进展 3
2.1管壳式换热器强化传热技术进展 3
2.1.1管程强化传热 3
2.1.1.1 螺旋槽纹管换热器 3
2.1.1.2 波纹管换热器 3
2.1.2 内插件 4
2.2壳程强化传热 4
2.2.1 折流板支撑结构 4
2.2.2折流杆支撑结构 5
2.2.3 空心环支撑结构 5
2.2.4 管子自支撑结构 5
2.3介质对流换热的强化技术 6
2.3.1 振动法 6
2.3.1.1换热面的振动 6
2.3.1.2流体的振动 6
2.3.2传热介质的探索利用 6
2.3.2.1 纳米流体 6
2.3.2.2 有机热载体 6
2.4小结 7
第三章 反应堆冷凝器结构设计计算 8
3.1 壳层圆筒计算 8
3.1.1 厚度计算: 9
3.1.2 液压试验: 9
3.1.3 压力及应力计算 10
3.2 前端管箱筒体计算 10
3.2.1 厚度计算 11
3.2.2 液压试验: 11
3.2.3 压力及应力计算 11
3.3 后端管箱筒体计算 12
3.3.1 厚度计算 12
3.3.2 液压试验: 13
3.3.3 压力及应力计算 13
3.4 前端管箱封头计算 13
3.4.1 液压试验 14
3.4.2 厚度计算 14
3.4.3 压力计算 15
3.5 后端管箱封头计算 15
3.5.1 液压试验 16
3.5.2 厚度计算 16
3.5.3 压力计算 17
3.6 整体法兰计算 17
3.6.1螺栓受力计算: 18
3.6.2: 力矩计算 18
3.6.3 螺栓间距校核 19
3.6.4 法兰应力校核 19
3.7管板计算 20
3.7.1换热管计算 21
3.7.2 管板和系数 21
3.7.3 换热管内压计算 23
3,7.4 换热管外压计算 25
3.8 开孔补强计算 26
结束语 37
致谢 37
参考文献 38
第一章 绪论
1.1 换热器的作用
换热器是将热流体的部分热量传递给冷流体的设备,又称热交换器。 换热器的应用广泛,日常生活中取暖用的暖气散热片、汽轮机装置中的凝汽器和航天火箭上的油冷却器等,都是换热器。它还广泛应用于化工、石油、动力和原子能等工业部门。它的主要功能是保证工艺过程对介质所要求的特定温度,同时也是提高能源利用率的主要设备之一。
换热器既可是一种单独的设备,如加热器、冷却器和凝汽器等;也可是某一工艺设备的组成部分,如氨合成塔内的热交换器。 由于制造工艺和科学水平的限制,早期的换热器只能采用简单的结构,而且传热面积小、体积大和笨重,如蛇管式换热器等。随着制造工艺的发展,逐步形成一种管壳式换热器,它不仅单位体积具有较大的传热面积,而且传热效果也较好,长期以来在工业生产中成为一种典型的换热器。
二十世纪20年代出现板式换热器,并应用于食品工业。以板代管制成的换热器,结构紧凑,传热效果好,因此陆续发展为多种形式。30年代初,瑞典首次制成螺旋板换热器。接着英国用钎焊法制造出一种由铜及其合金材料制成的板翅式换热器,用于飞机发动机的散热。30年代末,瑞典又制造出第一台板壳式换热器,用于纸浆工厂。在此期间,为了解决强腐蚀性介质的换热问题,人们对新型材料制成的换热器开始注意。 60年代左右,由于空间技术和尖端科学的迅速发展,迫切需要各种高效能紧凑型的换热器,再加上冲压、钎焊和密封等技术的发展,换热器制造工艺得到进一步完善,从而推动了紧凑型板面式换热器的蓬勃发展和广泛应用。此外,自60年代开始,为了适应高温和高压条件下的换热和节能的需要,典型的管壳式换热器也得到了进一步的发展。70年代中期,为了强化传热,在研究和发展热管的基础上又创制出热管式换热器。
1.2本次设计任务
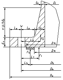
本课题要求在查阅大量文献资料基础上,掌握GB150-2011及GB/T151-2014,对反应堆冷凝器设计结构进行设计,完成反应堆冷凝器设计装配图及主要零部件图。
反应堆冷凝器结构设计参数如下:
相关图片展示:









