MQ4040四连杆门座式起重机变幅机构CADCAE毕业论文
2020-04-12 16:27:34
摘 要
近年来,随着经济全球化、信息全球化的不断加快,我国进出口贸易量进一步增加,国际国内物流也蓬勃发展。海上贸易作为进出口的主要途径之一,它的蓬勃发展促进了港口的发展与繁荣,而港口的发展又依赖于各种装卸设备。门座式起重机作为港口装卸设备的主力军,地位尤其重要。变幅机构作为门座式起重机作业时的主要工作机构之一,它的稳定运行对门机正常作业具有非常关键的作用。因此,对门座式起重机变幅机构进行详细研究是非常重要的。
本文将以MQ4040门座式起重机为例子,详细介绍门座式起重机的整体设计计算,并对其变幅机构进行零部件选型、计算与校核,最后应用SolidWorks、Adams软件对其进行建模与仿真。
关键词:门座式起重机;整体设计;变幅机构
Abstract
In recent years, our import and export trade volume has further increased and international and domestic logistics have also flourished with the continuous acceleration of economic globalization and information globalization. Maritime trade is one of the main ways of import and export. Its vigorous development has promoted the development and prosperity of the port.
And the development of the port depends on various loading and unloading equipment. Portal cranes are particularly important as the main force of port handling equipment. The luffing mechanism is one of the main working mechanisms and its stable operation plays a very key role in the normal operation of the portal machine. Therefore, it is very important to study the luffing mechanism of the portal crane in detail.
This article will use the MQ4040 portal crane as an example. The overall design and calculation of the portal crane are introduced in detail, and the luffing mechanism is selected, calculated and checked. Finally, it is modeled and simulated using SolidWorks and Adams software.
Key Words : portal crane; overall design; luffing mechanism
目 录
摘 要 I
Abstract II
第1章 绪论 1
1.1 目的及意义: 1
1.2 国内外研究现状分析 1
第2章 总体设计 3
2.1 门机主要结构 3
2.1 主要设计参数 4
2.2 货物水平位移补偿系统设计 5
2.2.1 刚性拉杆组合臂架补偿方案 5
2.2.2 货物水平位移补偿系统校验 6
2.3 臂架自重平衡系统设计 7
2.3.1 杠杆—活对重平衡 7
2.3.2 臂架自重平衡系统校验 7
2.4 自重力矩计算 9
2.4.1 门机各部分质量 9
2.4.2 自重力矩计算 10
2.5 风力矩计算 13
2.5.1 风载荷 13
2.5.2 风力矩 13
2.6 支承反力和轮压计算 16
2.7 起重机抗倾覆稳定性 18
2.7.1 四种工况下的抗倾覆稳定性计算 18
2.7.2 抗倾覆稳定性计算结果 20
2.8 车挡冲击力 20
2.9 防阵风制动能力计算 20
2.10 非工作状态防风锚定力计算 21
第3章 变幅机构设计、校核 22
3.1 确定变幅机构型式 22
3.2 变幅阻力计算 22
3.3 载荷组合 25
3.4 电动机的选择 26
3.5 电动机的校验 27
3.6 选择减速器 28
3.7 选择制动器 29
第4章 三维建模与仿真 30
4.1 三维建模 30
4.1.1 创建零件 30
4.1.2 建立装配体 31
4.2 Adams仿真 33
第5章 环境影响及经济性分析 35
5.1 环境影响分析 35
5.2 经济性分析 35
第6章 总结与展望 36
6.1 全文总结 36
6.2 展望 36
参考文献 37
致 谢 38
第1章 绪论
1.1 目的及意义:
本次毕业设计的目的在于让学生在老师的指导下,在对门座式起重机及其变幅机构进行详细的设计过程中,对所学知识进一步的理解与深化,对港口起重机领域进一步的了解,对设计工作进一步的掌握。
本次毕业设计通过查阅国内外起重机领域相关资料文献,让学生了解国内外港口装卸领域尤其是门座起重机部分目前的发展状况和未来的发展趋势,学习国内外关于门座起重机各部分的先进设计思想和方法,掌握查阅国内外各种文献的方法。
本次毕业设计通过对MQ4040门座式起重机总体设计、货物水平位移补偿系统设计、臂架自重平衡系统设计、自重载荷及风载荷计算、轮压及稳定性计算校验、变幅机构阻力计算以及各部件选型,可以增加学生对课本知识的了解,培养学生综合运用本科阶段所学的工程制图、力学、材料学、机械设计学等专业课程知识的能力。通过利用SolidWorks和Adams软件进行三维建模与仿真,培养学生熟练使用CAD、SolidWorks、ADAMS等设计和仿真软件的能力。整个毕业设计的完成过程,使学生在各个方面都有所提高。
1.2 国内外研究现状分析
门座起重机是指将臂架安装在门座上,下方可通过公路车辆或者铁路的移动式回转起重机。门座式起重机是随着港口事业的发展而发展起来的 [1-6] 。
我国起重机设备的发展经历了一个漫长而曲折的过程,近年来,在以振华为首的一些公司和优秀人士的努力下,我国的起重机设计逐渐走入世界前列[7] 。近年来,新的设计理念层出不穷,经过查阅文献,获知了如下新型设计优化方案和新兴技术在起重机设计等方面的应用。
天津金岸重工有限公司吴汉春,以60t-35m定柱式起重机为研究对象,调查各个港口起重机,收集意见,研发了超负荷限制系统等,使用各种软件根据参数进行设计来满足要求[8]。福建省特种设备检验研究院郑仲浪,以起重机为研究对象,使用Ansys有限元分析软件进行模态分析。通过建立模态分析理论,有限元模型,进行各种工况下的计算,最后得出所需结论[9] 。
天津港第五港埠有限公司曹娜,以起重机的臂架和自重平衡系统为对象,进行了优化设计。通过建立简化模型,模拟象鼻梁端点的轨迹计算,确定臂架系统的失稳原因,确定变量和目标函数,赋予约束条件,阻力因子测定实验等,最终完成设计优化[10]。金华市高级技工学校方肃,使用CAD和工程制图等的知识,设计了幅度为20m四连杆门座式起重机的臂架系统结构[11]。江苏省特种设备安全监督检验研究院张华民,李士林,张志斌等人,以门座式起重机整体结构为研究对象,进行了有限元计算方法的研究。研究过程中,主要选择杆单元建模,将固定部分和回转部分区分开建立模型,进行了静力分析,记录了应力和位移分布,得到最大应力数值和部位[12] 。
中远船务工程集团有限公司李刚,以起重机变幅机构制动系统为对象,提出了相应的改造方案。变幅机构载荷是位能型载荷,低速轴安装常闭式盘式制动器,电气系统使用PLC控制和联锁自动控制[13]。烟台港集团有限公司王丽华,以MQ1630门座式起重机变幅系统为研究对象,提出了变幅系统改造方案。他发现整机稳定性存在缺陷,采用对称等重结构,纳铁福联轴器,涡流二级延时制动,减速箱全封闭焊接,摇架座前后斜面等设计进行了改造[14]。青岛港务集团赵增杰,对变幅机构变频驱动进行了改造。他使用了主变内桥接线一次接线方式,选用安川CZMR-G7型变频器,采用闭环矢量控制[15] 。
南京港机重工制造有限公司饶来庆,研究了在起重机上,使用PLC远程监控系统的可能性。他基于互联网技术的发展,提出此方案,建立了接收远程信号接口,远程诊断系统,网络终端系统,无线扩展模块,B/S浏览器和服务器结构等[16]。日照港股份有限公司王佳佳、杨玉刚等人,研究了势能回收再利用节能技术。他们通过调查发现,传统制动方法会造成很大的能源浪费,通过超级电容和电动机励磁动态控制器来进行节能技术改造,最终使主电动机的能耗明显减少,在节省能源的同时也提高了能源的转化效率且价格相对低廉[17]。
Arenaa等人,对承受风荷载的集装箱起重机进行了三维建模以及全面的实验测试,系统识别和模型验证[18]。FrancescoFrendo,通过一系列计算与模型分析,对因为风力载荷而引起的龙门起重机脱轨和倒塌问题进行了研究[19]。IlirDoçi等人,通过对动臂态分析与控制的建模与仿真,寻找最佳运动控制功能并获得关于动臂式起重机行为的结论[20]。
综上可得,国内外门座式起重机研究现状大致有以下几个方面:
1)发展方向为:专用化、大型化和高速化;
2)使用各种新技术来提高数字化、自动化和智能化程度;
以上是毕业论文大纲或资料介绍,该课题完整毕业论文、开题报告、任务书、程序设计、图纸设计等资料请添加微信获取,微信号:bysjorg。
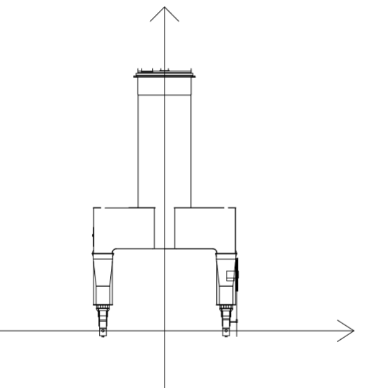
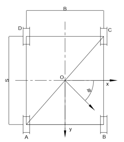
相关图片展示:









